LEMON Manuals: Even more car manuals for everyone: 1960-2025
Home >> Chevrolet >> 2001 >> Cavalier LS, 2.2 4 >> Repair and Diagnosis >> External Pages >> Different car >> Section 344 (Body Control System) >> Schematic and Routing Diagrams >> Body Control System Schematics (Power, Ground, Serial Data)
April 5, 2026: LEMON Manuals is launched! Read the announcement.

Body Control System Schematics (Power, Ground, Serial Data)

WARNING: This page is about a different car, the 2003 Pontiac Sunfire and 2003 Chevrolet Cavalier. However, it is still accessible from the selected car via links, so may be relevant.
Fig 1: Body Control System Schematics (Power, Ground, Serial Data)
G01559162Courtesy of GENERAL MOTORS CORP.
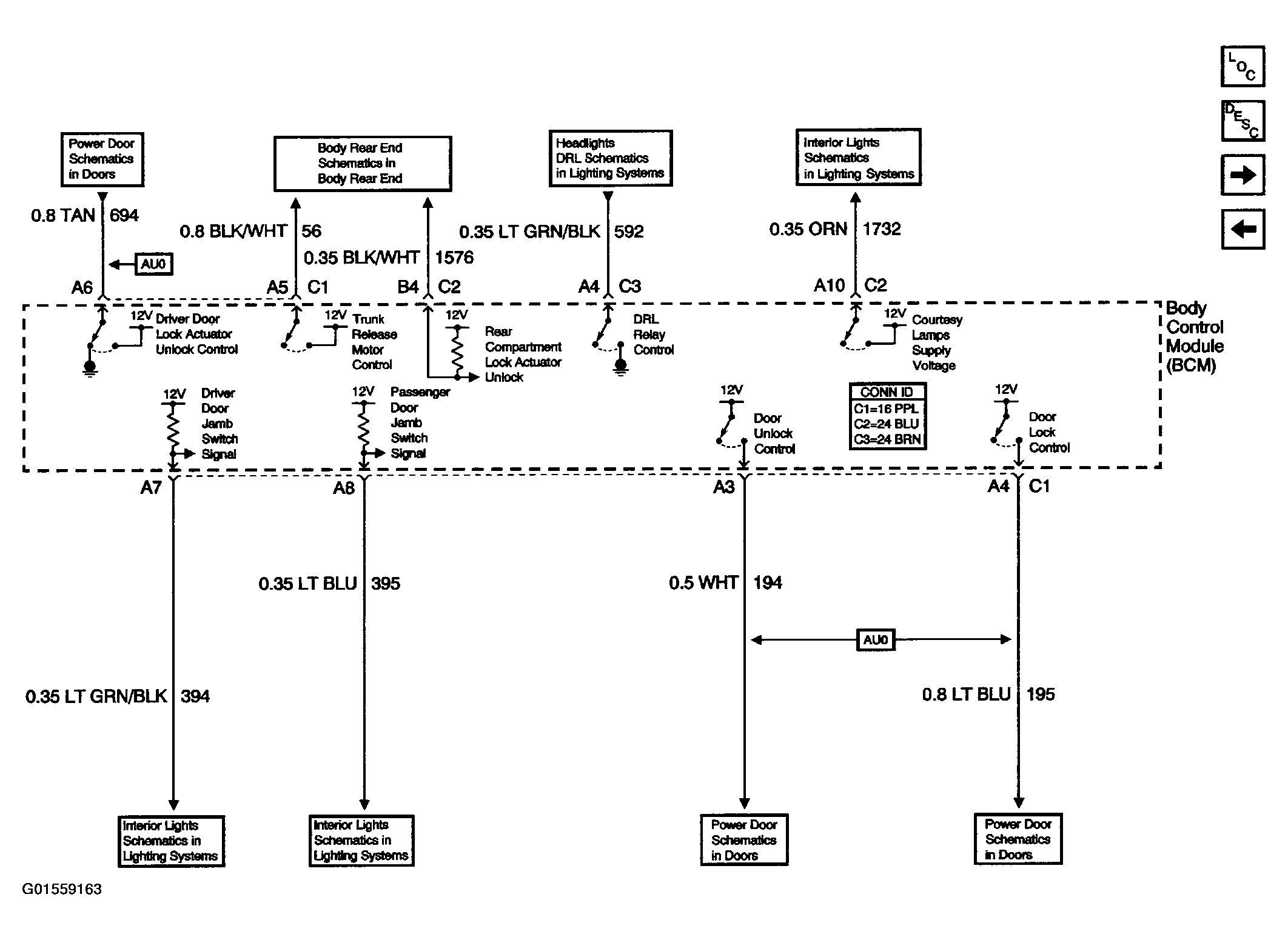
Fig 2: Body Control System Schematics (Controlled/Monitored Subsystem References (Page 1 of 3))
G01559163Courtesy of GENERAL MOTORS CORP.
Fig 3: Body Control System Schematics (Controlled/Monitored Subsystem References (Page 2 of 3))
G01559164Courtesy of GENERAL MOTORS CORP.
Fig 4: Body Control System Schematics (Controlled/Monitored Subsystem References (Page 3 of 3))
G01559165Courtesy of GENERAL MOTORS CORP.