LEMON Manuals: Even more car manuals for everyone: 1960-2025
Home >> Chevrolet >> 2002 >> Impala LS >> Repair and Diagnosis >> Body & Frame >> Windows >> Stationary Window System >> Repair Instructions >> Grid Line Repair >> Installation Procedure
April 5, 2026: LEMON Manuals is launched! Read the announcement.

Installation Procedure

Important: 

  1. Use a grease pencil in order to mark the grid line break (2) on the outside of the rear window with a grease pencil.
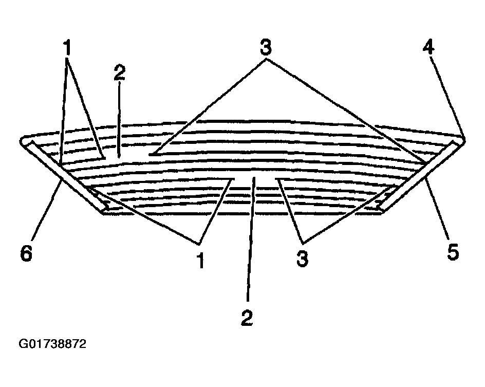
  2. Fig 1: Marking Grid Lines
    G01738872Courtesy of GENERAL MOTORS CORP.
  3. Using GM P/N 12346001 (Canadian P/N 10951643) or equivalent to repair the grid lines. Apply the grid line repair (2) decal or 2 strips of the tape above and below the repair area.
  4. Use the brush (3) in order to spread the grid line repair material (1). Ensure that the repair material covers all of the areas of the cut out.
    NOTE: The grid line repair material must be cured with heat. To avoid heat damage to the interior trim, protect the trim near the repair area where heat is to be applied.
  5. Fig 2: Applying Grid Line Repair Material
    G01738873Courtesy of GENERAL MOTORS CORP.
  6. Without disturbing the grid line repair material, carefully remove the decal or tape (2).

    Important:  Use J 25070  capable of 260°C (500°F) or equivalent. If you do not use a heat gun, allow at least 24 hours at an ambient temperature of 21-32°C (70-90°F) for complete curing of the repair materials. Do not  physically disturb the repair area until after that time. The grid line will be electrically operative immediately after the repair.

  7. Use a heat gun in order to repair the grid line:
    • Hold the heat gun nozzle 25 mm (1 in) from the surface.
    • Heat the repair area for 2-3 minutes.
  8. Fig 3: Heating Repair Area
    G01738874Courtesy of GENERAL MOTORS CORP.
  9. Connect the electrical connector.
  10. Test the grid line operation in order to verify the grid line repair.