LEMON Manuals: Even more car manuals for everyone: 1960-2025
Home >> Chevrolet >> 2002 >> Venture Plus >> Repair and Diagnosis >> Electrical >> Charging Systems >> Battery, Charging System And Starting System >> Repair Instructions >> Battery Replacement >> Installation Procedure
April 5, 2026: LEMON Manuals is launched! Read the announcement.

Installation Procedure

  1. Install the battery insulator to the battery.
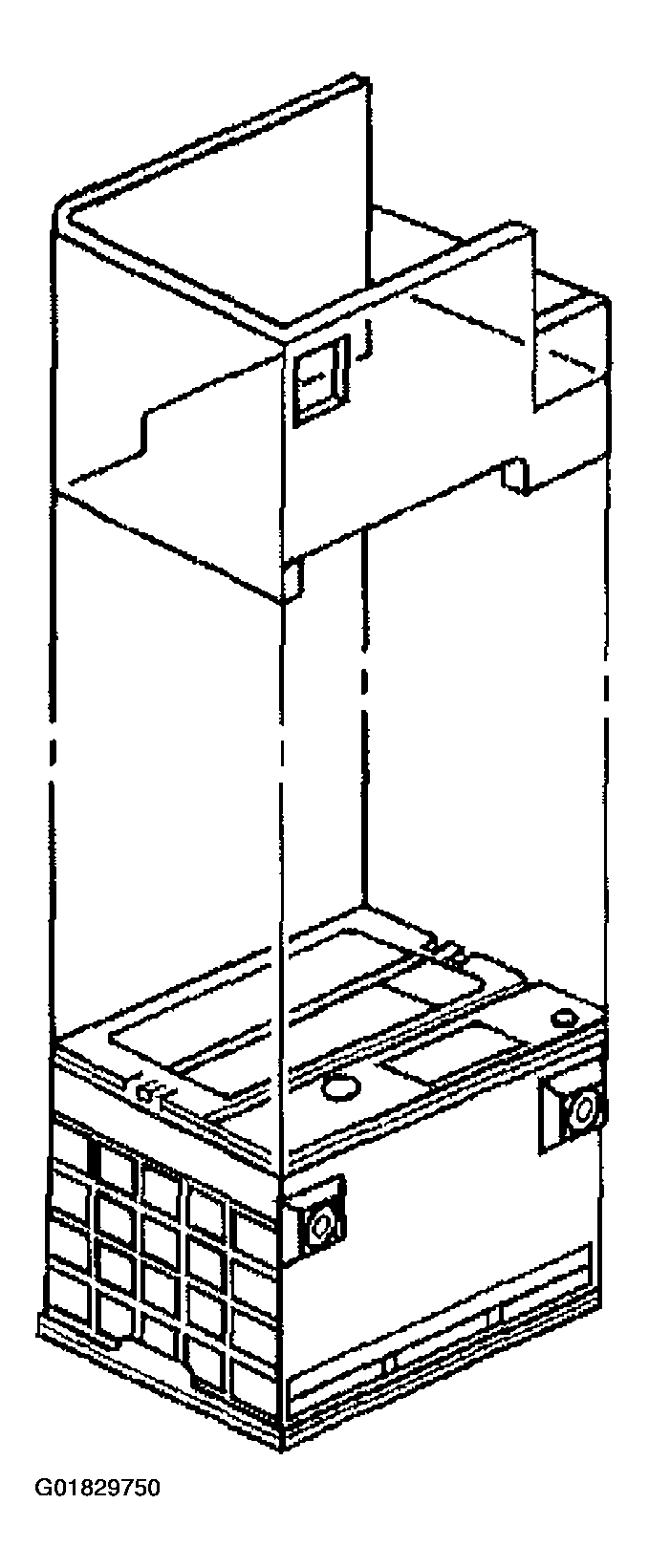
    Fig 1: Installing Underhood Electrical Center
    G01829750Courtesy of GENERAL MOTORS CORP.

    Important:  Do not tip the battery more than 40 degrees during installation.

  2. Install the battery. Make sure the battery is positioned under the battery tray retainer edge.
  3. Install the battery hold down retainer.
  4. Install the battery positive cable to the battery.
  5. Install the battery ground (negative) cable to the battery. Refer to Battery Negative Cable Disconnect/Connect Procedure .
  6. Install the front end sheet metal diagonal brace. Refer to BRACE REPLACEMENT - FRONT FENDER UPPER DIAGONAL - LEFT and BRACE REPLACEMENT - FRONT FENDER UPPER DIAGONAL - RIGHT .
  7. Install the underhood electrical center.
    Fig 2: Installing Battery Hold Down Retainer & Underhood Electrical Center
    G01829751Courtesy of GENERAL MOTORS CORP.