LEMON Manuals: Even more car manuals for everyone: 1960-2025
Home >> Chevrolet >> 2003 >> Cavalier L4-2.2L VIN F >> Repair and Diagnosis >> Diagrams >> Electrical Diagrams >> Transmission Control Systems >> Shift Lock Control
April 5, 2026: LEMON Manuals is launched! Read the announcement.

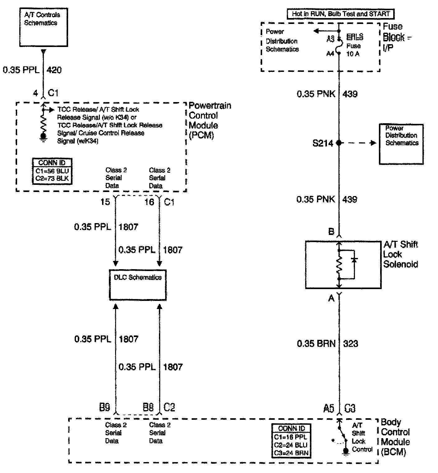
Shift Lock Control

Automatic Transmission Shift Lock Control Schematics: