LEMON Manuals: Even more car manuals for everyone: 1960-2025
Home >> Chevrolet >> 2003 >> SSR Base >> Repair and Diagnosis >> Body & Frame >> Seats >> Seat System >> Component Locator >> Power Seat Systems Connector End Views
April 5, 2026: LEMON Manuals is launched! Read the announcement.

Power Seat Systems Connector End Views

Heated Seat Element Terminal Identification - Driver Back

GM35441Courtesy of GENERAL MOTORS CORP.
Connector Part Information
  • 12064778
  • 2-Way M Metri-Pack 150 Series (GN)
Pin Wire Color Circuit No. Function
A BU - Heated Seat Cushion Element Control
B YE - Heated Seat Cushion Element Supply Voltage
Heated Seat Element Terminal Identification - Driver Cushion

GM39661Courtesy of GENERAL MOTORS CORP.
Connector Part Information
  • 12047786
  • 4-Way M Metri-Pack 150 Series (BK)
Pin Wire Color Circuit No. Function
A L-GN 2078 Heated Seat Cushion Element Control
B RD/WH 2077 Heated Seat Cushion Element Supply Voltage
C YE 1063 Heated Seat High/Low Signal
D BK 950 Low Reference
Heated Seat Element Terminal Identification - Passenger Back

GM35441Courtesy of GENERAL MOTORS CORP.
Connector Part Information
  • 12064778
  • 2-Way M Metri-Pack 150 Series (GN)
Pin Wire Color Circuit No. Function
A BU - Passenger Heated Seat Element Supply Voltage
B YE - Passenger Heated Seat Cushion Element Control
Heated Seat Element Terminal Identification - Passenger Cushion

GM39661Courtesy of GENERAL MOTORS CORP.
Connector Part Information
  • 12047786
  • 4-Way M Metri-Pack 150 Series (BK)
Pin Wire Color Circuit No. Function
A RD 2479 Passenger Heated Seat Element Supply Voltage
B BU 2480 Passenger Heated Seat Cushion Element Control
C PK 1501 Heated Seat High/Low Signal
D BK 950 Low Reference
Heated Seat Switch Terminal Identification - Driver

GM62434Courtesy of GENERAL MOTORS CORP.
Connector Part Information
  • 12059558
  • 8-Way F Metri-Pack 150 Series (NA)
Pin Wire Color Circuit No. Function
A - - Not Used
B YE 1063 Heated Seat High/Low Signal
C OG 940 5 Volt Reference
D-H - - Not Used
Heated Seat Switch Terminal Identification - Passenger

GM62434Courtesy of GENERAL MOTORS CORP.
Connector Part Information
  • 12059558
  • 8-Way F Metri-Pack 150 Series (BK)
Pin Wire Color Circuit No. Function
A - - Not Used
B PK 1501 Heated Seat High/Low Signal
C BN 940 5 Volt Reference
D BK/WH 238 Seat Belt Switch - Right
E-H - - Not Used
Lumbar Motor Terminal Identification - Driver

GM38274Courtesy of GENERAL MOTORS CORP.
Connector Part Information
  • 12034343
  • 2-Way F Metri-Pack 280 Series (BK)
Pin Wire Color Circuit No. Function
A RD 277 Driver Seat Lumbar Motor Forward Control
B BK 276 Driver Seat Lumbar Motor Rearward Control
Lumbar Motor Terminal Identification - Passenger

GM38274Courtesy of GENERAL MOTORS CORP.
Connector Part Information
  • 12034343
  • 2-Way F Metri-Pack 280 Series (BK)
Pin Wire Color Circuit No. Function
A RD 211 Passenger Seat Lumbar Motor Forward Control
B BK 210 Passenger Seat Lumbar Motor Rearward Control
Memory Seat Module Terminal Identification - Driver C1

GM38596Courtesy of GENERAL MOTORS CORP.
Connector Part Information
  • 12020557
  • 3-Way F Metri-Pack 480 Series (BK)
Pin Wire Color Circuit No. Function
A - - Not Used
B BK 1350 Ground
C OG 3540 Battery Positive Voltage
Memory Seat Module Terminal Identification - Driver C2

GM73156Courtesy of GENERAL MOTORS CORP.
Connector Part Information
  • 12110088
  • 24-Way Micro-Pack 100 Series (GY)
Pin Wire Color Circuit No. Function
A1 OG 2740 Battery Positive Voltage
A2 - - Not Used
A3 OG 840 5 Volt Reference
A4 - - Not Used
A5 BN/WH 1066 Memory Set Switch Signal
A6 L-GN 1523 Power Seat Horizontal Rearward Switch Signal
A7 TN 1522 Power Seat Horizontal Forward Switch Signal
A8 L-BU 1521 Power Seat Rear Vertical Down Switch Signal
A9 YE 1519 Power Seat Rear Vertical Up Switch Signal
A10 D-BU 1520 Power Seat Front Vertical Down Switch Signal
A11 D-GN 1518 Power Seat Front Vertical Up Switch Signal
A12 - - Not Used
B1 - - Not Used
B2 BN/WH 1048 Class 2 Serial Data
B3 OG 940 5 Volt Reference
B4 - - Not Used
B5 OG 240 Battery Positive Voltage
B6 RD/BK 1065 Memory 2 Switch Signal
B7 PK 1064 Memory 1 Switch Signal
B8 D-GN/WH 1270 Driver Seat Lumbar Rearward Switch Signal
B9 GY/BK 1269 Driver Seat Lumbar Forward Switch Signal
B10 BK 950 Low Reference
B11 BK 850 Ground
B12 - - Not Used
Memory Seat Module Terminal Identification - Driver C3

GM130690Courtesy of GENERAL MOTORS CORP.
Connector Part Information
  • 12110206
  • 24-Way F Micro-Pack 100 Series (L-BU)
Pin Wire Color Circuit No. Function
A1 - - Not Used
A2 YE 1063 Heated Seat High/Low Signal
A3 D-BU 1501 Heated Seat High/Low Signal
A4 - - Not Used
A5 D-GN 569 Horizontal Seat Motor Position Sensor Signal
A6 TN 568 Rear Vertical Seat Motor Position Sensor Signal
A7 BN/WH 557 Front Vertical Seat Motor Position Signal
A8-A12 - - Not Used
B1-B4 - - Not Used
B5 L-BU 277 Driver Seat Lumbar Rearward Control
B6 GY/BK 276 Driver Seat Lumbar Forward Control
B7 L-GN 2479 Passenger Heated Seat Element Supply Voltage
B8 - - Not Used
B9 BK 2480 Passenger Heated Seat Cushion Element Control
B10 L-GN 2078 Heated Seat Cushion Element Control
B11 - - Not Used
B12 RD/WH 2077 Heated Seat Cushion Element Supply Voltage
Memory Seat Module Terminal Identification - Driver C4

GM62469Courtesy of GENERAL MOTORS CORP.
Connector Part Information
  • 12064998
  • 8-Way F Metri-Pack 280 Series (BK)
Pin Wire Color Circuit No. Function
A D-GN 286 Driver Seat Front Vertical Motor Up Control
B D-BU 287 Driver Seat Front Vertical Motor Down Control
C L-BU 283 Driver Seat Rear Vertical Motor Down Control
D YE 282 Driver Seat Rear Vertical Motor Up Control
E L-GN 284 Driver Seat Horizontal Motor Rearward Control
F TN 285 Driver Seat Horizontal Motor Forward Control
G-H - - Not Used
Position Sensor Terminal Identification - Front

GM401671Courtesy of GENERAL MOTORS CORP.
Connector Part Information
  • 15324918
  • 3-Way F Molex Connector (WH)
Pin Wire Color Circuit No. Function
1 OG 840 5 Volt Reference
2 BN/WH 557 Front Vertical Seat Motor Position Sensor Signal
3 BK 850 Ground
Position Sensor Terminal Identification - Horizontal

GM401671Courtesy of GENERAL MOTORS CORP.
Connector Part Information
  • 15324918
  • 3-Way F Molex Connector (WH)
Pin Wire Color Circuit No. Function
1 BK 850 Ground
2 D-GN 569 Horizontal Seat Motor Position Sensor Signal
3 OG 840 5 Volt Reference
Position Sensor Terminal Identification - Rear

GM401671Courtesy of GENERAL MOTORS CORP.
Connector Part Information
  • 15324918
  • 3-Way F Molex Connector (WH)
Pin Wire Color Circuit No. Function
1 BK 850 Ground
2 TN 568 Rear Vertical Seat Motor Position Sensor Signal
3 OG 840 5 Volt Reference
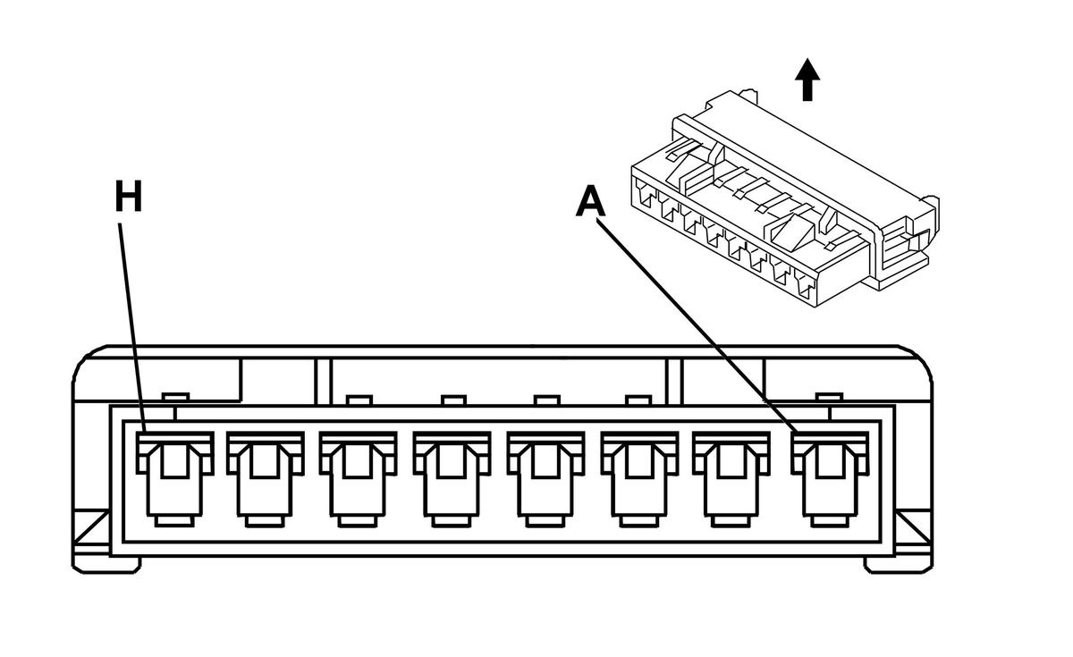
Seat Adjuster Switch Terminal Identification - Driver C1 (w/o Memory)

GM808876Courtesy of GENERAL MOTORS CORP.
Connector Part Information
  • 12015416
  • 8-Way Metri-Pack 280 Series (NA)
Pin Wire Color Circuit No. Function
A OG 3540 Battery Positive Voltage
B YE 288 Driver Seat Rear Vertical Motor Up Control
C L-BU 298 Driver Seat Front Vertical Motor Down Control
D L-GN 290 Driver Seat Horizontal Motor Rearward Control
E TN 296 Driver Seat Horizontal Motor Forward Control
F D-GN 297 Driver Seat Front Vertical Motor Up Control
G L-BU 298 Driver Seat Front Vertical Motor Down Control
H BK 1350 Ground
Seat Adjuster Switch Terminal Identification - Driver C2 (w/o Memory)

GM38274Courtesy of GENERAL MOTORS CORP.
Connector Part Information
  • 12015199
  • 2-Way F Metri-Pack 280 Series (NA)
Pin Wire Color Circuit No. Function
A L-BU 277 Driver Seat Lumbar Motor Rearward Control
B GY/BK 276 Driver Seat Lumbar Motor Forward Control
Seat Adjuster Switch Terminal Identification - Driver (w/Memory)

GM401382Courtesy of GENERAL MOTORS CORP.
Connector Part Information
  • 174045-2
  • 12-Way F 040 Multilock Mark II Series (BK)
Pin Wire Color Circuit No. Function
1 D-GN 1518 Power Seat Front Vertical Up Switch Signal
2 D-BU 1520 Power Seat Front Vertical Down Switch Signal
3 L-GN 1523 Power Seat Horizontal Rearward Switch Signal
4 TN 1522 Power Seat Horizontal Forward Switch Signal
5 L-BU 1521 Power Seat Rear Vertical Down Switch Signal
6 GY/BK 1269 Driver Seat Lumbar Forward Switch Signal
7 YE 1519 Power Seat Rear Vertical Up Switch Signal
8 D-GN/WH 1270 Driver Seat Lumbar Rearward Switch Signal
9 OG 240 Battery Positive Voltage
10 BN/WH 1066 Memory Set Switch Signal
11 PK 1064 Memory 1 Switch Signal
12 RD/BK 1065 Memory 2 Switch Signal
Seat Adjuster Switch Terminal Identification - Passenger C1

GM808876Courtesy of GENERAL MOTORS CORP.
Connector Part Information
  • 12015416
  • 8-Way F Metri-Pack 280 Series (NA)
Pin Wire Color Circuit No. Function
A OG 2240 Battery Positive Voltage
B-C - - Not Used
D L-GN 290 Passenger Seat Horizontal Motor Rearward Control
E TN 296 Passenger Seat Horizontal Motor Forward Control
F-G - - Not Used
H BK 1450 Ground
Seat Adjuster Switch Terminal Identification - Passenger C2

GM38274Courtesy of GENERAL MOTORS CORP.
Connector Part Information
  • 12015199
  • 2-Way F Metri-Pack 280 Series (NA)
Pin Wire Color Circuit No. Function
A D-BU 211 Passenger Seat Lumbar Motor Forward Control
B WH/BU 210 Passenger Seat Lumbar Motor Rearward Control
Seat Belt Switch Terminal Identification - Passenger (w/KA1)

GM320526Courtesy of GENERAL MOTORS CORP.
Connector Part Information
  • 12052907
  • 2-Way F Metri-Pack 150 Series (BK)
Pin Wire Color Circuit No. Function
A BK/WH 238 Seat Belt Switch - Right
B BK 1450 Ground
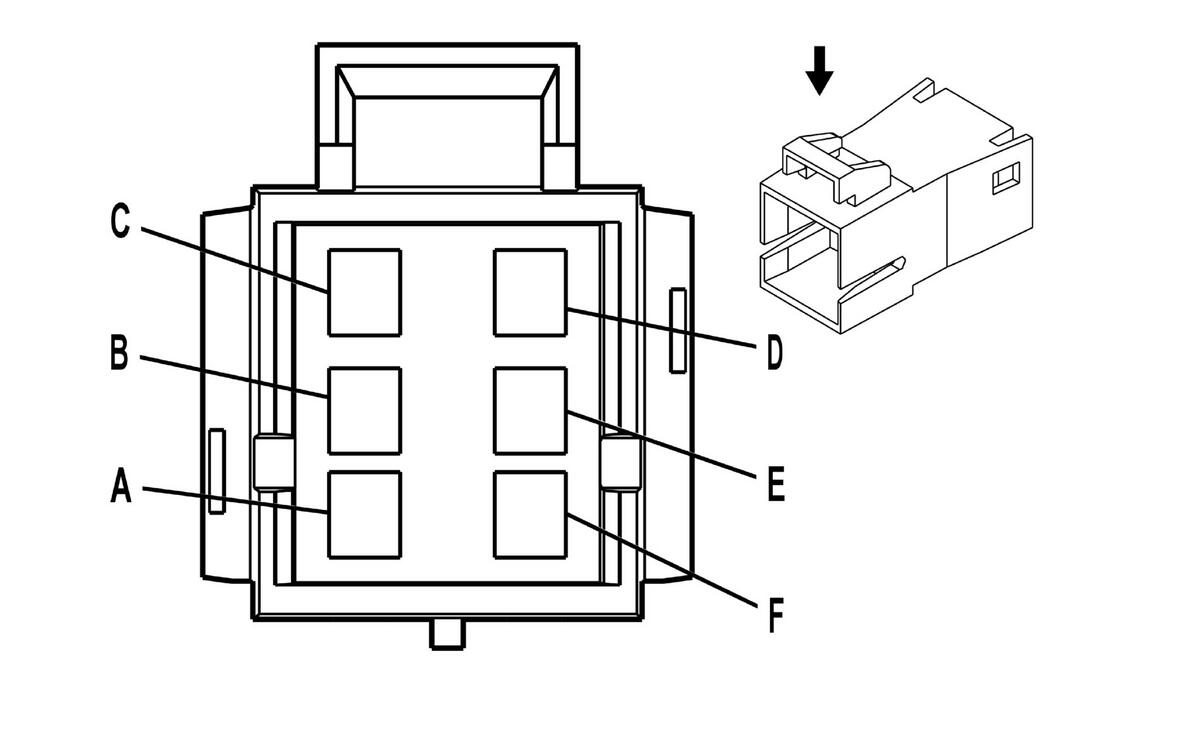
Seat Motors Assembly Terminal Identification - Driver

GM39689Courtesy of GENERAL MOTORS CORP.
Connector Part Information
  • 12064754
  • 6-Way M Metri-Pack 150 Series (BK)
Pin Wire Color Circuit No. Function
A TN 285 Driver Seat Horizontal Motor Forward Control (W/Memory)
TN 296 Driver Seat Horizontal Motor Forward Control (W/O Memory)
B L-GN 284 Driver Seat Horizontal Motor Rearward Control (W/Memory)
L-GN 290 Driver Seat Horizontal Motor Rearward Control (W/O Memory)
C D-GN 286 Driver Seat Front Vertical Motor Up Control (W/Memory)
D-GN 297 Driver Seat Front Vertical Motor Up Control (W/O Memory)
D D-BU 287 Driver Seat Front Vertical Motor Down Control (W/Memory)
L-BU 298 Driver Seat Front Vertical Motor Down Control (W/O Memory)
E YE 282 Driver Seat Rear Vertical Motor Up Control (W/Memory)
YE 288 Driver Seat Rear Vertical Motor Up Control (W/O Memory)
F L-BU 283 Driver Seat Rear Vertical Motor Down Control (W/Memory)
L-BU 289 Driver Seat Rear Vertical Motor Down Control (W/O Memory)
Seat Motors Assembly Terminal Identification - Passenger

GM39689Courtesy of GENERAL MOTORS CORP.
Connector Part Information
  • 12064754
  • 6-Way M Metri-Pack 150 Series (BK)
Pin Wire Color Circuit No. Function
A TN 296 Passenger Seat Horizontal Motor Forward Control
B L-GN 290 Passenger Seat Horizontal Motor Rearward Control
C-F - - Not Used