LEMON Manuals: Even more car manuals for everyone: 1960-2025
Home >> Chevrolet >> 2003 >> SSR Base >> Repair and Diagnosis >> Electrical >> Body Electrical >> OEM Connector End Views >> Connector End Views >> Inflatable Restraint Side Impact Module Connector End View - Left
April 5, 2026: LEMON Manuals is launched! Read the announcement.

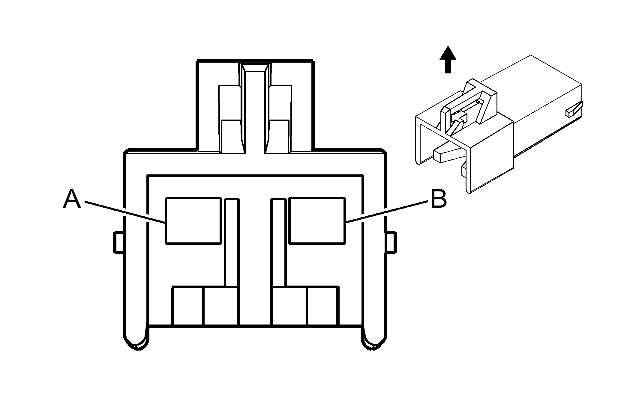
Inflatable Restraint Side Impact Module Connector End View - Left

Inflatable Restraint Side Impact Module - Left

GM130685Courtesy of GENERAL MOTORS CORP.
Connector Part Information
  • 12110288
  • 2-Way F Metri-Pack 280 Series (YE)
Pin Wire Color Circuit No. Function
A D-GN 2105 Left Side Impact Module High Control
B BN 2106 Left Side Impact Module Low Control