LEMON Manuals: Even more car manuals for everyone: 1960-2025
Home >> Chevrolet >> 2003 >> SSR LS >> Repair and Diagnosis >> Engine Performance >> System >> Engine Control System - 5.3L - Introduction >> Component Locator >> Engine Controls Component Views
April 5, 2026: LEMON Manuals is launched! Read the announcement.

Engine Controls Component Views

Fig 1: Left Side of Engine Components
GM1276858Courtesy of GENERAL MOTORS CORP.
Callout Component Name
1 Ignition Coil 1
2 Ignition Coil 3
3 C109
4 C100
5 Ignition Coil 5
6 Ignition Coil 7
7 Powertrain Control Module (PCM) Connector C1,C2
8 Engine Coolant Temperature (ECT) Sensor
Fig 2: Right Side of Engine Components
GM1276861Courtesy of GENERAL MOTORS CORP.
Callout Component Name
1 Ignition Coil 8
2 Ignition Coil 6
3 C108
4 Ignition Coil 4
5 Ignition Coil 2
6 Throttle Body
7 Crankshaft Position (CKP) Sensor
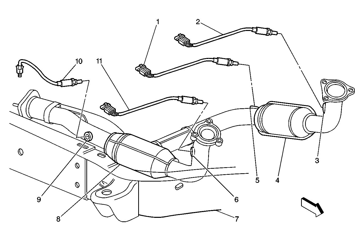
Fig 3: HO2S
GM334918Courtesy of GENERAL MOTORS CORP.
Callout Component Name
1 Bank 1 Sensor 2 HO2S
2 Bank 1 Sensor 1 HO2S
3 Bank 1 Sensor 1 HO2S Threaded Boss
4 Left Bank Catalytic Convertor
5 Bank 1 Sensor 2 HO2S Threaded Boss
6 Bank 2 Sensor 1 HO2S Threaded Boss
7 Right Side Frame Rail
8 Right Bank Catalytic Convertor
9 Bank 2 Sensor 2 HO2S Threaded Boss
10 Bank 2 Sensor 2 HO2S
11 Bank 2 Sensor 1 HO2S
Fig 4: Rear of Engine Components
GM1276864Courtesy of GENERAL MOTORS CORP.
Callout Component Name
1 Engine Oil Pressure (EOP) Sensor
2 Camshaft Position (CMP) Sensor
Fig 5: Engine Components
GM1276866Courtesy of GENERAL MOTORS CORP.
Callout Component Name
1 Intake Air Temperature (IAT)/ Mass Air Flow (MAF) Sensor
2 Accelerator Pedal Position (APP) Sensor
3 Throttle Actuator Control (TAC) Module
4 C100
5 Throttle Actuator Control (TAC) Module Connector C1
6 Throttle Actuator Control (TAC) Module Connector C2
Fig 6: Top of Engine Components
GM1276873Courtesy of GENERAL MOTORS CORP.
Callout Component Name
1 Fuel Injector 8
2 Manifold Absolute Pressure (MAP) Sensor
3 Knock Sensor (KS) 1 Left (KS) 2 Right
4 Fuel Injector 7
5 Fuel Injector 5
6 Fuel Injector 3
7 Fuel Injector 1
8 Generator
9 Evaporative Emission (EVAP) Canister Purge Solenoid
10 Fuel Injector 2
11 Fuel Injector 4
12 Fuel Injector 6
Fig 7: Knock Sensors
GM198593Courtesy of GENERAL MOTORS CORP.
Callout Component Name
1 Knock Sensor (KS) 1
2 Knock Sensor (KS) 2
Fig 8: Fuel System Components
GM1276876Courtesy of GENERAL MOTORS CORP.
Callout Component Name
1 Fuel Pump and Sender Assembly
2 Evaporative Emission (EVAP) Canister Vent Solenoid
3 Fuel Tank Pressure (FTP) Sensor