LEMON Manuals: Even more car manuals for everyone: 1960-2025
Home >> Chevrolet >> 2004 >> Classic >> Repair and Diagnosis >> Engine Performance >> System >> Engine Control System (Introduction) - 2.2L (L61) >> Schematic and Routing Diagrams >> Engine Controls Schematics
April 5, 2026: LEMON Manuals is launched! Read the announcement.

Engine Controls Schematics

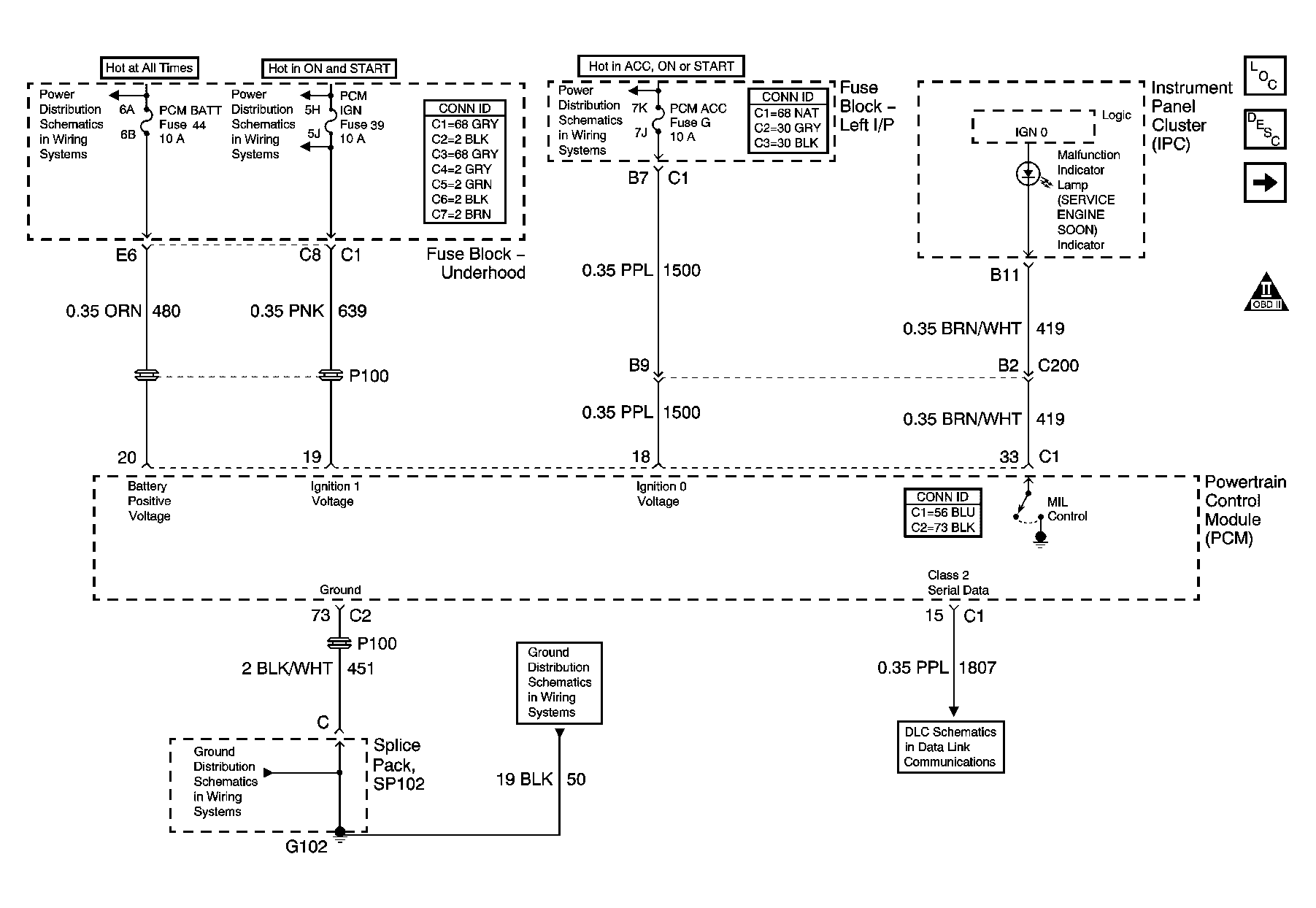
Fig 1: Power, Ground, Serial Data and MIL Schematic
GM1199932Courtesy of GENERAL MOTORS CORP.
Fig 2: 5-Volt and Low Reference Bussing Schematic
GM1199972Courtesy of GENERAL MOTORS CORP.
Fig 3: Engine Data Sensors - Pressure and Temperature Schematic
GM1199974Courtesy of GENERAL MOTORS CORP.
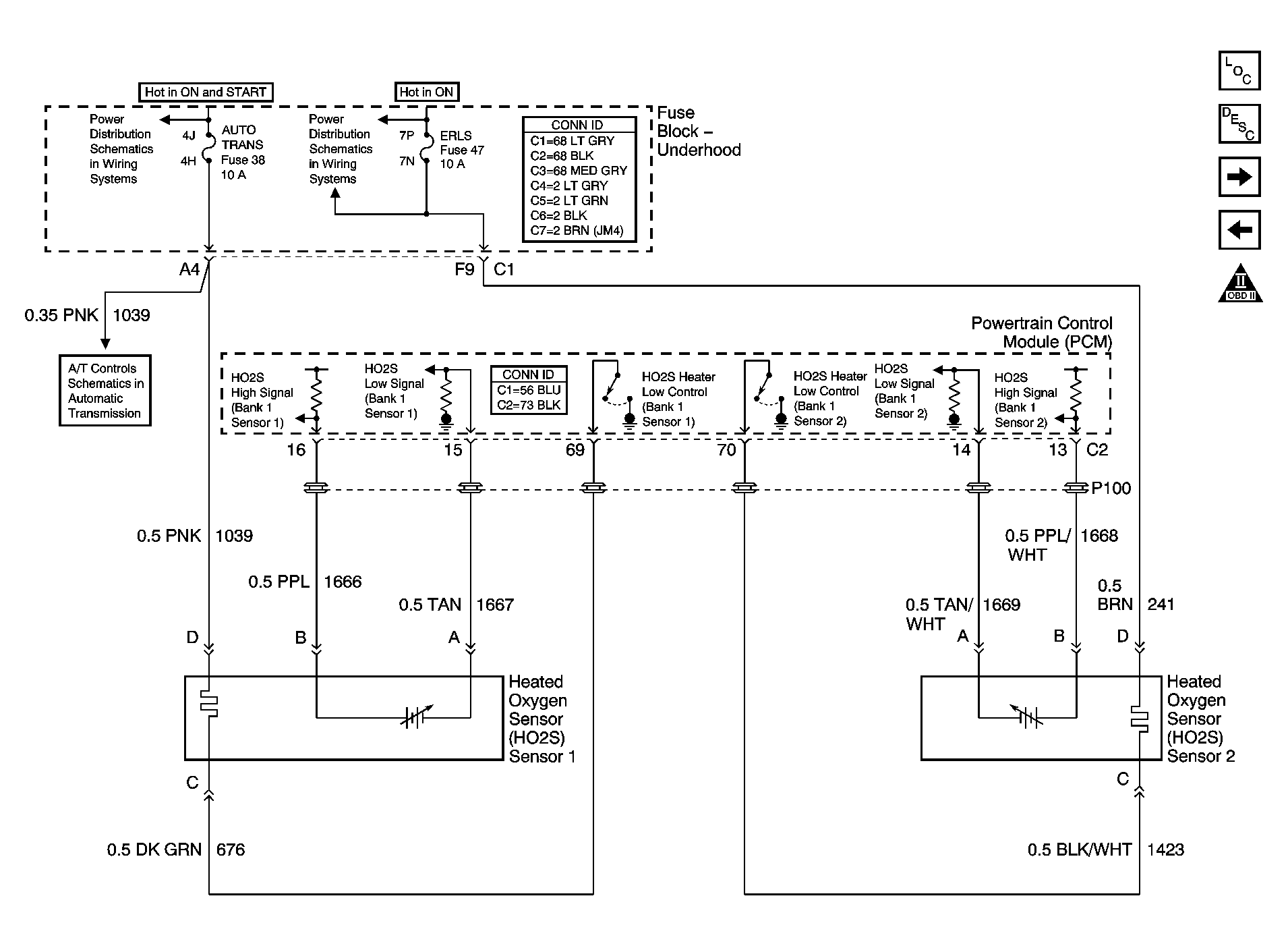
Fig 4: Engine Data Sensors - Heated Oxygen Sensors Schematic
GM1199976Courtesy of GENERAL MOTORS CORP.
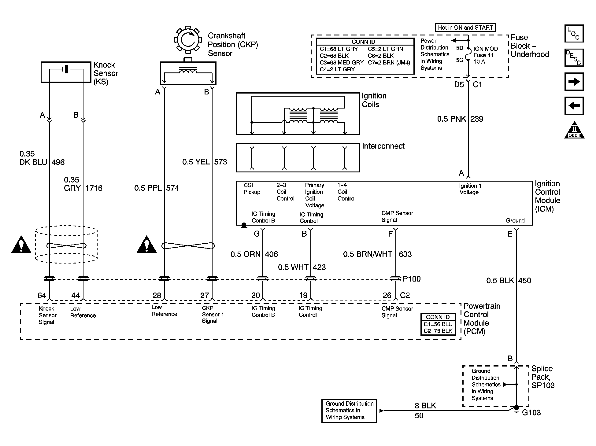
Fig 5: Ignition System Schematic
GM1199977Courtesy of GENERAL MOTORS CORP.
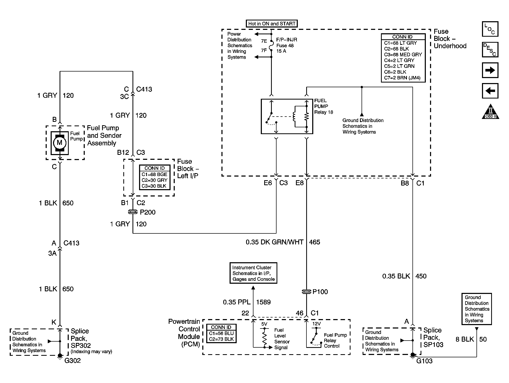
Fig 6: Fuel Pump Controls Schematic
GM1199978Courtesy of GENERAL MOTORS CORP.
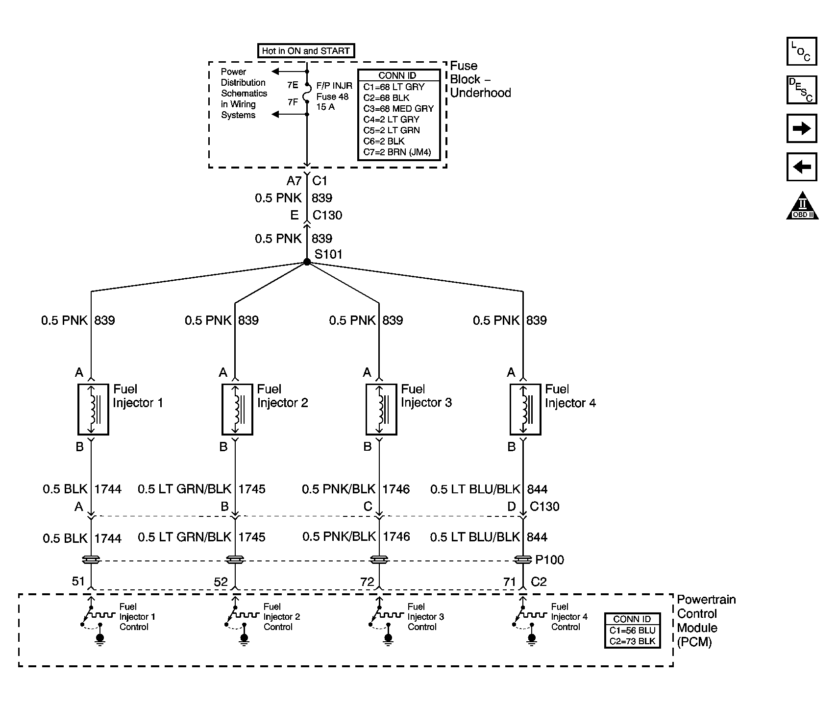
Fig 7: Fuel Injectors Schematic
GM1199979Courtesy of GENERAL MOTORS CORP.
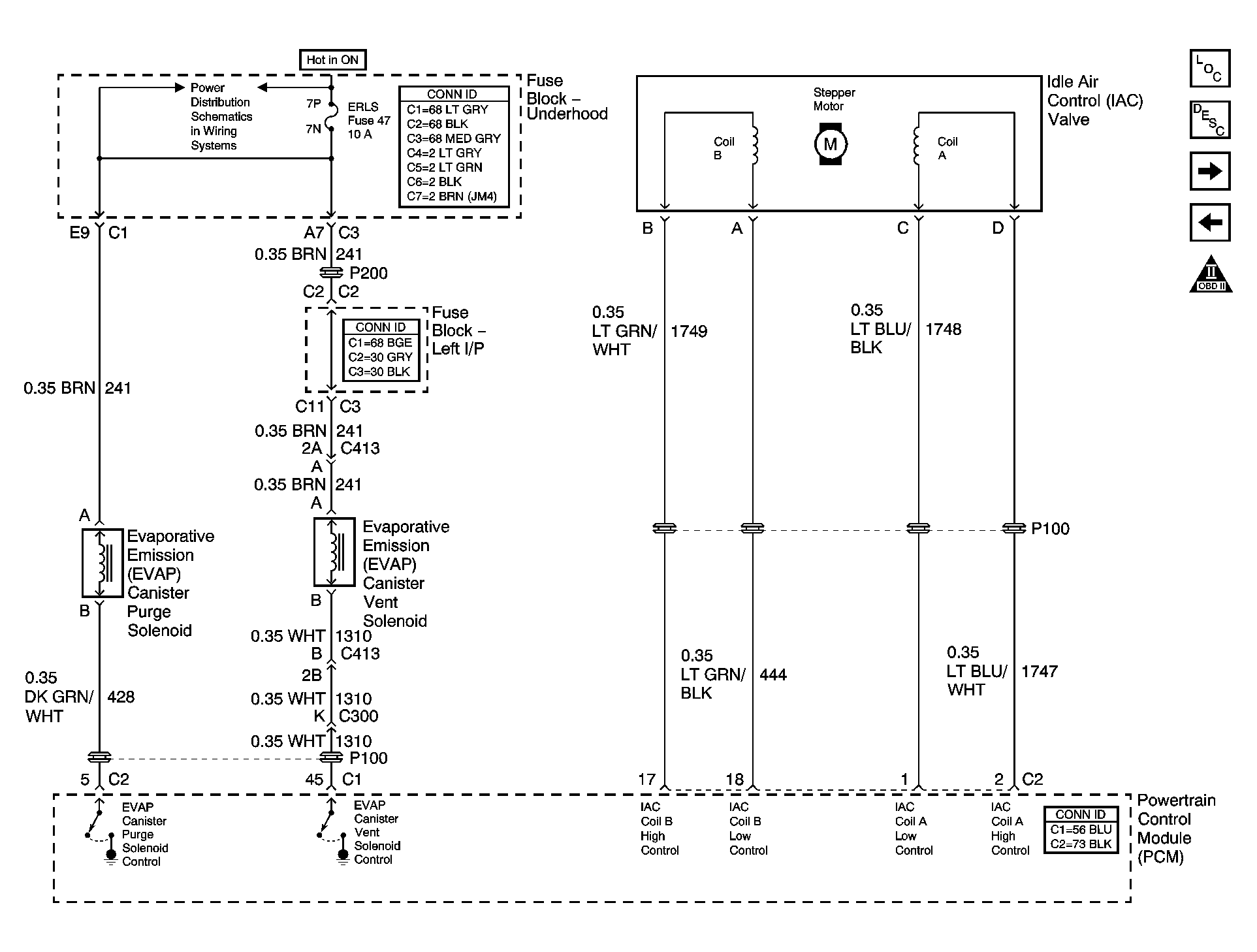
Fig 8: EVAP and IAC Controls Schematic
GM1199980Courtesy of GENERAL MOTORS CORP.
Fig 9: Controlled/Monitored Subsystem References Schematic
GM1199982Courtesy of GENERAL MOTORS CORP.
Fig 10: Transmission References Schematic
GM1199984Courtesy of GENERAL MOTORS CORP.