LEMON Manuals: Even more car manuals for everyone: 1960-2025
Home >> Chevrolet >> 2004 >> Classic >> Repair and Diagnosis >> External Pages >> Different car >> Section 13 (Lighting Systems) >> Component Locator >> Lighting Systems Connector End Views
April 5, 2026: LEMON Manuals is launched! Read the announcement.

Lighting Systems Connector End Views

WARNING: This page is about a different car, the 2004 Pontiac Grand Am and 2004 Oldsmobile Alero. However, it is still accessible from the selected car via links, so may be relevant.
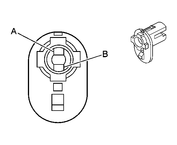
Ambient Light Sensor Connector End Views

GM82383Courtesy of GENERAL MOTORS CORP.
Connector Part Information
  • 12047662
  • 2-Way F Metri-Pack 150 Series (BLK)
Pin Wire Color Circuit No. Function
A LT GRN/BLK 1137 DRL Ambient Light Sensor Signal
B YEL/BLK 1138 DRL Ambient Light Sensor Low Reference
Auxiliary Park Lamp Connector End Views - LF - Pontiac

GM744036Courtesy of GENERAL MOTORS CORP.
Connector Part Information
  • 12110053
  • Lamp Socket Axial Wedge Base W-2 ( LT GRY)
Pin Wire Color Circuit No. Function
A BRN 9 Park Lamp Supply Voltage
B BLK 1350 Ground
Auxiliary Park Lamp Connector End Views - RF - Pontiac

GM744036Courtesy of GENERAL MOTORS CORP.
Connector Part Information
  • 12110053
  • Lamp Socket Axial Wedge Base W-2 ( LT GRY)
Pin Wire Color Circuit No. Function
A BRN 9 Park Lamp Supply Voltage
B BLK 1350 Ground
Auxiliary Turn Signal Lamp Connector End Views - LF - Export Only

GM258174Courtesy of GENERAL MOTORS CORP.
Connector Part Information
  • 15336436
  • 2-Way M Weather Pack (BLK)
Pin Wire Color Circuit No. Function
A LT BLU 14 Left Turn Signal Lamps Supply Voltage
B BLK 1150 Ground
Auxiliary Turn Signal Lamp Connector End Views - RF - Export Only

GM258174Courtesy of GENERAL MOTORS CORP.
Connector Part Information
  • 15336435
  • 2-Way M Weather Pack (BLK)
Pin Wire Color Circuit No. Function
A DK BLU 15 Right Turn Signal Lamps Supply Voltage
B BLK 1150 Ground
Backup Lamp Connector End Views - Left - Oldsmobile

GM333035Courtesy of GENERAL MOTORS CORP.
Connector Part Information
  • 12047781
  • 3-Way F Metri-Pack 150 Series (BLK)
Pin Wire Color Circuit No. Function
A BRN 9 Park Lamp Supply Voltage
B LT GRN 24 Backup Lamp Supply Voltage
C BLK 750 Ground
Backup Lamp Connector End Views - Left - Pontiac

GM130733Courtesy of GENERAL MOTORS CORP.
Connector Part Information
  • 12146418
  • Lamp Socket Type W-2 Right Angle (LT GRY)
Pin Wire Color Circuit No. Function
A LT GRN 24 Backup Lamp Supply Voltage
B BLK 750 Ground
Backup Lamp Connector End Views - Right - Oldsmobile

GM333035Courtesy of GENERAL MOTORS CORP.
Connector Part Information
  • 12047781
  • 3-Way F Metri-Pack 150 Series (BLK)
Pin Wire Color Circuit No. Function
A BRN 9 Park Lamp Supply Voltage
B LT GRN 24 Backup Lamp Supply Voltage
C BLK 750 Ground
Backup Lamp Connector End Views - Right - Pontiac

GM130733Courtesy of GENERAL MOTORS CORP.
Connector Part Information
  • 12146418
  • Lamp Socket Type W-2 Right Angle (LT GRY)
Pin Wire Color Circuit No. Function
A LT GRN 24 Backup Lamp Supply Voltage
B BLK 850 Ground
Backup Lamp Switch Connector End Views

GM635009Courtesy of GENERAL MOTORS CORP.
Connector Part Information
  • 12052641
  • 2-Way F Metri-Pack 150 Series Sealed (BLK)
Pin Wire Color Circuit No. Function
A LT GRN 24 Backup Lamp Supply Voltage
B PNK 539 Ignition 1 Voltage
Center High Mounted Stop Lamp (CHMSL) Connector End Views

GM153645Courtesy of GENERAL MOTORS CORP.
Connector Part Information
  • 12129081
  • 2-Way F Metri-Pack 280 Series Flex Lock (BLK)
Pin Wire Color Circuit No. Function
A LT BLU 20 Stop Lamp Supply Voltage
B BLK 750 Ground
Dome Lamp Connector End Views

GM333035Courtesy of GENERAL MOTORS CORP.
Connector Part Information
  • 12047781
  • 3-Way F Metri-Pack 150 Series (BLK)
Pin Wire Color Circuit No. Function
A WHT 156 Courtesy Lamp Low Control
B BLK 750 Ground
C ORN 1732 Courtesy Lamps Supply Voltage
Door Ajar Switch Connector End Views - LR

GM295483Courtesy of GENERAL MOTORS CORP.
Connector Part Information
  • 15304635
  • 2-Way F Metri-Pack 150.2 Series Sealed Pull-to-Seat (LT GRY)
Pin Wire Color Circuit No. Function
A BLK 650 Ground
B LT BLU 395 Passenger Door Ajar Switch Signal
Door Ajar Switch Connector End Views - RR

GM295483Courtesy of GENERAL MOTORS CORP.
Connector Part Information
  • 15304635
  • 2-Way F Metri-Pack 150.2 Series Sealed Pull-to-Seat (LT GRY)
Pin Wire Color Circuit No. Function
A BLK 650 Ground
B LT BLU 395 Passenger Door Ajar Switch Signal
Door Jamb Switch Connector End Views - LF

GM684806Courtesy of GENERAL MOTORS CORP.
Connector Part Information
  • 12110194
  • 2-Way F Metri-Pack 150 Series Sealed (BLK)
Pin Wire Color Circuit No. Function
A LT GRN/BLK 394 Driver Door Ajar Switch Signal
D BLK 650 Ground
Door Jamb Switch Connector End Views - RF

GM684806Courtesy of GENERAL MOTORS CORP.
Connector Part Information
  • 12110194
  • 2-Way F Metri-Pack 150 Series Sealed (BLK)
Pin Wire Color Circuit No. Function
A BLK 650 Ground
D LT BLU 395 Passenger Door Ajar Switch Signal
Daytime Running Lamps (DRL) Resistor Connector End Views

GM68721Courtesy of GENERAL MOTORS CORP.
Connector Part Information
  • 15300027
  • 2-Way F Metri-Pack 280 Series Sealed (BLK)
Pin Wire Color Circuit No. Function
A GRY 589 DRL Resistor Supply Voltage
B BLK 1350 Ground
Fog Lamp Connector End Views - LF - Pontiac

GM646148Courtesy of GENERAL MOTORS CORP.
Connector Part Information
  • 12020599
  • 2-Way F Metri-Pack 280 Series Sealed (BLK)
Pin Wire Color Circuit No. Function
A PPL 34 Fog Lamps Supply Voltage
B BLK 1350 Ground
Fog Lamp Connector End Views - LR - Export Only

GM333035Courtesy of GENERAL MOTORS CORP.
Connector Part Information
  • 12047781
  • 3-Way F Metri-Pack 150 Series (BLK)
Pin Wire Color Circuit No. Function
A BRN 9 Park Lamp Supply Voltage
B - - Not Used
C BLK 750 Ground
Fog Lamp Connector End Views - RF - Oldsmobile

GM808661Courtesy of GENERAL MOTORS CORP.
Connector Part Information
  • 12124817
  • 2-Way F Metri-Pack 280 Series Sealed (BLK)
Pin Wire Color Circuit No. Function
A PPL 34 Fog Lamps Supply Voltage
B BLK 1350 Ground
Fog Lamp Connector End Views - RF - Pontiac

GM646148Courtesy of GENERAL MOTORS CORP.
Connector Part Information
  • 12020599
  • 2-Way F Metri-Pack 280 Series Sealed (BLK)
Pin Wire Color Circuit No. Function
A PPL 34 Fog Lamps Supply Voltage
B BLK 1350 Ground
Fog Lamp Connector End Views - RR - Export Only

GM333035Courtesy of GENERAL MOTORS CORP.
Connector Part Information
  • 12047781
  • 3-Way F Metri-Pack 150 Series (BLK)
Pin Wire Color Circuit No. Function
A BRN 9 Park Lamp Supply Voltage
B - - Not Used
C BLK 750 Ground
Fog Lamp Switch Connector End Views

GM333035Courtesy of GENERAL MOTORS CORP.
Connector Part Information
  • 12047781
  • 3-Way F Metri-Pack 150 Series (BLK)
Pin Wire Color Circuit No. Function
A ORN 192 Front Fog Lamp Switch Signal
B BLK/WHT 151 Ground
C PPL 34 Fog Lamps Supply Voltage
Fog Lamp Switch Connector End Views -Rear -Export Only

GM333035Courtesy of GENERAL MOTORS CORP.
Connector Part Information
  • 12065422
  • 3-Way F Metri-Pack 150 Series (NAT)
Pin Wire Color Circuit No. Function
A LT BLU 187 Rear Fog Lamp Switch Signal
B BLK/WHT 151 Ground
C RED 122 Rear Fog Lamp Supply Voltage
Hazard Switch Connector End Views

GM62464Courtesy of GENERAL MOTORS CORP.
Connector Part Information
  • 12064769
  • 10-Way F Metri-Pack 150 Series (NAT)
Pin Wire Color Circuit No. Function
A BLK 150 Ground
B ORN 1140 Battery Positive Voltage
C PNK 739 Ignition 1 Voltage
D - - Not Used
E GRY 8 Instrument Panel Lamp Supply Voltage-1
F LT BLU/BLK 14 Left Turn Signal Lamps Supply Voltage
G DK BLU 15 Right Turn Signal Lamps Supply Voltage
H PPL 16 Turn Signal Flasher Signal
J-K - - Not Used
Headlamp Connector End Views - Left - Oldsmobile

GM697046Courtesy of GENERAL MOTORS CORP.
Connector Part Information
  • 12186567
  • 4-Way F Metri-Pack 150 Series Sealed (BLK)
Pin Wire Color Circuit No. Function
A ORN 740 Battery Positive Voltage
B ORN 740 Battery Positive Voltage
C PNK 1200 Headlamp High Beam Signal
D DK BLU 1201 Headlamp Low Beam Signal
Headlamp Connector End Views - Left - Pontiac

GM808663Courtesy of GENERAL MOTORS CORP.
Connector Part Information
  • 12048369
  • 3-Way F Metri-Pack 280 Series Sealed (BLU)
Pin Wire Color Circuit No. Function
A DK BLU 1201 Headlamp Low Beam Signal
B ORN 740 Battery Positive Voltage
C PNK 1200 Headlamp High Beam Signal
Headlamp Leveling Actuator Motor Connector End Views - Left - Export Only

GM647925Courtesy of GENERAL MOTORS CORP.
Connector Part Information
  • 12084526
  • 3-Way F (BLK)
Pin Wire Color Circuit No. Function
1 BLK 1150 Ground
2 GRY 868 Headlamp Leveling Switch Bit 1 Signal
3 BRN 41 Ignition 3 Voltage
Headlamp Leveling Actuator Motor Connector End Views - Right - Export Only

GM647925Courtesy of GENERAL MOTORS CORP.
Connector Part Information
  • 12084526
  • 3-Way F (BLK)
Pin Wire Color Circuit No. Function
1 BLK 1150 Ground
2 GRY 868 Headlamp Leveling Switch Bit 1 Signal
3 BRN 41 Ignition 3 Voltage
Headlamp Leveling Switch Connector End Views - Export Only

GM815045Courtesy of GENERAL MOTORS CORP.
Connector Part Information
  • 12162952
  • 8-Way F (BLK)
Pin Wire Color Circuit No. Function
1-2 - - Not Used
3 BLK/WHT 151 Ground
4 - - Not Used
6 BRN 2255 Headlamp Leveling Switch Signal
7 GRY 868 Headlamp Leveling Switch Bit 1 Signal
GRY 868 Headlamp Leveling Switch Bit 1 Signal
8-9 - - Not Used
Headlamp Connector End Views - Right - Oldsmobile

GM697046Courtesy of GENERAL MOTORS CORP.
Connector Part Information
  • 12186567
  • 4-Way F Metri-Pack 150 Series Sealed (BLK)
Pin Wire Color Circuit No. Function
A ORN 640 Battery Positive Voltage
B ORN 640 Battery Positive Voltage
C PNK 1200 Headlamp High Beam Signal
D DK BLU 1201 Headlamp Low Beam Signal
Headlamp Connector End Views - Right - Pontiac

GM808663Courtesy of GENERAL MOTORS CORP.
Connector Part Information
  • 12048369
  • 3-Way F Metri-Pack 280 Series Sealed (BLU)
Pin Wire Color Circuit No. Function
A DK BLU 1201 Headlamp Low Beam Signal
B ORN 640 Battery Positive Voltage
C PNK 1200 Headlamp High Beam Signal
Inside Rearview Mirror w/Reading Lamps Connector End Views

GM153632Courtesy of GENERAL MOTORS CORP.
Connector Part Information
  • 12124782
  • 7-Way F Metri-Pack 150 Series (BLK)
Pin Wire Color Circuit No. Function
1 - - Not Used
2 BLK 750 Ground
3-5 - - Not Used
6 BLK 156 Courtesy Lamp Low Control
7 BLK/WHT 1732 Courtesy Lamps Supply Voltage
I/P Compartment Lamp Connector End Views - Oldsmobile Only

GM334629Courtesy of GENERAL MOTORS CORP.
Connector Part Information
  • 12160250
  • 2-Way F Lamp Socket Mini Wedge Bulb Base Type W-1 (BLK)
Pin Wire Color Circuit No. Function
A GRY 8 Instrument Panel Lamp Supply Voltage -1
B BLK 250 Ground
I/P Compartment Lamp/Switch Connector End Views

GM82383Courtesy of GENERAL MOTORS CORP.
Connector Part Information
  • 12047662
  • 2-Way F Metri-Pack 150 Series (BLK)
Pin Wire Color Circuit No. Function
A ORN 1732 Courtesy Lamps Supply Voltage
B BLK 250 Ground
I/P Dimmer Switch Connector End Views

GM808685Courtesy of GENERAL MOTORS CORP.
Connector Part Information
  • 12020299
  • 5-Way F Printed Circuit Edgeboard Series (NAT)
Pin Wire Color Circuit No. Function
A WHT 156 Courtesy Lamp Low Control
B DK GRN 44 Instrument Panel Lamps Dimmer Switch Signal
C YEL 32 Instrument Panel Lamp Fuse Supply Voltage-1
D BLK/WHT 151 Ground
E GRY 8 Instrument Panel Lamps Supply Voltage-1 (Pontiac)
I/P Dimming Module Connector End Views

GM810072Courtesy of GENERAL MOTORS CORP.
Connector Part Information
  • 12034060
  • 4-Way F Metri-Pack 480 Series (NAT)
Pin Wire Color Circuit No. Function
A - - Not Used
B DK GRN 44 Instrument Panel Lamps Dimmer Switch Signal
C GRY 8 Instrument Panel Lamp Supply Voltage
D YEL 32 Instrument Panel Lamp Fuse Supply Voltage-1
Lamp Assembly Connector End Views - LR - Oldsmobile

GM810077Courtesy of GENERAL MOTORS CORP.
Connector Part Information
  • 12191387
  • 4-Way M Metri-Pack 280 Series (BLK)
Pin Wire Color Circuit No. Function
A BRN 9 Park Lamp Supply Voltage
B LT BLU/BLK 14 Left Turn Signal Lamps Supply Voltage
C BLK 750 Ground
D LT BLU 20 Stop Lamp Supply Voltage
Lamp Assembly Connector End Views - LR - Pontiac

GM805442Courtesy of GENERAL MOTORS CORP.
Connector Part Information
  • 12084891
  • 5-Way F Metri-Pack 280 Series Sealed (MD GRY)
Pin Wire Color Circuit No. Function
A LT GRN 24 Backup Lamp Supply Voltage
B LT BLU/BLK 14 Left Turn Signal Lamps Supply Voltage
C BLK 750 Ground
D BRN 9 Park Lamp Supply Voltage
E LT BLU 20 Stop Lamp Supply Voltage
Lamp Assembly Connector End Views - RR - Oldsmobile

GM810077Courtesy of GENERAL MOTORS CORP.
Connector Part Information
  • 12191387
  • 4-Way M Metri-Pack 280 Series (BLK)
Pin Wire Color Circuit No. Function
A BRN 9 Park Lamp Supply Voltage
B DK BLU 15 Right Turn Signal Lamps Supply Voltage
C BLK 850 Ground
D LT BLU 20 Stop Lamp Supply Voltage
Lamp Assembly Connector End Views - RR - Pontiac

GM805442Courtesy of GENERAL MOTORS CORP.
Connector Part Information
  • 12084891
  • 5-Way F Metri-Pack 280 Series Sealed (MD GRY)
Pin Wire Color Circuit No. Function
A BRN 9 Park Lamp Supply Voltage
B LT BLU 20 Stop Lamp Supply Voltage
C BLK 850 Ground
D DK BLU 15 Right Turn Signal Lamps Supply Voltage
E LT GRN 24 Backup Lamp Supply Voltage
License Lamp Connector End Views - Oldsmobile

GM95782Courtesy of GENERAL MOTORS CORP.
Connector Part Information
  • 12065651
  • 2-Way M Metri-Pack 150 Series (BLK)
Pin Wire Color Circuit No. Function
A BRN 9 Park Lamp Supply Voltage
B BLK 750 Ground
License Lamp Connector End Views - Pontiac

GM744036Courtesy of GENERAL MOTORS CORP.
Connector Part Information
  • 12110053
  • 2-Way Lamp Socket Axial Wedge Base W-2 (GRY)
Pin Wire Color Circuit No. Function
A BRN 9 Park Lamp Supply Voltage
B BLK 750 Ground
Marker Lamp Connector End Views - LF

GM744036Courtesy of GENERAL MOTORS CORP.
Connector Part Information
  • 12110053
  • 2-Way Lamp Socket Axial Wedge Base W-2 (GRY)
Pin Wire Color Circuit No. Function
A LT BLU/BLK 14 Left Turn Signal Lamps Supply Voltage
B BRN/WHT 9 Park Lamp Supply Voltage
Marker Lamp Connector End Views - RF

GM744036Courtesy of GENERAL MOTORS CORP.
Connector Part Information
  • 12110053
  • 2-Way Lamp Socket Axial Wedge Base W-2 (GRY)
Pin Wire Color Circuit No. Function
A DK BLU 15 Right Turn Signal Lamps Supply Voltage
B BRN/WHT 9 Park Lamp Supply Voltage
Park/Turn Signal Lamp Connector End Views - LF

GM38605Courtesy of GENERAL MOTORS CORP.
Connector Part Information
  • 12160394
  • 3-Way Lamp Socket Right Wedge Base Angle W3 (NAT)
Pin Wire Color Circuit No. Function
A LT BLU/BLK 14 Left Turn Signal Lamps Supply Voltage
B BRN 9 Park Lamp Supply Voltage
G BLK 1350 Ground
Park/Turn Signal Lamp Connector End Views - RF

GM38605Courtesy of GENERAL MOTORS CORP.
Connector Part Information
  • 12160394
  • 3-Way Lamp Socket Right Wedge Base Angle W3 (NAT)
Pin Wire Color Circuit No. Function
A DK BLU 15 Right Turn Signal Lamps Supply Voltage
B BRN 9 Park Lamp Supply Voltage
G BLK 1350 Ground
Rear Compartment Courtesy Lamp Connector End Views

GM333035Courtesy of GENERAL MOTORS CORP.
Connector Part Information
  • 12047781
  • 3-Way F Metri-Pack 150 Series (BLK)
Pin Wire Color Circuit No. Function
A - - Not Used
B ORN/BLK 737 Rear Compartment Lamp Control
C ORN 1732 Courtesy Lamps Supply Voltage
Rear Compartment Lid Backup/Tail Lamp Connector End Views - LR - Oldsmobile

GM333035Courtesy of GENERAL MOTORS CORP.
Connector Part Information
  • 12047781
  • 3-Way F Metri-Pack 150 Series (BLK)
Pin Wire Color Circuit No. Function
A BRN 9 Park Lamp Supply Voltage
B LT GRN 24 Backup Lamp Supply Voltage
C BLK 750 Ground
Rear Compartment Lid Backup/Tail Lamp Connector End Views - RR - Oldsmobile

GM333035Courtesy of GENERAL MOTORS CORP.
Connector Part Information
  • 12047781
  • 3-Way F Metri-Pack 150 Series (BLK)
Pin Wire Color Circuit No. Function
A BRN 9 Park Lamp Supply Voltage
B LT GRN 24 Backup Lamp Supply Voltage
C BLK 750 Ground
Shift Indicator Lamp Connector End Views

GM810080Courtesy of GENERAL MOTORS CORP.
Connector Part Information
  • 12162083
  • 2-Way Lamp Socket Type W2 Axial (BLK)
Pin Wire Color Circuit No. Function
A GRY 8 Instrument Panel Lamp Supply Voltage-1
B BLK 150 Ground
Stop Lamp Switch, C1 Connector End Views

GM73251Courtesy of GENERAL MOTORS CORP.
Connector Part Information
  • 12033701
  • 2-Way F Metri-Pack 480 Series (GRY)
Pin Wire Color Circuit No. Function
A ORN 140 Battery Positive Voltage
B LT BLU 20 Stop Lamp Supply Voltage
Stop Lamp Switch, C2 Connector End Views

GM40397Courtesy of GENERAL MOTORS CORP.
Connector Part Information
  • 12033706
  • 4-Way F Metri-Pack 280 Series (BLU)
Pin Wire Color Circuit No. Function
A LT GRN 275 Park Neutral Position Switch Park Signal
B DK GRN/WHT 1135 A/T Shift Lock Control Solenoid Supply Voltage
C-D - - Not Used
Turn Signal/Multifunction Switch, C1 Connector End Views

GM334628Courtesy of GENERAL MOTORS CORP.
Connector Part Information
  • 12177027
  • 6-Way F Metri-Pack 280 Series (BLK)
Pin Wire Color Circuit No. Function
31 GRY/BLK 308 Park Lamp Switch Signal
32 ORN 240 Battery Positive Voltage
33 PNK 1200 Headlamp High Beam Signal
34 DK BLU 1201 Headlamp Low Beam Signal
35 BLK 150 Ground
36 DK GRN 306 Headlamp Switch Headlamps Off Signal
Turn Signal/Multifunction Switch, C2 Connector End Views

GM62450Courtesy of GENERAL MOTORS CORP.
Connector Part Information
  • 12052856
  • 4-Way F Metri-Pack 280 Series (BLK)
Pin Wire Color Circuit No. Function
A BLK 28 Horn Relay Control
B DK BLU 15 Right Turn Signal Lamps Supply Voltage
C LT BLU/BLK 14 Left Turn Signal Lamps Supply Voltage
D PPL 16 Turn Signal Flasher Signal
Turn Signal/Multifunction Switch, C3 Connector End Views

GM62432Courtesy of GENERAL MOTORS CORP.
Connector Part Information
  • 12041429
  • 5-Way F Metri-Pack 280 Series (BLK)
Pin Wire Color Circuit No. Function
A PPL 92 Windshield Wiper Motor High Speed
B RED 228 Windshield Washer Pump Ground
C YEL 143 Accessory Voltage
D GRY 112 Windshield Wiper Switch Signal 1
E DK GRN 113 Windshield Wiper Switch Signal 2