LEMON Manuals: Even more car manuals for everyone: 1960-2025
Home >> Chevrolet >> 2004 >> Classic >> Repair and Diagnosis >> Quick Lookups >> Wiring Diagrams >> Wiring Systems - Specifications, Component Views And Connector End Views >> Component Locator >> Electrical Center Identification Views >> Fuse Block - Left I/P, C3
April 5, 2026: LEMON Manuals is launched! Read the announcement.

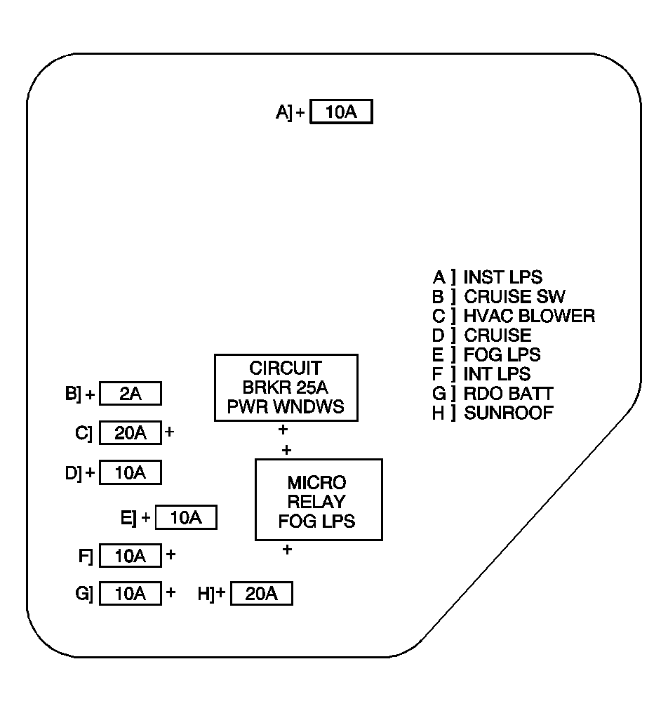
Fuse Block - Left I/P, C3

Fuse Block - Left I/P, C3 Identification View

GM287972Courtesy of GENERAL MOTORS CORP.
Connector Part Information
  • 12176740
  • 30-Way F Metri-Pack 280 Series (BLK)
Pin Wire Color Circuit No. Function
A1 ORN 140 Battery Positive Voltage
A2 GRY 295 Door Lock Motor Lock
GRY 295 Door Lock Motor Lock
A3 - - Not Used
A4 TAN 294 Door Lock Motor Unlock
A5 - - Not Used
A8 ORN 540 Battery Positive Voltage
A9 BLK/WHT 56 Trunk Release Motor (Control or Supply Voltage)
A10 - - Not Used
A11 ORN 1040 Battery Positive Voltage
A12 - - Not Used
B1 PPL 420 TCC Brake Switch Signal
B2 GRY 295 Door Lock Motor Lock
GRY 295 Door Lock Motor Lock
B3 - - Not Used
B4 TAN 294 Door Lock Motor Unlock
TAN 294 Door Lock Motor Unlock
B5 - - Not Used
B8 TAN 201 Left Front Speaker Output +
B9 LT GRN/
BLK
394 Driver Door Ajar Switch Signal
B10 ORN 1840 Battery Positive Voltage
B11 - - Not Used
B12 GRY 120 Fuel Pump Supply Voltage
C1 LT BLU 1134 Park Brake Switch Signal
C2 TAN 694 Not Used
C3 ORN 1732 Courtesy Lamps Supply Voltage
C4 ORN 1732 Courtesy Lamps Supply Voltage
ORN 1732 Courtesy Lamps Supply Voltage
C5 - - Not Used
C8 GRY 118 Left front Speaker Output +
C9 DK GRN/
WHT
1135 A/T Shift Lock Solenoid Supply Voltage
C10 WHT 156 Courtesy Lamp Low Control
C11 BRN 241 Ignition 3 Voltage
C12 BLK 293 Rear Defogger Element Supply Voltage
Fig 1: Fuse Block, Right I/P - Label
GM770279Courtesy of GENERAL MOTORS CORP.