LEMON Manuals: Even more car manuals for everyone: 1960-2025
Home >> Chevrolet >> 2004 >> Impala SS >> Repair and Diagnosis >> Engine Performance >> System >> Engine Control System 3.8L (Introduction) >> Component Locator >> Engine Controls Connector End Views
April 5, 2026: LEMON Manuals is launched! Read the announcement.

Engine Controls Connector End Views

Camshaft Position (CMP) Sensor Terminal Identification

GM523620Courtesy of GENERAL MOTORS CORP.
Connector Par Information
  • 12162279
  • 3-Way F Metri-Pack 150.2 P2S Series Sealed (MD GRY)
Pin Wire Color Circuit No. Function
A BRN/WHT 633 CMP Sensor Signal
B BLK/WHT 836 Low Reference
C WHT/BLK 644 12-Volt Reference
Crankshaft Position (CKP) Sensor Terminal Identification

GM280765Courtesy of GENERAL MOTORS CORP.
Connector Part Information
  • 12162724
  • 4-Way F Metri-Pack 150.1 Series P2S (GRY)
Pin Wire Color Circuit No. Function
A LT BLU/WHT 1800 CKP Sensor 2 Signal
B YEL 573 CKP Sensor 1 Signal
C BLK/WHT 836 Low Reference
D WHT/BLK 644 12-Volt Reference
Engine Coolant Temperature (ECT) Sensor Terminal Identification

GM646176Courtesy of GENERAL MOTORS CORP.
Connector Part Information
  • 12162194
  • 2-Way F Metri-Pack 150.2 Series Pull to Seat Sealed (BLK)
Pin Wire Color Circuit No. Function
A BLK 470 Low Reference
B YEL 410 ECT Sensor Signal
Evaporative Emissions (EVAP) Canister Purge Solenoid Terminal Identification

GM684795Courtesy of GENERAL MOTORS CORP.
Connector Part Information
  • 12052643
  • 2-Way F Metri-Pack 150 Series Sealed (RED)
Pin Wire Color Circuit No. Function
A PNK 739 Ignition 1 Voltage
B DK GRN/
WHT
428 EVAP Canister Purge Solenoid Control
Evaporative Emissions (EVAP) Canister Vent Solenoid Terminal Identification

GM684829Courtesy of GENERAL MOTORS CORP.
Connector Part Information
  • 12124037
  • 2-Way F Metri-Pack 150 Series (BLK)
Pin Wire Color Circuit No. Function
A PNK 239 Ignition 1 Voltage
B WHT 1310 EVAP Canister Vent Solenoid Control
Exhaust Gas Recirculation (EGR) Valve Terminal Identification

GM684863Courtesy of GENERAL MOTORS CORP.
Connector Part Information
  • 12186057
  • 5-Way F Metri-Pack 150.2 P2S Series Sealed (BLK)
Pin Wire Color Circuit No. Function
A GRY/BLK 435 EGR Solenoid Low Control
B BLK 2753 Low Reference
C BRN 1456 EGR Valve Position Signal
D GRY 2702 5-Volt Reference
E RED 1676 EGR Solenoid High Control
Fuel Injector 1 Terminal Identification (L36)

GM366123Courtesy of GENERAL MOTORS CORP.
Connector Part Information
  • 15411634
  • 2-Way F Micro-Pack 64 Series Sealed (GRY)
Pin Wire Color Circuit No. Function
A PNK 639 Ignition 1 Voltage
B BLK 1744 Fuel Injector 1 Control
Fuel Injector 1 Terminal Identification (L67)

GM684833Courtesy of GENERAL MOTORS CORP.
Connector Part Information
  • 12129140
  • 2-Way F Metri-Pack 280.1 Series Pull to Seat Sealed (BLK)
Pin Wire Color Circuit No. Function
A PNK 639 Ignition 1 Voltage
B BLK 1744 Fuel Injector 1 Control
Fuel Injector 2 Terminal Identification (L36)

GM366123Courtesy of GENERAL MOTORS CORP.
Connector Part Information
  • 15411634
  • 2-Way F Micro-Pack 64 Series Sealed (GRY)
Pin Wire Color Circuit No. Function
A PNK 639 Ignition 1 Voltage
B LT GRN/BLK 1745 Fuel Injector 2 Control
Fuel Injector 2 Terminal Identification (L67)

GM684833Courtesy of GENERAL MOTORS CORP.
Connector Part Information
  • 12129140
  • 2-Way F Metri-Pack 280.1 Series Pull to Seat Sealed (BLK)
Pin Wire Color Circuit No. Function
A PNK 639 Ignition 1 Voltage
B LT GRN/BLK 1745 Fuel Injector 2 Control
Fuel Injector 3 Terminal Identification (L36)

GM366123Courtesy of GENERAL MOTORS CORP.
Connector Part Information
  • 15411634
  • 2-Way F Micro-Pack 64 Series Sealed (GRY)
Pin Wire Color Circuit No. Function
A PNK 639 Ignition 1 Voltage
B PNK/BLK 1746 Fuel Injector 3 Control
Fuel Injector 3 Terminal Identification (L67)

GM684833Courtesy of GENERAL MOTORS CORP.
Connector Part Information
  • 12129140
  • 2-Way F Metri-Pack 280.1 Series Pull to Seat Sealed (BLK)
Pin Wire Color Circuit No. Function
A PNK 639 Ignition 1 Voltage
B PNK/BLK 1746 Fuel Injector 3 Control
Fuel Injector 4 Terminal Identification (L36)

GM366123Courtesy of GENERAL MOTORS CORP.
Connector Par Information
  • 15411634
  • 2-Way F Micro-Pack 64 Series Sealed (GRY)
Pin Wire Color Circuit No. Function
A PNK 639 Ignition 1 Voltage
B LT BLU/BLK 844 Fuel Injector 4 Control
Fuel Injector 4 Terminal Identification (L67)

GM684833Courtesy of GENERAL MOTORS CORP.
Connector Part Information
  • 12129140
  • 2-Way F Metri-Pack 280.1 Series Pull to Seat Sealed (BLK)
Pin Wire Color Circuit No. Function
A PNK 639 Ignition 1 Voltage
B LT BLU/BLK 844 Fuel Injector 4 Control
Fuel Injector 5 Terminal Identification (L36)

GM366123Courtesy of GENERAL MOTORS CORP.
Connector Part Information
  • 15411634
  • 2-Way F Micro-Pack 64 Series Sealed (GRY)
Pin Wire Color Circuit No. Function
A PNK 639 Ignition 1 Voltage
B BLK/WHT 845 Fuel Injector 5 Control
Fuel Injector 5 Terminal Identification (L67)

GM684833Courtesy of GENERAL MOTORS CORP.
Connector Part Information
  • 12129140
  • 2-Way F Metri-Pack 280.1 Series Pull to Seat Sealed (BLK)
Pin Wire Color Circuit No. Function
A PNK 639 Ignition 1 Voltage
B BLK/WHT 845 Fuel Injector 5 Control
Fuel Injector 6 Terminal Identification (L36)

GM366123Courtesy of GENERAL MOTORS CORP.
Connector Part Information
  • 15411634
  • 2-Way F Micro-Pack 64 Series Sealed (GRY)
Pin Wire Color Circuit No. Function
A PNK 639 Ignition 1 Voltage
B YEL/BLK 846 Fuel Injector 6 Control
Fuel Injector 6 Terminal Identification (L67)

GM684833Courtesy of GENERAL MOTORS CORP.
Connector Part Information
  • 12129140
  • 2-Way F Metri-Pack 280.1 Series Pull to Seat Sealed (BLK)
Pin Wire Color Circuit No. Function
A PNK 639 Ignition 1 Voltage
B YEL/BLK 846 Fuel Injector 6 Control
Fuel Pump and Sender Assembly Terminal Identification

GM684908Courtesy of GENERAL MOTORS CORP.
Connector Part Information
  • 15326631
  • 4-Way F GT 280 Series Sealed (BLK)
Pin Wire Color Circuit No. Function
A BLK 150 Ground
B PPL 30 Fuel Gage Sensor Signal
C BLK/WHT 651 Low Reference
D GRY 120 Fuel Pump Supply Voltage
Fuel Tank Pressure (FTP) Sensor Terminal Identification

GM516611Courtesy of GENERAL MOTORS CORP.
Connector Part Information
  • 12059595
  • 3-Way F Metri-Pack 150 Series (BLK)
Pin Wire Color Circuit No. Function
A ORN/BLK 469 Low Reference
B DK GRN 890 Fuel Tank Pressure Sensor Signal
C GRY/BLK 416 5-Volt Reference
Heated Oxygen Sensor (HO2S) Sensor 1 Terminal Identification

GM456551Courtesy of GENERAL MOTORS CORP.
Connector Part Information
  • 12160482
  • 4-Way F Metri-Pack 150 Series Sealed (BLK)
Pin Wire Color Circuit No. Function
A BLK 808 Low Reference
B PPL 412 HO2S High Signal-Sensor 1
C BLK/WHT 3113 HO2S Heater Low Control-Sensor 1
D PNK 1039 Ignition 1 Voltage
Heated Oxygen Sensor (HO2S) Sensor 2 Terminal Identification

GM806613Courtesy of GENERAL MOTORS CORP.
Connector Part Information
  • 15326423
  • 4-Way M Metri-Pack 150 Series Sealed (GRY)
Pin Wire Color Circuit No. Function
A BLK 808 Low Reference
B PPL/WHT 1668 HO2S High Signal-Sensor 2
C BRN 3122 HO2S Heater Low Control-Sensor 2
D PNK 1039 Ignition 1 Voltage
Idle Air Control (IAC) Valve Terminal Identification

GM38608Courtesy of GENERAL MOTORS CORP.
Connector Part Information
  • 12162190
  • 4-Way F Metri-Pack 150.2 Sealed Pull to Seat (BLK)
Pin Wire Color Circuit No. Function
A LT GRN/BLK 444 IAC Coil B Low Control
B LT GRN/WHT 1749 IAC Coil B High Control
C LT BLU/BLK 1748 IAC Coil A Low Control
D LT BLU/WHT 1747 IAC Coil A High Control
Ignition Control Module (ICM) Terminal Identification

GM516619Courtesy of GENERAL MOTORS CORP.
Connector Part Information
  • 12124379
  • 14-Way F Metri-Pack 150.2 Series P2S Sealed (DK GRY)
Pin Wire Color Circuit No. Function
A WHT 423 IC Timing Control
B TAN/BLK 424 IC Timing Signal
C LT BLU/BLK 647 Medium Resolution Engine Speed Signal
D PPL/WHT 430 Low Resolution Engine Speed Signal
E WHT 121 Engine Speed Signal
F BLK 630 Camshaft Position Signal
G YEL 573 CKP Sensor 1 Signal
H LT BLU/WHT 1800 CKP Sensor 2 Signal
J BRN/WHT 633 CMP Sensor Signal
K BLK/WHT 451 Ground
L RED/BLK 453 Low Reference
M BLK/WHT 836 Low Reference
N WHT/BLK 644 12-Volt Reference
P PNK 239 Ignition 1 Voltage
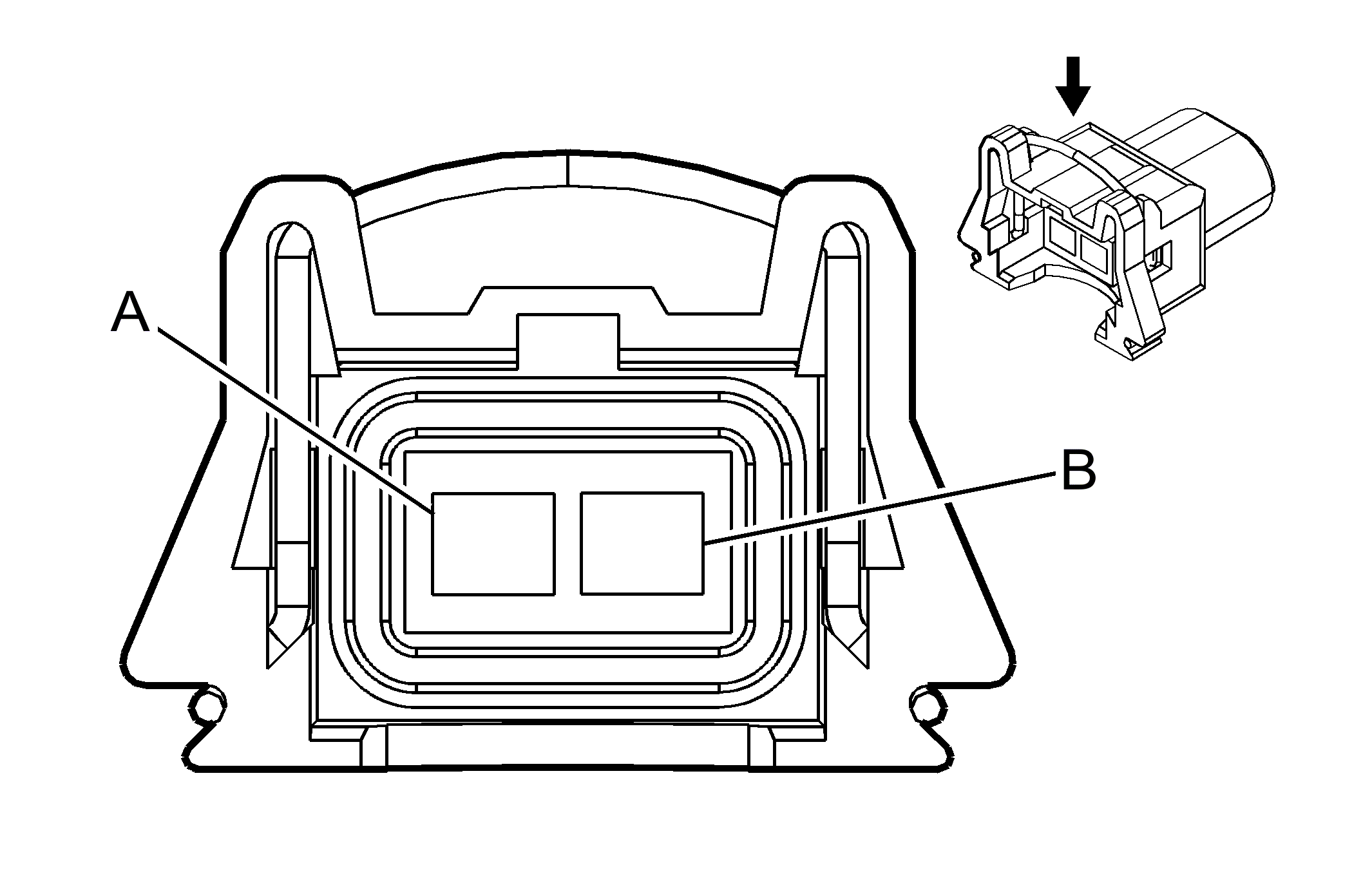
Intake Air Temperature (IAT) Sensor Terminal Identification

GM646180Courtesy of GENERAL MOTORS CORP.
Connector Part Information
  • 12162199
  • 2-Way F Metri-Pack 150.2 Series Sealed, Pull to Seat (GRY)
Pin Wire Color Circuit No. Function
A BLK 2760 Low Reference
B TAN 472 IAT Sensor Signal
Knock Sensor (KS) 1 Terminal Identification

GM95764Courtesy of GENERAL MOTORS CORP.
Connector Part Information
  • 12176800
  • 1-Way F Metri-Pack 150 Series Sealed (GRY)
Pin Wire Color Circuit No. Function
1 DK BLU 496 KS 1 Signal
Knock Sensor (KS) 2 Terminal Identification

GM95764Courtesy of GENERAL MOTORS CORP.
Connector Part Information
  • 12176800
  • 1-Way F Metri-Pack 150 Series Sealed (GRY)
Pin Wire Color Circuit No. Function
1 DK BLU 1876 KS 2 Signal
Manifold Absolute Pressure (MAP) Sensor (L36) Terminal Identification

GM684840Courtesy of GENERAL MOTORS CORP.
Connector Part Information
  • 12129946
  • 3-Way F Metri-Pack 150 Series Sealed (GRY)
Pin Wire Color Circuit No. Function
A ORN/BLK 469 Low Reference
B LT GRN 432 MAP Sensor Signal
C GRY 2704 5-Volt Reference
Manifold Absolute Pressure (MAP) Sensor (L67) Terminal Identification

GM280779Courtesy of GENERAL MOTORS CORP.
Connector Part Information
  • 12103771
  • 3-Way M Weather-Pack TWR (GRY)
Pin Wire Color Circuit No. Function
A ORN/BLK 469 Low Reference
B LT GRN 432 MAP Sensor Signal
C GRY 2704 5 Volt Reference
Mass Air Flow (MAF) Sensor Terminal Identification

GM516611Courtesy of GENERAL MOTORS CORP.
Connector Part Information
  • 12059595
  • 3-Way F Metri-Pack Sealed (BLK)
Pin Wire Color Circuit No. Function
A YEL 492 MAF Sensor Signal
B BLK/WHT 451 Ground
C PNK 739 Ignition 1 Voltage
Supercharger Boost Control Solenoid (L67) Terminal Identification

GM635009Courtesy of GENERAL MOTORS CORP.
Connector Part Information
  • 12052641
  • 2-Way F Metri-Pack Sealed (BLK)
Pin Wire Color Circuit No. Function
A PNK 739 Ignition 1 Voltage
B GRY 1724 Boost Control Solenoid Control
Throttle Position (TP) Sensor Terminal Identification

GM684807Courtesy of GENERAL MOTORS CORP.
Connector Part Information
  • 12110293
  • 3-Way F Metri-Pack 150 PS2 Series Sealed (BLK)
Pin Wire Color Circuit No. Function
A BLK 2752 Low Reference
B DK BLU 417 TP Sensor Signal
C GRY 2701 5-Volt Reference
Vehicle Speed Sensor (VSS) Terminal Identification

GM646406Courtesy of GENERAL MOTORS CORP.
Connector Part Information
  • 15336004
  • 2-Way F GT 150 Series Sealed (BLK)
Pin Wire Color Circuit No. Function
A PPL 401 VSS Low Signal
B YEL 400 VSS High Signal