LEMON Manuals: Even more car manuals for everyone: 1960-2025
Home >> Chevrolet >> 2004 >> Impala SS >> Repair and Diagnosis >> Engine Performance >> System >> Engine Control System 3.8L (Introduction) >> Repair Instructions >> Fuel Tank Replacement >> Installation Procedure
April 5, 2026: LEMON Manuals is launched! Read the announcement.

Installation Procedure

  1. Install the insulator pad on the fuel tank.
  2. Fig 1: Installing Insulator Pads
    GM12743Courtesy of GENERAL MOTORS CORP.
    NOTE: Refer to Nylon Pipes Notice in Cautions and Notices.
  3. Install the fuel feed, the fuel return, and the EVAP pipe assemblies.
  4. Install the EVAP canister. Refer to Evaporative Emission (EVAP) Canister Replacement .
  5. Install the fuel tank to a transmission jack.
  6. Fig 2: View OF Fuel Tank & EVAP Canister
    GM531026Courtesy of GENERAL MOTORS CORP.
  7. Raise the fuel tank (1) to the original position.
  8. NOTE: Refer to Fastener Notice in Cautions and Notices.
  9. Install the fuel tank strap bolts (2).

    Tighten:  Tighten the bolts to 47 N.m (35 lb ft).

  10. Remove the transmission jack.
  11. Fig 3: Installing Fuel Tank
    GM699556Courtesy of GENERAL MOTORS CORP.
  12. Install the fuel tank shield (3).
  13. Install the fuel tank shield push pins (2).
  14. Fig 4: Installing Fuel Tank Shield
    GM699555Courtesy of GENERAL MOTORS CORP.
  15. Connect the quick-connect fittings at the fuel filter area. Refer to Quick Connect Fitting(s) Service (Plastic Collar) .
  16. Fig 5: Connecting Fuel Feed & Fuel Return Pipes
    GM32401Courtesy of GENERAL MOTORS CORP.
  17. Connect the EVAP pipe at the front of the fuel tank.
  18. Connect the EVAP fresh air hose at the splice.
  19. Fig 6: Connecting EVAP Fresh Air Hose
    GM698635Courtesy of GENERAL MOTORS CORP.
  20. Install the fuel tank filler hose to the fuel tank.
  21. Fig 7: Fuel Tank Filler Hose
    GM155468Courtesy of GENERAL MOTORS CORP.
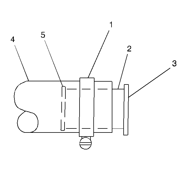
  22. Fully seat the filler hose (4) on the fuel tank port (2).
  23. Ensure the clamp (1) is properly located on the tank port between the bead (5) and the tank (3).

    Tighten:  Tighten the fuel tank filler pipe hose clamp to 2.5 N.m (22 lb in).

  24. Fig 8: Identifying Fuel Tank Components
    GM186674Courtesy of GENERAL MOTORS CORP.
  25. Install the exhaust pipe to the hangers.
  26. Lower the vehicle.
  27. Install the fuel sender assembly. Refer to Fuel Sender Assembly Replacement .
  28. Add fuel and install the fuel filler pipe cap.
  29. Connect the negative battery cable. Refer to Battery Negative Cable Disconnect/Connect Procedure in Engine Electrical.
  30. Inspect for fuel leaks using the following procedure:
    1. Turn ON the ignition, for 2 seconds.
    2. Turn OFF the ignition, for 10 seconds.
    3. Turn ON the ignition.
    4. Inspect for fuel leaks.