LEMON Manuals: Even more car manuals for everyone: 1960-2025
Home >> Chevrolet >> 2004 >> Impala SS >> Repair and Diagnosis >> Quick Lookups >> Wiring Diagrams >> OEM Connector End Views >> Connector End Views >> Radio Antenna Module Connector End View
April 5, 2026: LEMON Manuals is launched! Read the announcement.

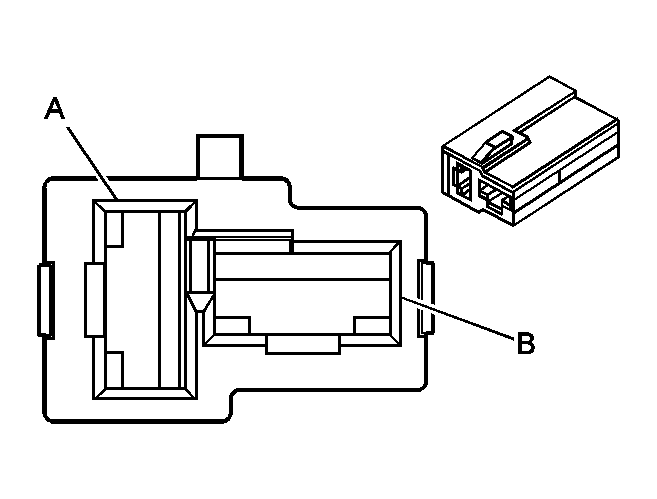
Radio Antenna Module Connector End View

Radio Antenna Module Connector End View

GM773245Courtesy of GENERAL MOTORS CORP.
Connector Part Information
  • 15359292
  • 2-Way F 58 Series (BLK)
Pin Wire Color Circuit No. Function
A WHT 1487 Antenna Enable Signal
B DK GRN 1927 Radio Antenna/Rear Window Defog Control Module Supply Voltage