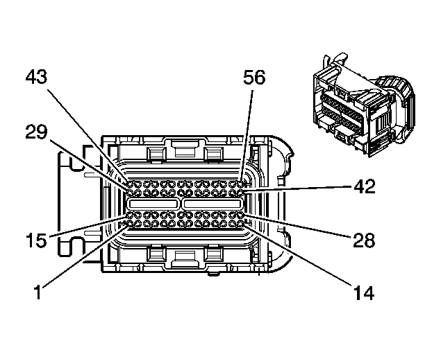
Powertrain Control Module (PCM) Connector End Views
Powertrain Control Module (PCM) C1 Connector End View
| Connector Part Information |
|
||
|---|---|---|---|
| Pin | Wire Color | Circuit No. | Function |
| 1 | TN/BK | 2500 | High Speed GMLAN Serial Data (+) |
| 2 | TN | 2501 | High Speed GMLAN Serial Data (-) |
| 3-5 | - | - | Not Used |
| 6 | D-GN/WH | 459 | A/C Compressor Clutch Relay Control |
| 7 | BN | 1271 | Low Reference |
| 8 | TN | 1274 | 5-Volt Reference |
| 9 | - | - | Not Used |
| 10 | D-GN | 335 | Low Speed Cooling Fan Relay Control |
| 11 | - | - | Not Used |
| 12 | PU | 1589 | Fuel Level Sensor Signal |
| 13 | PK/BK | 5290 | Ignition 1 Voltage |
| 14 | - | - | Not Used |
| 15 | PU | 1807 | Class 2 Serial Data |
| 16 | - | - | Not Used |
| 17 | GY | 2700 | 5-Volt Reference |
| 18 | BN | 4 | Accessory Voltage |
| 19 | PK | 639 | Ignition 1 Voltage |
| 20 | RD/WH | 540 | Battery Positive Voltage |
| 21 | - | - | Not Used |
| 22 | WH | 1310 | EVAP Canister Vent Solenoid Control |
| 23 | - | - | Not Used |
| 24 | D-GN | 890 | Fuel Tank Pressure Sensor Signal |
| 25 | - | - | Not Used |
| 26 | OG/BK | 380 | A/C Refrigerant Pressure Sensor Signal |
| 27 | D-BU | 1161 | APP Sensor 1 Signal |
| 28 | - | - | Not Used |
| 29 | OG/BK | 1057 | Low Reference |
| 30 | WH/BK | 1164 | 5-Volt Reference |
| 31 | - | - | Not Used |
| 32 | WH | 17 | Stop Lamp Switch Signal |
| 33-36 | - | - | Not Used |
| 37 | D-GN/WH | 465 | Fuel Pump Relay Control |
| 38 | BN | 5069 | Main Relay Control |
| 39 | - | - | Not Used |
| 40 | BN/WH | 419 | MIL Control |
| 41 | L-BU | 1162 | APP Sensor 2 Signal |
| 42 | - | - | Not Used |
| 43 | PU | 1272 | Low Reference |
| 44 | - | - | Not Used |
| 45 | PU | 5526 | Tap Up/Tap Down Switch Signal |
| 46 | - | - | Not Used |
| 47 | GY | 705 | 5-Volt Reference |
| 48 | YE | 447 | Starter Relay Coil Control |
| 49-50 | - | - | Not Used |
| 51 | D-BU | 473 | High Speed Cooling Fan Relay Control |
| 52-53 | - | - | Not Used |
| 54 | PU/WH | 1035 | Starter Relay Coil Supply Voltage |
| 55 | OG/BK | 1057 | Low Reference |
| 56 | TN | 5514 | Low Reference |
Powertrain Control Module (PCM) C2 Connector End View
| Connector Part Information |
|
||
|---|---|---|---|
| Pin | Wire Color | Circuit No. | Function |
| 1 | OG | 225 | Generator Turn On Signal |
| 2 | D-GN | 485 | TP Sensor 1 Signal |
| 3-5 | - | - | Not Used |
| 6 | GY | 2701 | 5-Volt Reference |
| 7 | PU | 486 | TP Sensor 2 Signal |
| 8 | GY | 2704 | 5-Volt Reference |
| 9 | L-BU/BK | 1688 | 5-Volt Reference |
| 10-16 | - | - | Not Used |
| 17 | YE | 573 | Crankshaft Position Sensor Signal (1) |
| 18 | PU | 574 | Crankshaft Position Sensor Low Reference (1) |
| 19 | - | - | Not Used |
| 20 | OG/BK | 469 | CKP Sensor B Signal |
| 21-24 | - | - | Not Used |
| 25 | TN/WH | 3121 | HO2S Low Signal Bank 1 Sensor 2 |
| 26 | BN/WH | 633 | Camshaft Position Signal |
| 27-31 | - | - | Not Used |
| 32 | TN/WH | 3111 | HO2S Low Reference Bank 1 Sensor 1 |
| 33 | TN | 1744 | Fuel Injector 1 Control |
| 34 | - | - | Not Used |
| 35 | YE | 410 | ECT Sensor Signal |
| 36 | TN/WH | 1704 | Low Reference |
| 37 | L-GN | 432 | MAP Sensor Signal |
| 38 | - | - | Not Used |
| 39 | TN | 2752 | Low Reference |
| 40 | WH | 423 | IC Timing Control |
| 41 | YE | 492 | MAF Sensor Signal |
| 42 | - | - | Not Used |
| 43 | GY/WH | 3122 | HO2S Heater Low Control Sensor 1 |
| 44 | - | - | Not Used |
| 45 | GY | 23 | Generator Field Duty Cycle Signal |
| 46 | PU | 3120 | HO2S High Signal Sensor 2 |
| 47 | - | - | Not Used |
| 48 | PU/WH | 3110 | HO2S Reference Voltage Sensor 1 |
| 49-50 | - | - | Not Used |
| 51 | TN | 472 | IAT Sensor Signal |
| 52 | TN | 2761 | Low Reference |
| 53 | PK/BK | 1746 | Fuel Injector 3 Control |
| 54 | L-GN/BK | 1745 | Fuel Injector 2 Control |
| 55 | L-BU/BK | 844 | Fuel Injector 4 Control |
| 56-57 | - | - | Not Used |
| 58 | GY/WH | 3113 | HO2S Heater Low Control Sensor 1 |
| 59 | OG | 406 | IC Timing Control B |
| 60-63 | - | - | Not Used |
| 64 | TN/BK | 2760 | Low Reference |
| 65 | BN | 582 | TAC Motor Control 2 |
| 66 | YE | 581 | TAC Motor Control 1 |
| 67 | - | - | Not Used |
| 68 | D-BU | 496 | Knock Sensor Signal |
| 69 | GY | 1716 | Low Reference |
| 70-72 | - | - | Not Used |
| 73 | BK/WH | 451 | Ground |
Powertrain Control Module (PCM) C3 Connector End View
| Connector Part Information |
|
||
|---|---|---|---|
| Pin | Wire Color | Circuit No. | Function |
| 1 | - | - | Not Used |
| 2 | GY | 773 | Transmission Range Switch Signal C |
| 3-5 | - | - | Not Used |
| 6 | OG/BK | 1228 | PC Solenoid Valve High Control (Sol. A) |
| 7 | YE/BK | 1227 | TFT Sensor Signal |
| 8-10 | - | - | Not Used |
| 11 | OG/BK | 1230 | AT ISS High Signal |
| 12-14 | - | - | Not Used |
| 15 | TN/BK | 231 | Oil Pressure Switch Signal |
| 16 | - | - | Not Used |
| 17 | TN | 2762 | Low Reference |
| 18-19 | - | - | Not Used |
| 20 | TN/WH | 771 | Transmission Range Switch Signal A |
| 21-28 | - | - | Not Used |
| 29 | YE | 657 | Transmission Fluid Pressure Sensor Signal |
| 30 | OG | 1226 | Transmission Fluid Pressure Switch Signal C |
| 31-32 | - | - | Not Used |
| 33 | L-GN | 1222 | Shift Solenoid Valve 1 High Control |
| 34 | - | - | Not Used |
| 35 | YE/BK | 1223 | Shift Solenoid Valve 2 High Control |
| 36 | - | - | Not Used |
| 37 | D-GN/WH | 428 | EVAP Canister Purge Solenoid Control |
| 39 | BN | 418 | TCC PWM Solenoid Valve Control |
| 40-42 | - | - | Not Used |
| 43 | D-BU | 1225 | Transmission Fluid Pressure Switch Signal B |
| 44 | PU | 401 | Vehicle Speed Sensor Low Reference |
| 45 | YE | 400 | Vehicle Speed Sensor Signal |
| 46-47 | - | - | Not Used |
| 48 | L-BU/WH | 1229 | PC Solenoid Valve Low Control (Sol. A) |
| 49 | D-BU/WH | 1231 | A/T ISS Low Signal |
| 50 | YE | 772 | Transmission Range Switch Signal B |
| 51 | - | - | Not Used |
| 52 | WH | 776 | Transmission Range Switch Signal P |
| 53-56 | - | - | Not Used |