LEMON Manuals: Even more car manuals for everyone: 1960-2025
Home >> Chevrolet >> 2004 >> S10 Pickup >> Repair and Diagnosis >> Engine Performance >> System >> Engine Control System - 4.3L (Introduction) >> Repair Instructions >> Distributor Replacement >> Removal Procedure
April 5, 2026: LEMON Manuals is launched! Read the announcement.

Removal Procedure

NOTE: There are two procedures available to install the distributor.
Use Installation Procedure 1 when the crankshaft has NOT been rotated from the original position.
Use Installation Procedure 2 when any of the following components are removed:
  • The intake manifold
  • The cylinder head
  • The camshaft
  • The timing chain or sprockets
  • The complete engine

If the malfunction indicator lamp (MIL) turns on and DTC P1345 sets after installing the distributor, this indicates an incorrectly installed distributor.
Engine damage or distributor damage may occur. Use Procedure 2 in order to install the distributor.
  1. Turn OFF the ignition.
  2. Remove air cleaner assembly. Refer to Air Cleaner Assembly Replacement .
  3. Remove the spark plug wires from the distributor cap.
    • Twist each spark plug boot 1/2 turn.
    • Pull only on the wire boot in order to remove the wire from the distributor cap.
  4. Remove the electrical connector from the base of the distributor.
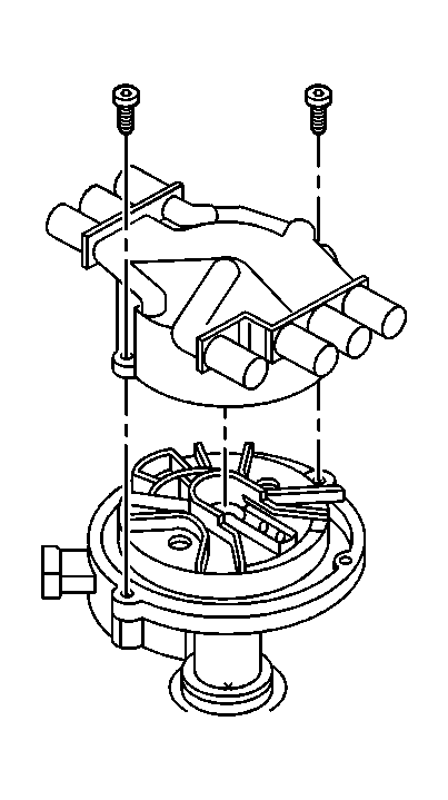
  5. Fig 1: View Of Distributor Cap
    GM301393Courtesy of GENERAL MOTORS CORP.
  6. Remove the 2 screws that hold the distributor cap to the housing.
  7. Discard the screws.
  8. Remove the distributor cap from the housing.
  9. Fig 2: Marking Position Of Rotor In Relation To Distributor Housing
    GM4373Courtesy of GENERAL MOTORS CORP.
  10. Use a grease pencil in order to note the position of the rotor in relation to the distributor housing (1).
  11. Mark the distributor housing and the intake manifold with a grease pencil.
  12. Remove the mounting clamp hold down bolt.
  13. Fig 3: View Of Distributor
    GM34397Courtesy of GENERAL MOTORS CORP.
  14. Remove the distributor.
  15. Fig 4: Locating Second Position
    GM4376Courtesy of GENERAL MOTORS CORP.
  16. As the distributor is being removed from the engine, watch the rotor move in a counter-clockwise direction about 42 degrees. This will appear as slightly more than 1 clock position.
  17. Note the position of the rotor segment.
  18. Place a second mark on the base of the distributor (2). This will aid in achieving proper rotor alignment during the distributor installation.