LEMON Manuals: Even more car manuals for everyone: 1960-2025
Home >> Chevrolet >> 2004 >> Tracker RWD >> Repair and Diagnosis >> Engine Performance >> System >> Engine Control System - 2.0L (Introduction) >> Repair Instructions >> Fuel Tank Pressure Sensor Replacement >> Installation Procedure
April 5, 2026: LEMON Manuals is launched! Read the announcement.

Installation Procedure

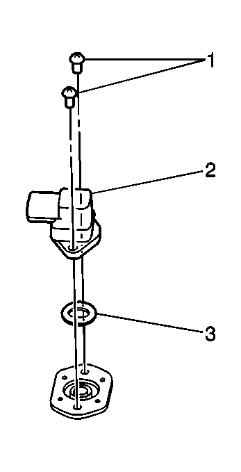
  1. Install the fuel tank pressure sensor (2) with a new o-ring seal (3) to the fuel tank.
  2. NOTE: Refer to Fastener Notice in Cautions and Notices.
  3. Secure the fuel tank pressure sensor with the two fasteners (1).

    Tighten:  Tighten the fasteners to 3.5 N.m (30 lb in).

  4. Connect the electrical connector to the fuel tank pressure sensor.
  5. Install the fuel tank. Refer to Fuel Tank Replacement .
  6. Fig 1: View Of Fuel Tank Sensor, O-Ring Seal & Fasteners
    GM683995Courtesy of GENERAL MOTORS CORP.