LEMON Manuals: Even more car manuals for everyone: 1960-2025
Home >> Chevrolet >> 2004 >> Venture Base, Van Cargo Extended >> Repair and Diagnosis >> Body & Frame >> Windows >> Door System, Mirror System & Window System >> Component Locator >> Power Door Systems Component Views
April 5, 2026: LEMON Manuals is launched! Read the announcement.

Power Door Systems Component Views

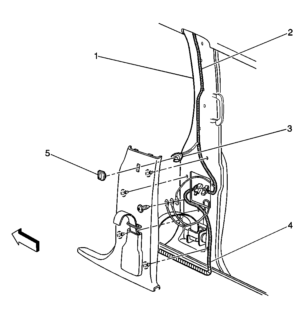
Fig 1: RH B-Pillar
GM589901Courtesy of GENERAL MOTORS CORP.
Callout Component Name
1 RH B-Pillar
2 Dome Lamp Harness
3 Power Sliding Door Open/Close Switch Connector
4 Body Harness
5 Power Sliding Door Open/Close Switch
Fig 2: Right Quarter Panel (LH Side Similar)
GM589904Courtesy of GENERAL MOTORS CORP.
Callout Component Name
1 Sliding Door Jamb Switch-Right
2 Body Harness
3 Right Rear Side Door Actuator Control Module Alarm
4 Right Rear Side Door Actuator Control Module
5 Right Rear Side Door Actuator Control Module Connector C3 to Clutch in Rear Side Door Actuator Motor
6 Right Rear Side Door Actuator Control Module Connector C4 to Cable Motor in Rear Side Door Actuator Motor
7 Right Rear Side Door Actuator Control Module Connector C1
8 Right Rear Side Door Actuator Control Module Connector C2
9 Right Rear Side Door Actuator Control Module Connector C5 to Optical Sensor in Door Actuator-Rear
Fig 3: RF Door - LH Side Similar
GM447241Courtesy of GENERAL MOTORS CORP.
Callout Component Name
1 Door Lock Actuator C1 - Front Passenger - LH Side Similar
2 Front Passenger Door - LH Side Similar
3 Door Lock - Front Passenger - Ajar Indicator Switch - LH Side Similar
4 Door Lock Actuator C2 - Front Passenger - LH Side Similar
Fig 4: LF Door - RH Side Similar
GM589906Courtesy of GENERAL MOTORS CORP.
Callout Component Name
1 Pigtail Connector to Outside Rearview Mirror-Driver - Mirror Motor Pack and Heated Defogger - RH Side Similar
2 Pass Through P500 - P600 Similar
3 Window Motor-Driver - RH Similar
4 LF Door Harness - RH Similar
Fig 5: RF Door - LF Door Similar
GM447248Courtesy of GENERAL MOTORS CORP.
Callout Component Name
1 Front Passenger Door Handle - LH Side Similar
2 Door Lock Cylinder Switch - Front Passenger - LH Side Similar
3 Front Passenger Door - LH Side Similar
4 Front Passenger Door Harness - LH Side Similar
5 Pigtail Connector to Door Lock Cylinder Switch - LH Side Similar
Fig 6: RH Sliding Door (LH Similar)
GM589908Courtesy of GENERAL MOTORS CORP.
Callout Component Name
1 Rear Sliding Door Harness
2 Door Lock Actuator-RR
3 Side Door-RR
4 Power Sliding Door Unlatch Actuator-Right
5 Power Sliding Door Detent Switch-Right
6 Body Harness
7 Sliding Door Jamb Switch-Right
Fig 7: RH Sliding Door
GM447397Courtesy of GENERAL MOTORS CORP.
Callout Component Name
1 RH B-Pillar
2 RH Sliding Door
3 Door Lock Switch Plate-Right (Pillar Mounted, Striker)
4 Door Lock Switch Plate-Right (Door Mounted, Plunger)
5 Striker Pin (G), Plunger Pin (G) (PSD Unlatch Actuator)
6 Striker Pin (F), Plunger Pin (F) (PSD Detent Switch)
7 Striker Pin (E), Plunger Pin (E) (PSD Detent Switch)
8 Striker Pin (C), Plunger Pin (C) (Ground)
9 Striker Pin (D), Plunger Pin (D) (Ground)
10 Striker Pin (A), Plunger Pin (A) (Door Lock Actuator Feed)
11 Striker Pin (B), Plunger Pin (B) (Door Unlock Actuator Feed)
Fig 8: LH Sliding Door
GM447399Courtesy of GENERAL MOTORS CORP.
Callout Component Name
1 LH B-Pillar
2 LH Sliding Door
3 Door Lock Switch Plate-Left (Door Mounted, Plunger)
4 Door Lock Switch Plate-Left (Pillar Mounted, Striker)
5 Striker Pin (E), Plunger Pin (E) (Not Used)
6 Striker Pin (F), Plunger Pin (F) (Not Used)
7 Striker Pin (D), Plunger Pin (D) (Not Used)
8 Striker Pin (B), Plunger Pin (B) (Door Unlock Actuator Motor)
9 Striker Pin (A), Plunger Pin (A) (Door Lock Actuator Motor)
Fig 9: LF Door Trim Panel
GM447400Courtesy of GENERAL MOTORS CORP.
Callout Component Name
1 Outside Rearview Mirror Switch
2 Door Lock Switch-Driver - Front Passenger Similar
3 Window Switch-Driver - Front Passenger Similar
4 Outside Rearview Mirror Switch Connector
5 Door Lock Switch-Driver Connector
6 Window Switch-Driver Connector
Fig 10: LH Body Side Rear Window - RH Similar
GM447284Courtesy of GENERAL MOTORS CORP.
Callout Component Name
1 Body Harness
2 LH Body Side Rear Window
3 Rear Quarter Window Actuator-Left