LEMON Manuals: Even more car manuals for everyone: 1960-2025
Home >> Chevrolet >> 2004 >> Venture Base, Van Passenger Extended >> Repair and Diagnosis >> Electrical >> Charging Systems >> Battery, Charging System And Starting System >> Component Locator >> Engine Electrical Connector End Views
April 5, 2026: LEMON Manuals is launched! Read the announcement.

Engine Electrical Connector End Views

Generator Connector End Views

GM289326Courtesy of GENERAL MOTORS CORP.
Connector Part Information
  • 12186568
  • 4-Way F Metric-Pack 150 Series (LT GRN)
Pin Wire Color Circuit No. Function
A - - Not Used
B RED 225 Generator Turn On Signal
C - - Not Used
D ORN 2740 Battery Positive Voltage
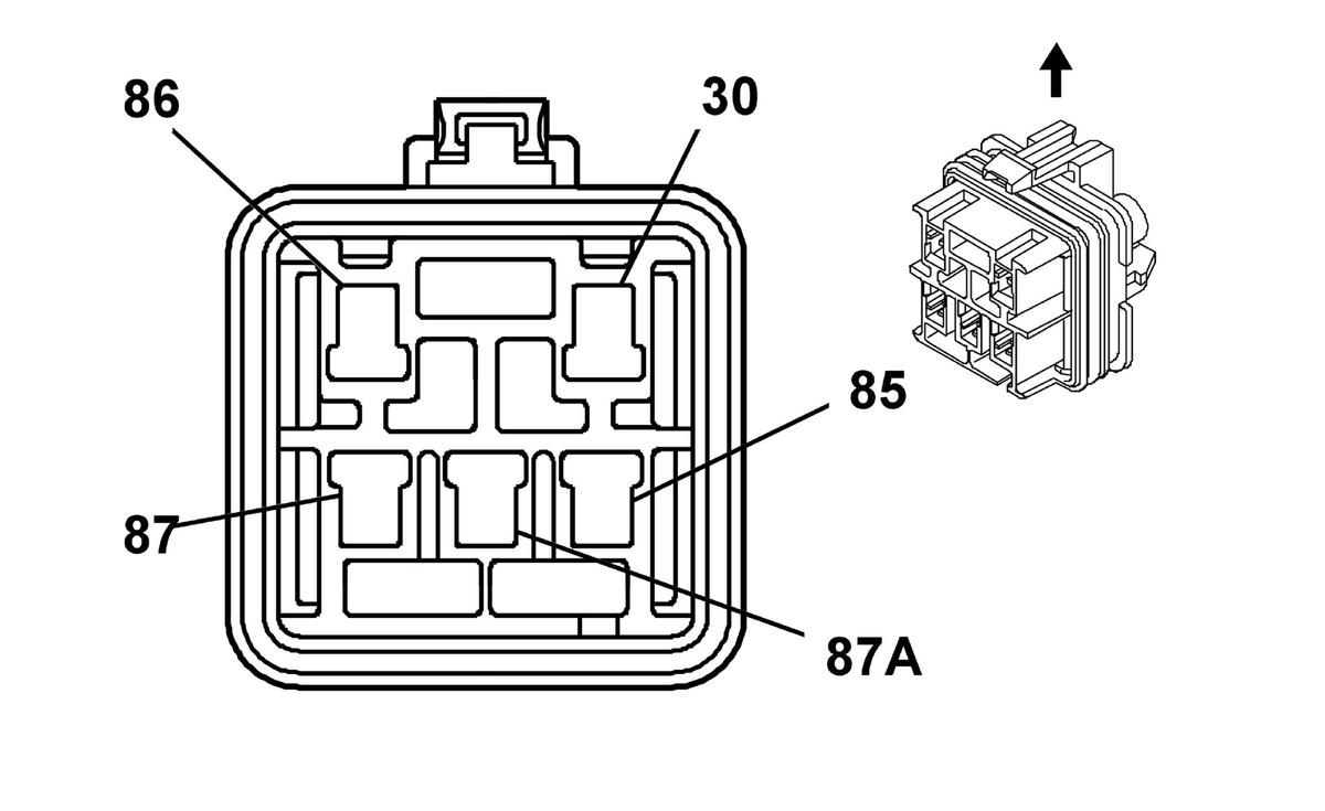
Starter Relay Connector End Views

GM535919Courtesy of GENERAL MOTORS CORP.
Connector Part Information
  • 12110539
  • 5 F Metri-pack 280 FLX LK (BLK)
Pin Wire Color Circuit No. Function
30 RED 402 Fused Output
85 PNK 439 Ignition 1 Voltage
86 YEL/BLK 625 Starter Enable Relay Output - Coil
87 PPL 6 Starter Solenoid Feed
87A - - Not Used