LEMON Manuals: Even more car manuals for everyone: 1960-2025
Home >> Chevrolet >> 2005 >> Cavalier L4-2.2L VIN F >> Repair and Diagnosis >> Diagrams >> Exploded Views >> Automatic Transmission/Transaxle >> System Diagram >> Overhaul (Unit Repair) >> Final Drive and Differential Assembly
April 5, 2026: LEMON Manuals is launched! Read the announcement.

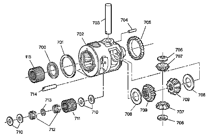
Final Drive and Differential Assembly

Final Drive and Differential Assembly

Final Drive and Differential Assembly:





115 - Sun Gear (Final Drive)
700 - Thrust Bearing
701 - Spiral Pin Retaining Ring
702 - Differential and Final Drive Carrier
703 - Differential Pinion Shaft
704 - Differential Pinion Shaft Retaining Pin
705 - Speed Sensor Rotor
706 - Thrust Washer (Differential Pinion)
706 - Thrust Washer (Differential Pinion)
707 - Differential Pinion Gear
707 - Differential Pinion Gear
708 - Thrust Washer (Differential Side Gear)
708 - Thrust Washer (Differential Side Gear)
709 - Differential Side Gear
709 - Differential Side Gear
710 - Pinion Thrust Washer
710 - Pinion Thrust Washer
711 - Pinion Gear (Final Drive Planetary)
712 - Roller Needle Bearing
713 - Pinion Needle Bearing Spacer
714 - Planetary Pinion Gear Pin