LEMON Manuals: Even more car manuals for everyone: 1960-2025
Home >> Chevrolet >> 2005 >> Cavalier L4-2.2L VIN F >> Repair and Diagnosis >> Diagrams >> Exploded Views >> Automatic Transmission/Transaxle >> System Diagram >> Overhaul (Unit Repair) >> Oil Pump Assembly
April 5, 2026: LEMON Manuals is launched! Read the announcement.

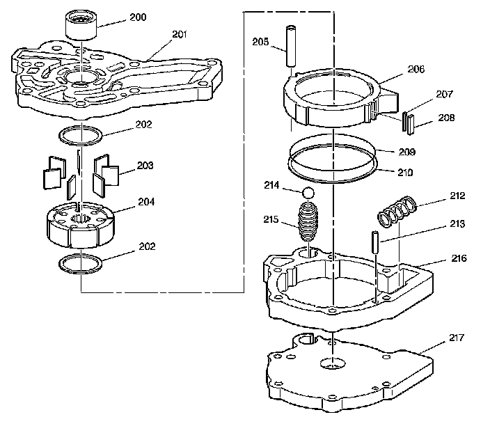
Oil Pump Assembly

Oil Pump Assembly

Oil Pump Assembly:





200 - Oil Pump Bearing and Seal Assembly
201 - Oil Pump Base
202 - Oil Pump Vane Ring
202 - Oil Pump Vane Ring
203 - Oil Pump Vane
204 - Oil Pump Rotor
205 - Pivot Pin (Oil Pump Slide)
206 - Oil Pump Slide
207 - Oil Pump Slide Seal Support
208 - Oil Pump Slide Seal
209 - O-Ring Seal (Oil Pump Slide)
210 - Fluid Seal Ring (Slide to Body)
212 - Oil Pump Priming Spring
213 - Locating Pin
214 - Pressure Relief Ball
215 - Pressure Relief Spring
216 - Oil Pump Body
217 - Pump Cover