LEMON Manuals: Even more car manuals for everyone: 1960-2025
Home >> Chevrolet >> 2005 >> Epica LS >> Repair and Diagnosis (Single Page) >> Engine Performance >> System >> Engine Control System - 2.0L (L34 GMDAT) - ECM Connector End Views >> Visual Identification >> Engine Control Module (ECM) Connector End Views
April 5, 2026: LEMON Manuals is launched! Read the announcement.

Engine Control Module (ECM) Connector End Views

Engine Control Module (ECM) - MR-140 - European Emissions - K

GM1466972Courtesy of GENERAL MOTORS CORP.
Connector Part Information
  • AMP 1-368434-2
  • 64-Way F ECU 64P Conn Ass'y (32-bit-B) (BN)
Pin Wire Color Circuit Number Function
K1 OG 440 Battery Positive Voltage
K2-K5 - - Not Used
K6 D-GN/WH 817 Vehicle Speed Signal
K7-K11 - - Not Used
K12 D-BU 473 High Speed Cooling Fan Relay Control
K13 - - Not Used
K14 YE/BK 1921 CAN Serial Data High
K15 WH/BK 1922 CAN Serial Data Low
K16 BK 1654 Heated Oxygen Sensor (HO2S) 1 Heater Control
K17 OG 440 Battery Positive Voltage
K18 PK/D-BU 539 Ignition 1 Voltage
K19-K20 - - Not Used
K21 D-BU/BK 480 Rough Road Sensor Signal
K22 RD/D-BU 380 A/C Pressure Sensor Signal
K23-K24 - - Not Used
K25 WH 121 Engine Speed Signal
K26-K27 - - Not Used
K28 D-GN 335 Low Speed Cooling Fan Relay Control
K29 PU/WH 67 A/C Clutch Relay Control
K30 PU 130 Fuel Gage Control
K31 - - Not Used
K32 D-GN/BK 2905 Keyword Serail Data
K33 - - Not Used
K34 BK/WH 1750 Low Reference
K35 D-GN/WH 762 A/C Request Signal
K36 D-BU/WH 1668 Heated Oxygen Sensor (HO2S) 2 Signal
K37-K49 - - Not Used
K50 OG/BK 605 5-Volt Reference
K51 D-BU 1936 Fuel Level Sensor Signal
K52 - - Not Used
K53 L-BU/WH 1669 Heated Oxygen Sensor (HO2S) 2 Low Reference
K54 D-GN/WH 465 Fuel Pump Relay Control
K55-K63 - - Not Used
K64 BN/WH 419 Malfunction Indicator Lamp (MIL) Control
Engine Control Module (ECM) - MR-140 - European Emissions - M

GM1481262Courtesy of GENERAL MOTORS CORP.
Connector Part Information
  • AMP 0-68434-1
  • 64-Way F ECU 64P Conn Ass'y (32-bit-B) (BN)
Pin Wire Color Circuit Number Function
M1 D-BU/WH 406 Ignition Coil 2 and 3 Control
M2 BK 1654 Heated Oxygen Sensor (HO2S) 2 Heater Control
M3 PK/WH 739 Ignition 1 Voltage
M4 D-GN/WH 428 EVAP Canister Purge Valve Solenoid Control
M5 YE/BK 1868 Low Reference
M6 D-BU 417 Throttle Position (TP) Sensor Signal
M7 BN 472 Intake Air Temperature (IAT) Sensor Signal
M8 L-GN 432 Manifold Absolute Pressure (MAP) Sensor Signal
M9 BN 1456 Exhaust Gas Recirculation (EGR) Valve Position Sensor Signal
M10 - - Not Used
M11 D-BU/BK 844 Fuel Injector 4 Control
M12 GY 1653 Heated Oxygen Sensor (HO2S) 1 Signal
M13 L-BU/WH 1747 Idle Air Control (IAC) A High Control
M14 L-GN/BK 444 Idle Air Control (IAC) B Low Control
M15 L-BU/BK 1748 Idle Air Control (IAC) A Low Control
M16 OG/BK 469 5-Volt Reference
M17 - - Not Used
M18 YE/BK 496 Knock Sensor (KS) Signal
M19 GY 435 Exhaust Gas Recirculation (EGR) Valve Control
M20 - - Not Used
M21 D-BU/WH 1869 Crankshaft Position (CKP) Sensor Signal
M22 L-GN/BK 1745 Fuel Injector 2 Control
M23 - - Not Used
M24 RD/BK 1746 Fuel Injector 3 Control
M25 RD 1744 Fuel Injector 1 Control
M26 BN/WH 633 Camshaft Position (CMP) Sensor Signal
M27 - - Not Used
M28 YE 410 Engine Coolant Temperature (ECT) Signal
M29 RD 1665 Heated Oxygen Sensor (HO2S) 1 Low Reference
M30 L-GN/WH 1749 Idle Air Control (IAC) B High Control
M31 - - Not Used
M32 OG/BK 416 5-Volt Reference
M33 D-BU/WH 406 Ignition Coil 2 and 3 Control
M34 - - Not Used
M35 D-GN/WH 423 Ignition Coil 1 and 4 Control
M36 - - Not Used
M37 BK/WH 251 Ground
M38 BK/WH 251 Ground
M39 BK/WH 251 Ground
M40 BK/WH 251 Ground
M41 BK/WH 251 Ground
M42-M47 - - Not Used
M48 L-BU/BK 1688 Low Reference
M49-M50 - - Not Used
M51 D-GN/WH 423 Ignition Coil 1 and 4 Control
M52 GY 435 Exhaust Gas Recirculation (EGR) Valve Control
M53-M63 - - Not Used
M64 D-BU/BK 808 Low Reference
Engine Control Module (ECM) - A-B - Non European Emissions

GM258912Courtesy of GENERAL MOTORS CORP.
Connector Part Information
  • PED 12110113
  • 32-Way F Micro-Pack 100 Series (RD)
Pin Wire Color Circuit Number Function
A1 L-BU/WH 1747 Idle Air Control (IAC) A High Control
A2 YE/BK 1748 Idle Air Control (IAC) A Low Control
A3 L-GN/BK 444 Idle Air Control (IAC) B Low Control
A4 L-GN/WH 1749 Idle Air Control (IAC) B High Control
A5 - - Not Used
A6 OG 440 Battery Positive Voltage
A7 L-GN 432 Manifold Absolute Pressure (MAP) Sensor Signal
A8 D-GN/WH 762 A/C Request Signal
A9 D-BU/D-GN 3003 Throttle Position (TP) Sensor Signal
A10 D-GN 335 Low Speed Cooling Fan Relay Control
A11 - - Not Used
A12 D-GN/WH 465 Fuel Pump Relay Control
A13 D-GN/WH 428 EVAP Canister Purge Valve Solenoid Control
A14 D-BU 473 High Speed Cooling Fan Relay Control
A15 PU/WH 67 A/C Compressor Clutch Coil Supply Voltage
A16 YE/BK 1868 Low Reference
B1 BK/WH 251 Ground
B2 BK 808 Low Reference
B3 YE 410 Engine Coolant Temperature (ECT) Sensor Signal
B4 BN 472 Intake Air Temperature (IAT) Sensor Signal
B5-B7 - - Not Used
B8 OG/BK 434 Automatic Transmission Shift Lock Control
B9 WH/BK 448 Keyword Serial Data - Engine Control Module (ECM)
B10 BN/WH 419 Malfunction Indicator Lamp (MIL) Control
B11 - - Not Used
B12 YE 1410 Delivered Torque Signal
B13 WH 121 Engine Speed Signal
B14 D-BU/WH 1869 Crankshaft Position (CKP) Sensor Signal
B15-B16 - - Not Used
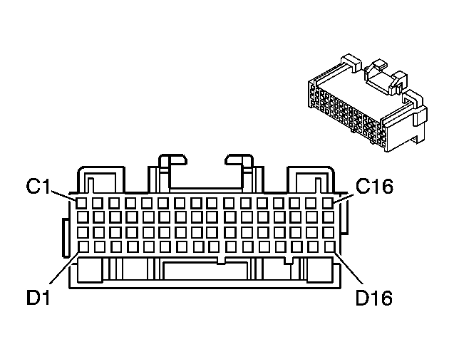
Engine Control Module (ECM) - C-D - Non European Emissions

GM1501865Courtesy of GENERAL MOTORS CORP.
Connector Part Information
  • PED 12110114
  • 32-Way F Micro-Pack 100 Series (WH)
Pin Wire Color Circuit Number Function
C1-C3 - - Not Used
C4 BK 1744 Fuel Injector 1 and 4 Control
C5 - - Not Used
C6 L-GN/BK 1745 Fuel Injector 2 and 3 Control
C7 BK/WH 251 Ground
C8 - - Not Used
C9 WH 1653 Oxygen Sensor Low Reference
C10 GY/BK 3015 Requested Torque Signal
C11 D-BU/WH 496 Knock Sensor (KS) Signal
C12 - - Not Used
C13 D-BU/BK 1813 Octane Selection Switch
C14 WH 423 Ignition Coil 1 and 4 Control
C15 RD/BK 380 A/C Pressure Sensor Signal
C16 PK/D-BU 539 Ignition 1 Voltage
D1 - - Not Used
D2 PU/WH 1666 CO Potentiometer Signal
D3-D4 - - Not Used
D5 D-BU 417 Throttle Position (TP) Sensor Signal
D6 BN 1812 Octane Selection Switch
D7 BK/WH 251 Ground
D8 L-BU/BK 1688 Low Reference
D9 PU/WH 1665 Oxygen Sensor Signal
D10 D-GN/WH 817 Vehicle Speed Signal
D11 YE/BK 800 Serial Data
D12-D13 - - Not Used
D14 OG 406 Ignition Coil 2 and 3 Control
D15 OG/BK 469 Reference Low
D16 BK/WH 251 Ground