LEMON Manuals: Even more car manuals for everyone: 1960-2025
Home >> Chevrolet >> 2005 >> Epica LS >> Repair and Diagnosis >> Engine Performance >> System >> Engine Control System - 2.0L (L34 GMDAT) - Engine Controls Connector End Views >> Component Locator >> Engine Controls Connector End Views
April 5, 2026: LEMON Manuals is launched! Read the announcement.

Engine Controls Connector End Views

Camshaft Position (CMP) Sensor

GM1467004Courtesy of GENERAL MOTORS CORP.
Connector Part Information
  • AMP 85205-1
  • 3-Way F JR Power Timer 3P Hsg Ass'y (BK)
Pin Wire Color Circuit Number Function
1 BN/WH 633 Camshaft Position (CMP) Sensor Signal
2 BK/WH 251 Ground
3 PK/BK 1846 Ignition 1 Voltage
CO Potentiometer (Leaded Fuel)

GM1467004Courtesy of GENERAL MOTORS CORP.
Connector Part Information
  • AMP 85205-1
  • 3-Way F JR Power Timer 3P Hsg Ass'y (BK)
Pin Wire Color Circuit Number Function
1 BK 808 Low Reference
2 PU/WH 1666 CO Potentiometer Signal
3 L-BU/BK 1688 5-Volt Reference
Crankshaft Position (CKP) Sensor (ITMS-6F)

GM1467004Courtesy of GENERAL MOTORS CORP.
Connector Part Information
  • AMP 85205-1
  • 3-Way F JR Power Timer 3P Hsg Ass'y (BK)
Pin Wire Color Circuit Number Function
1 D-BU/WH 1869 Crankshaft Position (CKP) Sensor Signal
2 YE/BK 1868 Low Reference
3 BK/WH 2251 Low Reference
Crankshaft Position (CKP) Sensor (MR-140)

GM1467004Courtesy of GENERAL MOTORS CORP.
Connector Part Information
  • AMP 85205-1
  • 3-Way F JR Power Timer 3P Hsg Ass'y (BK)
Pin Wire Color Circuit Number Function
1 D-BU/WH 1869 Crankshaft Position (CKP) Sensor Signal
2 YE/BK 1868 Low Reference
3 BK/WH 1704 Ground
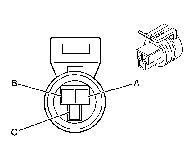
Engine Coolant Temperature (ECT) Sensor

GM62426Courtesy of GENERAL MOTORS CORP.
Connector Part Information
  • PED 12040753
  • 2-Way F Metri-Pack 150 Series, Sealed, Pull To Seat (BK)
Pin Wire Color Circuit Number Function
1 YE 410 Engine Coolant Temperature (ECT) Sensor Signal
2 D-BU/BK 808 Low Reference
Evaporative Emission (EVAP) Canister Purge Solenoid Valve

GM1481266Courtesy of GENERAL MOTORS CORP.
Connector Part Information
  • AK 32229
  • 2-Way F
Pin Wire Color Circuit Number Function
1 D-GN/WH 428 EVAP Canister Purge Valve Control
2 PK 1846 Ignition 1 Voltage
Exhaust Gas Recirculation (EGR) Valve

GM1468387Courtesy of GENERAL MOTORS CORP.
Connector Part Information
  • PED 12124849
  • 5-Way F Metri-Pack 150 Series, Sealed (GY)
Pin Wire Color Circuit Number Function
A GY 435 Exhaust Gas Recirculation (EGR) Valve Control
B L-BU/BK 1688 Low Reference
C BN 1456 Exhaust Gas Recirculation (EGR) Valve Position Sensor Signal
D OG/BK 469 5-Volt Reference
E PK/WH 739 Ignition 1 Voltage
Fuel Injector 1 - European Emissions

GM366123Courtesy of GENERAL MOTORS CORP.
Connector Part Information
  • PED 15326181
  • 2-Way F Micro-Pack 064 Series, Sealed (BK)
Pin Wire Color Circuit Number Function
1 PK/BK 139 Ignition 1 Voltage
2 RD 1744 Fuel Injector 1 Control
Fuel Injector 2 - European Emissions

GM366123Courtesy of GENERAL MOTORS CORP.
Connector Part Information
  • PED 15326181
  • 2-Way F Micro-Pack 064 Series, Sealed (BK)
Pin Wire Color Circuit Number Function
1 PK/BK 134 Ignition 1 Voltage
2 L-GN/BK 1745 Fuel Injector 2 Control
Fuel Injector 3 - European Emissions

GM366123Courtesy of GENERAL MOTORS CORP.
Connector Part Information
  • PED 15326181
  • 2-Way F Micro-Pack 064 Series, Sealed (BK)
Pin Wire Color Circuit Number Function
1 PK/BK 139 Ignition 1 Voltage
2 RD/BK 1746 Fuel Injector 3 Control
Fuel Injector 4 - European Emissions

GM366123Courtesy of GENERAL MOTORS CORP.
Connector Part Information
  • PED 15326181
  • 2-Way F Micro-Pack 064 Series, Sealed (BK)
Pin Wire Color Circuit Number Function
1 PK/BK 139 Ignition 1 Voltage
2 D-BU/BK 844 Fuel Injector 4 Control
Fuel Injector 1 - Non European Emissions

GM1467003Courtesy of GENERAL MOTORS CORP.
Connector Part Information
  • AMP 85202-2
  • 2-Way F JR Power Timer 2P Hsg Ass'y (BK)
Pin Wire Color Circuit Number Function
1 PK/BK 139 Ignition 1 Voltage
2 BK 1744 Fuel Injector 1 Control
Fuel Injector 2 - Non European Emissions

GM1467003Courtesy of GENERAL MOTORS CORP.
Connector Part Information
  • AMP 85202-2
  • 2-Way F JR Power Timer 2P Hsg Ass'y (BK)
Pin Wire Color Circuit Number Function
1 PK/BK 139 Ignition 1 Voltage
2 L-GN/BK 1745 Fuel Injector 2 and 3 Control
Fuel Injector 3 - Non European Emissions

GM1467003Courtesy of GENERAL MOTORS CORP.
Connector Part Information
  • AMP 85202-2
  • 2-Way F JR Power Timer 2P Hsg Ass'y (BK)
Pin Wire Color Circuit Number Function
1 PK/BK 139 Ignition 1 Voltage
2 L-GN/BK 1745 Fuel Injector 2 and 3 Control
Fuel Injector 4 - Non European Emissions

GM1467003Courtesy of GENERAL MOTORS CORP.
Connector Part Information
  • AMP 85202-2
  • 2-Way F JR Power Timer 2P Hsg Ass'y (BK)
Pin Wire Color Circuit Number Function
1 PK/BK 139 Ignition 1 Voltage
2 BK 1744 Fuel Injector 1 and 4 Control
Fuel Pump

GM1265433Courtesy of GENERAL MOTORS CORP.
Connector Part Information
  • KAFUS B06009A
  • 6-Way F
Pin Wire Color Circuit Number Function
1 PU 30 Fuel Level Sensor Signal
2 - - Not Used
3 GY 120 Fuel Pump Relay Voltage
4 BK 550 Ground
5 - - Not Used
6 BK - Ground
Heated Oxygen Sensor (HO2S) 1

GM1265434Courtesy of GENERAL MOTORS CORP.
Connector Part Information
  • AK 32414
  • 4-Way F
Pin Wire Color Circuit Number Function
1 PK 1846 Ignition 1 Voltage
2 BK 1654 Heated Oxygen Sensor (HO2S) 1 Heater Control
3 RD 1665 Heated Oxygen Sensor (HO2S) 1 Low Reference
4 GY 1653 Heated Oxygen Sensor (HO2S) 1 Signal
Heated Oxygen Sensor (HO2S) 2

GM1265365Courtesy of GENERAL MOTORS CORP.
Connector Part Information
  • AK 32414
  • 4-Way F
Pin Wire Color Circuit Number Function
1 PK 1846 Ignition 1 Voltage
2 BK 1654 Heated Oxygen Sensor (HO2S) 2 Heater Control
3 D-BU/WH 1668 Heated Oxygen Sensor (HO2S) 2 Signal
4 L-BU/WH 1669 Heated Oxygen Sensor (HO2S) 2 Low Reference
Idle Air Control (IAC) Valve (ITMS-6F)

GM1481291Courtesy of GENERAL MOTORS CORP.
Connector Part Information
  • AK 32419
  • 4-Way Connector F (BK)
Pin Wire Color Circuit Number Function
A L-GN/WH 1749 Idle Air Control (IAC) B High Control
B L-GN/BK 444 Idle Air Control (IAC) B Low Control
C L-BU/WH 1747 Idle Air Control (IAC) A High Control
D L-BU/BK 1748 Idle Air Control (IAC) A Low Control
Idle Air Control (IAC) Valve (MR-140)

GM1481291Courtesy of GENERAL MOTORS CORP.
Connector Part Information
  • AK 32419
  • 4-Way Connector F (BK)
Pin Wire Color Circuit Number Function
A L-GN/BK 444 Idle Air Control (IAC) B Low Control
B L-GN/WH 1749 Idle Air Control (IAC) B High Control
C L-BU/BK 1748 Idle Air Control (IAC) A Low Control
D L-BU/WH 1747 Idle Air Control (IAC) A High Control
Ignition Coil Module - European Emissions

GM1497773Courtesy of GENERAL MOTORS CORP.
Connector Part Information
  • AK 32311
  • 3-Way Connector F (BK)
Pin Wire Color Circuit Number Function
A D-BU/WH 406 Ignition Coil 2 and 3 Control
B PK/D-B 539 Ignition 1 Voltage
C D-GN/WH 423 Ignition Coil 1 and 4 Control
Ignition Coil Module - Non-European Emissions

GM1468526Courtesy of GENERAL MOTORS CORP.
Connector Part Information
  • PED 12162859
  • 4-Way F Metri-Pack 150.2 Sealed Female Connector Assembly (BG)
Pin Wire Color Circuit Number Function
A OG 406 Ignition Coil 2 and 3 Control
B WH 423 Ignition Coil 1 and 4 Control
C BK 650 Ground
D PK 1846 Ignition 1 Voltage
Intake Air Temperature (IAT) Sensor (ITMS-6F)

GM1467003Courtesy of GENERAL MOTORS CORP.
Connector Part Information
  • AMP 85202-1
  • 2-Way F JR Power Timer 2P Hsg Ass'y (BK)
Pin Wire Color Circuit Number Function
1 BN 472 Intake Air Temperature (IAT) Sensor Signal
2 OG/BK 469 Low Reference
Intake Air Temperature (IAT) Sensor (MR-140)

GM1467003Courtesy of GENERAL MOTORS CORP.
Connector Part Information
  • AMP 85202
  • 2-Way F JR Power Timer 2P Hsg Ass'y (BK)
Pin Wire Color Circuit Number Function
1 BK/WH 808 Low Reference
2 BN 472 Intake Air Temperature (IAT) Sensor Signal
Knock Sensor (KS) (ITMS-6F)

GM1466993Courtesy of GENERAL MOTORS CORP.
Connector Part Information
  • AMP 368215
  • 3-Way F JPT 3P Ass'y for Knock Sensor (GY)
Pin Wire Color Circuit Number Function
1 D-BU/WH 496 Knock Sensor (KS) Signal
2 YE/BK 469 Low Reference
3 BK/WH 1251 Shield Ground
Knock Sensor (KS) (MR-140)

GM1466993Courtesy of GENERAL MOTORS CORP.
Connector Part Information
  • AMP 368215-1
  • 3-Way F JPT 3P Ass'y for Knock Sensor
Pin Wire Color Circuit Number Function
1 YE/BK 496 Knock Sensor (KS) Signal
2 D-BU/WH 808 Low Reference
3 BK/WH 1808 Shield Ground
Manifold Absolute Pressure (MAP) Sensor

GM1466984Courtesy of GENERAL MOTORS CORP.
Connector Part Information
  • AMP 174359-2
  • 3-Way M 070 Series Econoseal Mark-2 Cap 3P (BK)
Pin Wire Color Circuit Number Function
1 OG/BK 469 5-Volt Reference
2 L-GN 432 Manifold Absolute Pressure (MAP) Sensor Signal
3 OG/BK (L-BU/BK) 1688 Low Reference
Octane Selection Switch (ITMS-6F)

GM1467062Courtesy of GENERAL MOTORS CORP.
Connector Part Information
  • KET MG 620395
  • 3-Way M SDL Series (WH)
Pin Wire Color Circuit Number Function
1 BN 1812 Octane Selection Switch
2 OG/BK 469 Ground
3 D-BU/BK 1813 Octane Selection Switch
Oxygen (O2) Sensor - Non Heated

GM309480Courtesy of GENERAL MOTORS CORP.
Connector Part Information
  • PED 12010501
  • 2-Way F Weather Pack Tower, Sealed (BK)
Pin Wire Color Circuit Number Function
1 WH 1653 Oxygen (O2) Sensor Low Reference
2 PU/WH 1665 Oxygen Sensor Signal
Rough Road Sensor

GM537107Courtesy of GENERAL MOTORS CORP.
Connector Part Information
  • AK 32317
  • 3-Way Connector F (GY)
Pin Wire Color Circuit Number Function
A OG/BK 605 5-Volt Reference
B YE/BK 480 Rough Road Sensor Signal
C BK/WH 1750 Low Reference
Throttle Position (TP) Sensor (ITMS-6F)

GM1497742Courtesy of GENERAL MOTORS CORP.
Connector Part Information
  • AK 32316
  • 3-Way Connector F (BK)
Pin Wire Color Circuit Number Function
A L-BU/BK 1688 5-Volt Reference
B BK 808 Low Reference
C D-BU 417 Throttle Position (TP) Sensor Signal
Throttle Position (TP) Sensor (MR-140)

GM1497742Courtesy of GENERAL MOTORS CORP.
Connector Part Information
  • AK 32316
  • 3-Way Connector F (BK)
Pin Wire Color Circuit Number Function
A OG/BK 416 5-Volt Reference
B BK /WH 808 Low Reference
C D-BU 417 Throttle Position (TP) Sensor Signal