LEMON Manuals: Even more car manuals for everyone: 1960-2025
Home >> Chevrolet >> 2005 >> Uplander Base, Van Passenger Extended >> Repair and Diagnosis >> Engine Performance >> System >> Engine Control System - 3.5L - Introduction (2 Of 2) >> Description and Operation >> Fuel System Description >> Fuel Sender Assembly
April 5, 2026: LEMON Manuals is launched! Read the announcement.

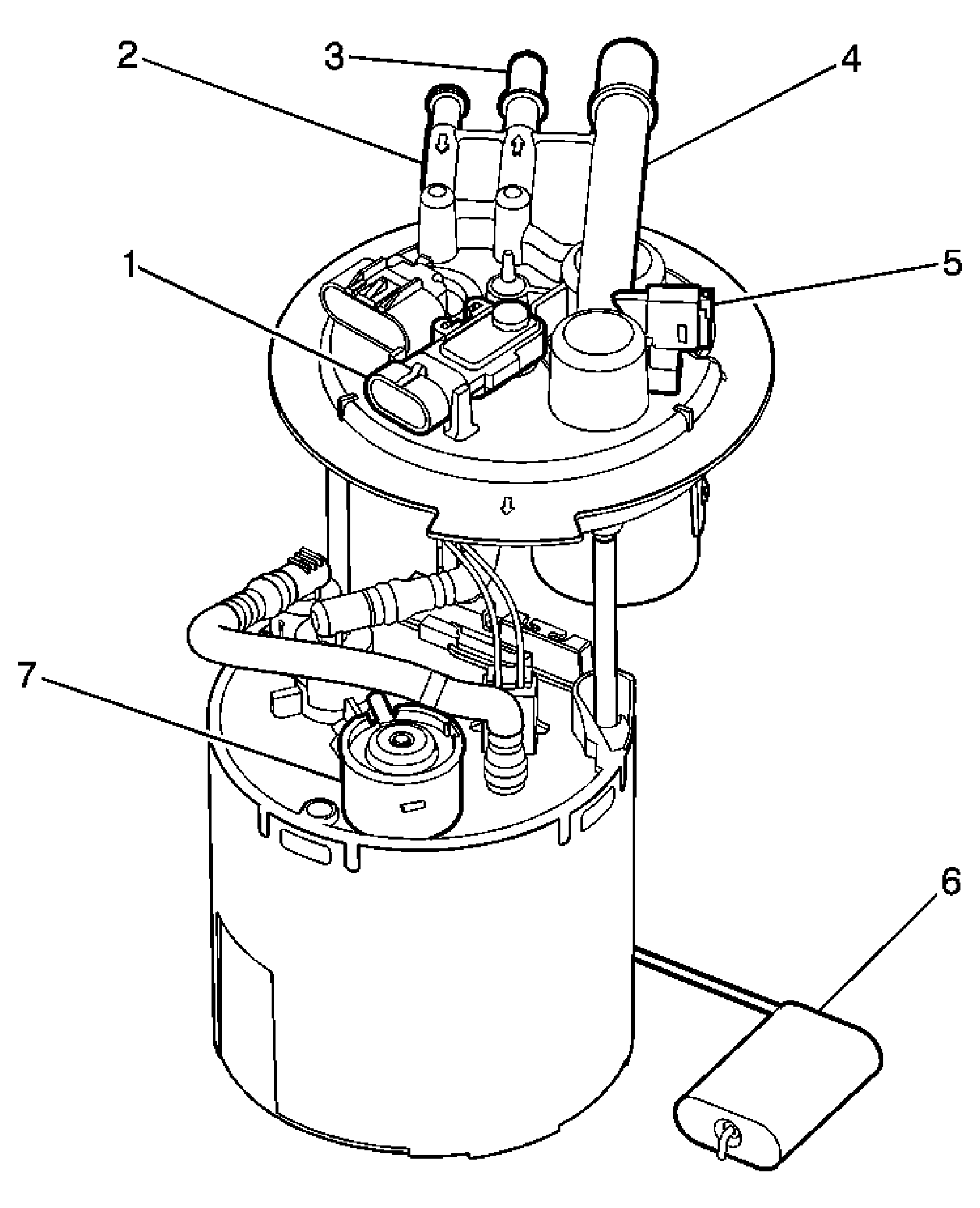
Fuel Sender Assembly

Fig 1: View Of Fuel Sender Assembly
GM1509865Courtesy of GENERAL MOTORS CORP.

The fuel sender assembly consists of the following major components: