LEMON Manuals: Even more car manuals for everyone: 1960-2025
Home >> Chevrolet >> 2006 >> Optra LS, Automatic >> Repair and Diagnosis >> Engine Performance >> System >> Engine Controls - 1.4L DOHC >> Component Locator >> Engine Control Module (ECM) Connector End Views
April 5, 2026: LEMON Manuals is launched! Read the announcement.

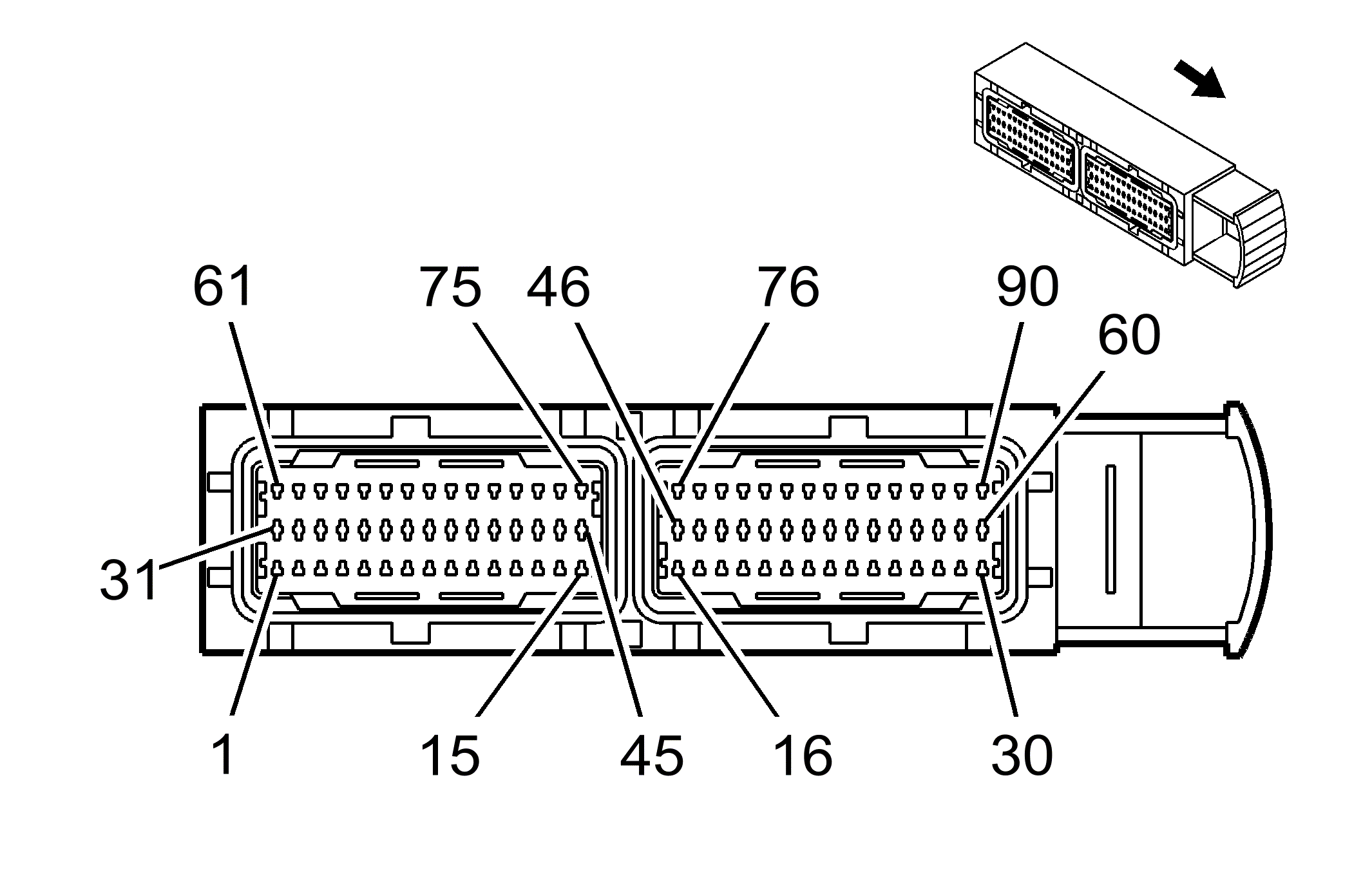
Engine Control Module (ECM) Connector End Views

Engine Control Module (ECM)

GM1500001Courtesy of GENERAL MOTORS CORP.
Connector Part Information
  • 211PC902S0008
  • 90-Way F Connector (BK)
Pin Wire Color Circuit No. Function
1-2 - - Not Used
3 BK/WH 251 Ground
4 - - Not Used
5 GY 435 Exhaust Gas Recirculation (EGR) Solenoid Low Control
6 D-GN/WH 465 Fuel Pump Relay Control
7 D-BU/WH 471 Main Relay Control
8 D-GN 135 Engine Coolant Temperature (ECT) Gage Signal
9 D-BU 473 High Speed - Cooling Fan Relay Control
10 D-GN 335 Low Speed - Cooling Fan Relay Control
11 BK/WH 51 Shield Ground
12 D-BU/WH 1876 Low Reference
13 OG/BK 469 Heated Oxygen Sensor (HO2S) 1 Heater Control
14 PU 1670 Heated Oxygen Sensor (HO2S) 2 Low Reference
15 - - Not Used
16 BN 413 Heated Oxygen Sensor (HO2S) 2 Heater Control
17 L-GN 632 Low Reference
18 - - Not Used
19 BK/YE 808 Low Reference
20 L-BU 203 A/C Refrigerant Pressure Sensor Signal
21 D-BU 1936 Fuel Level Sensor Signal
22 BN/WH 633 Camshaft Position (CMP) Sensor Signal
23 - - Not Used
24 BK/WH 251 Ground
25 BK/WH 51 Shield Ground
26 - - Not Used
27 L-BU 772 Octane Switch Signal (Non-OBD)
BK/WH 251 Ground (Euro Emissions)
28 BK/WH 251 Ground
29 PK 539 Ignition 1 Voltage
30 OG 440 Battery Positive Voltage
31 WH 423 Ignition Coil (IC) Timing Control (2 and 3)
32 OG 406 Ignition Coil (IC) Timing Control (1 and 4)
33 BK/WH 251 Ground
34 - - Not Used
35 BN/WH 1666 Heated Oxygen Sensor (HO2S) 1 Signal
36 - - Not Used
37 WH/BK 962 Intake Manifold Tuning Valve Solenoid Control
38 - - Not Used
39 BN/WH 419 Multifunction Indicator Lamp (MIL) Control
40 PU 30 Fuel Level Sensor Signal
41 PU 67 A/C Compressor Clutch Coil Supply Voltage
42 YE/BK 496 Knock Sensor (KS) Signal
43 D-GN 534 High Idle Switch Signal
44 PU/WH 1665 Heated Oxygen Sensor (HO2S) 1 Low Reference (OBD)
O2 Sensor Signal (Non OBD)
45 BN 1456 Exhaust Gas Recirculation (EGR) Valve Position Signal
46 GY 605 Low Reference
47-49 - - Not Used
50 L-BU/BK 1688 5-Volt Reference
51 D-GN/WH 817 Vehicle Speed Signal (Manual Transmission)
52 D-GN/WH 762 A/C Request Signal
53 WH 873 Rough Road Sensor Signal
D-BU 876 Rough Road Sensor Signal w/ABS
54 YE/BK 1868 Low Reference
55 PK 427 Idle Speed Control Motor Switch Signal
56 PU 2000 Keyword Serial Data
57 YE 710 CAN Serial Data Low (Automatic Transmission)
58 - - Not Used
59 BK 1744 Fuel Injector 1 Control
60 PK/BK 1746 Fuel Injector 3 Control
61 D-BU 426 Idle Motor Return
62 L-BU 425 Idle Motor Feed
63 - - Not Used
64 BN/WH 1671 Heated Oxygen Sensor (HO2S) 2 Signal
65 D-GN/WH 428 EVAP Canister Purge Solenoid Control
66 PK/BK 1846 Ignition 1 Voltage
67 BK/WH 251 Ground
68 WH 121 Engine Speed Signal
69 GY 435 Exhaust Gas Recirculation (EGR) Solenoid Low Control (Non OBD)
70-73 - - Not Used
74 D-BU 417 Throttle Position (TP) Sensor Signal
75 L-GN 432 Manifold Absolute Pressure (MAP) Sensor Signal
76 YE 410 Engine Coolant Temperature (ECT) Sensor Signal
77 - - Not Used
78 BN 472 Intake Air Temperature (IAT) Sensor Signal
79 GY 416 5-Volt Reference
80 - - Not Used
81 PU 773 Octane Switch Signal
BK/WH 251 Ground
82 - - Not Used
83 BN 990 Power Steering Pressure Switch Signal
84 OG 830 5-Volt Reference
85 D-BU/WH 1869 Crankshaft Position Sensor Signal
86-87 - - Not Used
88 PU 1807 CAN Serial Data High
89 L-BU/BK 844 Fuel Injector 4 Control
90 L-GN/BK 1745 Fuel Injector 2 Control