LEMON Manuals: Even more car manuals for everyone: 1960-2025
Home >> Chevrolet >> 2007 >> Aveo Base >> Repair and Diagnosis (Single Page) >> Electrical >> Wiring Diagrams >> OEM Connector End Views >> Lighting Systems Connector End Views (Hatchback) >> Lamp Control Module Connector End View
April 5, 2026: LEMON Manuals is launched! Read the announcement.

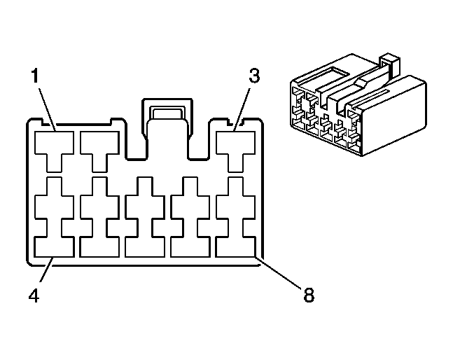
Lamp Control Module Connector End View

Lamp Control Module Connector End View/Part Information/Terminal Identification (Except North America)

GM1467016Courtesy of GENERAL MOTORS CORP.
Connector Part Information
  • KET MG 610054
  • 8-Way F 090 (2.3 mm) Series
Pin Wire Color Circuit No. Function
1 - - Not Used
2 BN/D-BU 1081 Park Lamp On Signal
3 BN 1080 Park Lamp Relay Control
4 OG 640 Battery Positive Voltage
5 BK 450 Ground
6 PU 126 Left Front Open Switch Signal
7 L-GN 80 Key in Ignition Switch Signal
8 - - Not Used