LEMON Manuals: Even more car manuals for everyone: 1960-2025
Home >> Chevrolet >> 2007 >> Cutaway 6.6 2 >> Repair and Diagnosis >> Brakes >> Anti-Lock Brake System, Traction Control System & Stability Control System >> Component Locator >> Antilock Brake System Component Views
April 5, 2026: LEMON Manuals is launched! Read the announcement.

Antilock Brake System Component Views

Fig 1: Component View - LF Frame (JL4)
GM1357599Courtesy of GENERAL MOTORS CORP.
Callout Component Name
1 Master Cylinder Reservoir
2 Precharge Pump
3 Frame
Fig 2: Frame and Underbody
GM1651182Courtesy of GENERAL MOTORS CORP.
Callout Component Name
1 Wheel Speed Sensor (WSS) - LR (JL4)
2 Rotor - LR
3 Rotor - LF
4 Wheel Speed Sensor (WSS) Connector - LF
5 Electronic Brake Control Module (EBCM)
6 Brake Pressure Differential Switch (Light Duty)
7 Floor Panel - RF
8 Yaw and Lateral Acceleration Sensor (JL4)
9 Wheel Speed Sensor (WSS) Connector - RF
10 Rotor - RF
11 Rotor - RR
12 Wheel Speed Sensor (WSS) - RR (JL4)
Fig 3: Component View - Lower Left Of I/P (JL4)
GM1359051Courtesy of GENERAL MOTORS CORP.
Callout Component Name
1 Steering Wheel Speed/Position Sensor
2 Steering Column Jacket Assembly
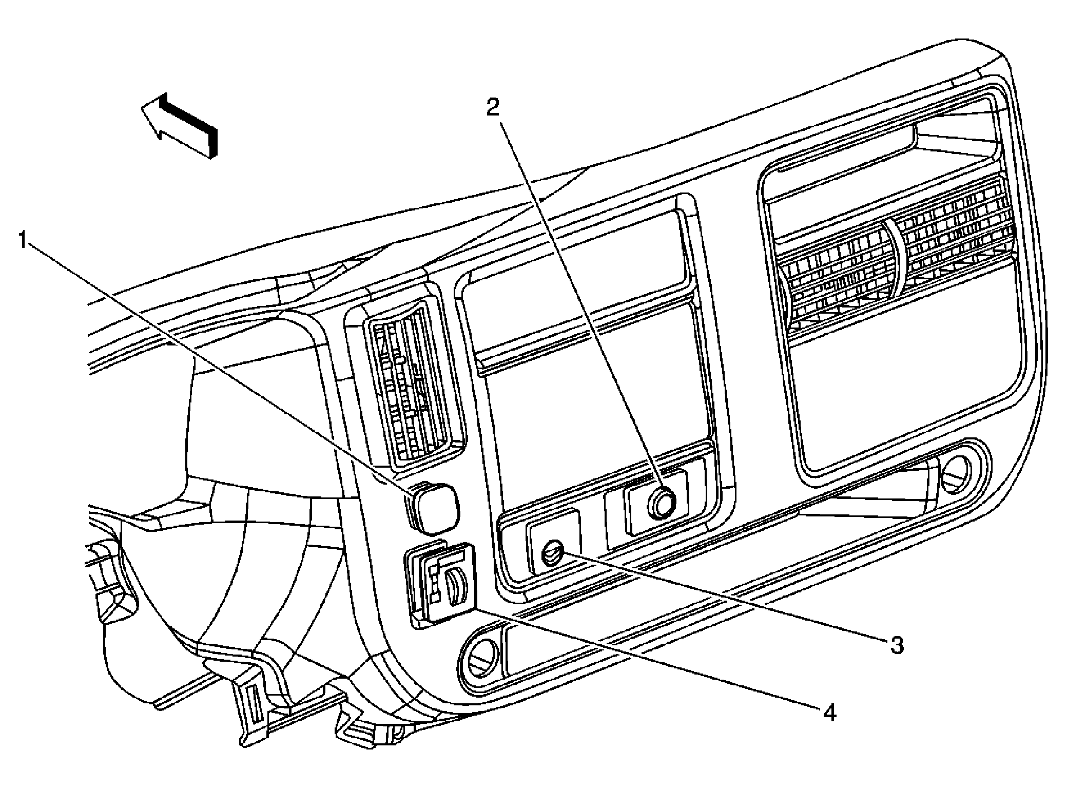
Fig 4: Component View - Center Of I/P
GM1357403Courtesy of GENERAL MOTORS CORP.
Callout Component Name
1 Tow/Haul Switch
2 Traction Control Switch (JL4)
3 Inflatable Restraint I/P Module Disable Switch (Heavy Duty)
4 Blower Motor Switch - Auxiliary (C36)