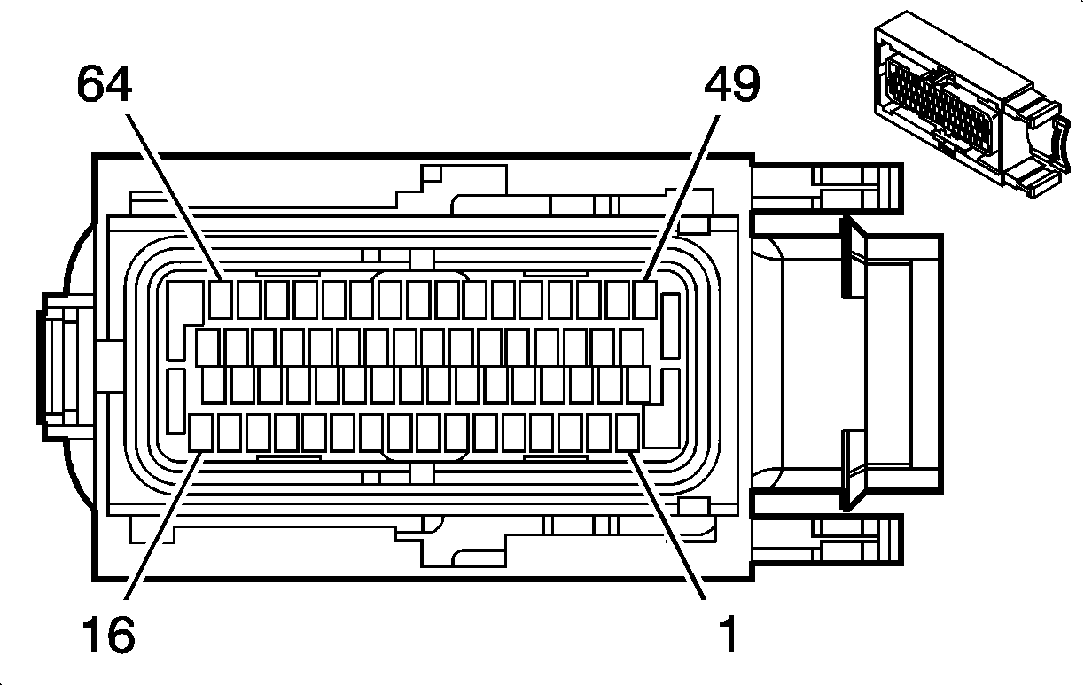
Engine Control Module Connector End Views (w/o Throttle Actuator Control)
Engine Control Module (ECM) K (MR-140)
| Connector Part Information |
|
||
|---|---|---|---|
| Pin | Wire Color | Circuit Number | Function |
| 1 | OG | 440 | Battery Positive Voltage |
| 2-4 | - | - | Not Used |
| 5 | BK/WH | 51 | Ground |
| 6 | D-GN/WH | 817 | Vehicle Speed Signal (Manual Transmission) |
| 7 | D-BU | 876 | Rough Road Signal - W/ABS |
| 8-11 | - | - | Not Used |
| 12 | D-BU | 473 | High Speed Cooling Fan Relay Control |
| 13 | WH/BK | 962 | Intake Manifold Tuning Valve Solenoid Control |
| 14 | PU | 1807 | CAN Serial Data High |
| 15 | YE | 710 | CAN Serial Data Low |
| 16 | BN/WH | 1669 | Heated Oxygen Sensor (HO2S) 1 Heater Control |
| 17 | OG | 440 | Battery Positive Voltage |
| 18 | PK/BU | 539 | Ignition 1 Voltage |
| 19-20 | - | - | Not Used |
| 21 | D-GN | 602 | Rough Road Sensor Signal |
| 22 | L-BU | 380 | A/C Refrigerant Pressure (ACP) Sensor Signal |
| 23 | - | - | Not Used |
| 24 | D-GN | 135 | Engine Coolant Temperature (ECT) Sensor Gage Signal |
| 25 | GY (WH) | 121 | Engine Speed Signal |
| 26-27 | - | - | Not Used |
| 28 | D-GN/WH (D-GN) | 335 | Low Speed Cooling Fan Relay Control |
| 29 | D-GN (PU) | 67 | A/C Compressor Clutch Coil Supply Voltage |
| 30 | WH | 30 | Fuel Level Sensor Signal |
| 31 | - | - | Not Used |
| 32 | PU | 2000 | Keyword Serial Data |
| 33 | - | - | Not Used |
| 34 | PU/WH | 632 | Low Reference |
| 35 | D-GN/WH | 762 | A/C Request Signal |
| 36 | PU | 1670 | Heated Oxygen Sensor (HO2S) 2 Signal |
| 37-49 | - | - | Not Used |
| 50 | GY | 605 | 5-Volt Reference |
| 51 | GY | 1936 | Fuel Level Sensor Signal |
| 52 | YE/D-GN | 890 | Fuel Tank Pressure Sensor Signal |
| 53 | L-GN | 413 | Heated Oxygen Sensor (HO2S) 2 Low Reference |
| 54 | L-GN (D-GN/WH) | 465 | Fuel Pump Relay Control |
| 55-63 | - | - | Not Used |
| 64 | BN/WH | 419 | Malfunction Indicator Lamp (MIL) Control |
Engine Control Module (ECM) M (MR-140)
| Connector Part Information |
|
||
|---|---|---|---|
| Pin | Wire Color | Circuit Number | Function |
| 1 | L-BU | 406 | Ignition Coil (IC) Timing Control 1 and 4 |
| 2 | BN/BK | 1671 | Heated Oxygen Sensor (HO2S) 2 Heater Control |
| 3 | GY | 120 | Fuel Pump Supply Voltage |
| 4 | WH | 428 | Evaporative Emissions (EVAP) Canister Purge Solenoid Control |
| 5 | YE/BK | 1868 | Low Reference |
| 6 | GY (D-BU) | 417 | Throttle Position (TP) Sensor Signal |
| 7 | GY (BN) | 472 | Intake Air Temperature (IAT) Sensor Signal |
| 8 | D-BU/WH (L-GN) | 432 | Manifold Absolute Pressure (MAP) Sensor Signal |
| 9 | WH/BK | 1456 | Exhaust Gas Recirculation (EGR) Valve Position Signal |
| 10 | - | - | Not Used |
| 11 | D-GN/WH (L-BU/BK) | 844 | Fuel Injector 4 Control |
| 12 | GY | 1653 | Heated Oxygen Sensor (HO2S) 1 Signal |
| 13 | BN | 1747 | Idle Air Control (IAC) A High Control |
| 14 | WH | 444 | Idle Air Control (IAC) B Low Control |
| 15 | YE/WH | 1748 | Idle Air Control (IAC) A Low Control |
| 16 | L-BU/BK | 1688 | 5-Volt Reference |
| 17 | - | - | Not Used |
| 18 | YE/BK | 496 | Knock Sensor Signal |
| 19 | D-GN | 435 | Exhaust Gas Recirculation (EGR) Solenoid Low Control |
| 20 | - | - | Not Used |
| 21 | D-BU/WH | 1869 | Crankshaft Position (CKP) Sensor Signal |
| 22 | BN/WH (L-GN/BK) | 1745 | Fuel Injector 2 Control |
| 23 | - | - | Not Used |
| 24 | D-GN/BK (PK/BK) | 1746 | Fuel Injector 3 Control |
| 25 | YE/D-BU (BK) | 1744 | Fuel Injector 1 Control |
| 26 | PU (BN/WH) | 633 | Camshaft Position (CMP) Sensor Signal |
| 27 | - | - | Not Used |
| 28 | L-GN (YE) | 410 | Engine Coolant Temperature (ECT) Sensor Signal |
| 29 | D-GN/RD | 1665 | Heated Oxygen Sensor (HO2S) 1 Low Reference |
| 30 | PU/WH | 1749 | Idle Air Control (IAC) Coil B High Control |
| 31 | - | - | Not Used |
| 32 | D-GN/WH (D-GN/YE) | 416 | 5-Volt Reference |
| 33 | L-BU | 406 | Ignition Coil (IC) Timing Control (1 and 4) |
| 34 | - | - | Not Used |
| 35 | D-GN/WH | 423 | Ignition Coil (IC) Timing Control (2 and 3) |
| 36 | - | - | Not Used |
| 37 | BK/WH | 51 | Ground |
| 38 | BK/WH | 51 | Ground |
| 39 | BK/WH | 51 | Ground |
| 40 | BK/WH | 51 | Ground |
| 41 | BK/WH | 51 | Ground |
| 42-47 | - | - | Not Used |
| 48 | OG/BK | 469 | Low Reference |
| 49-50 | - | - | Not Used |
| 51 | D-GN/WH | 423 | Ignition Coil (IC) Timing Control (2 and 3) |
| 52 | D-GN | 435 | Exhaust Gas Recirculation (EGR) Low Control |
| 53-63 | - | - | Not Used |
| 64 | BK (BK/YE) | 808 | Low Reference |