LEMON Manuals: Even more car manuals for everyone: 1960-2025
Home >> Chevrolet >> 2007 >> Optra5 LT, Automatic >> Repair and Diagnosis >> Transmission >> Automatic Trans >> Shift Lock Control >> Component Locator >> Shift Lock Control Component Views
April 5, 2026: LEMON Manuals is launched! Read the announcement.

Shift Lock Control Component Views

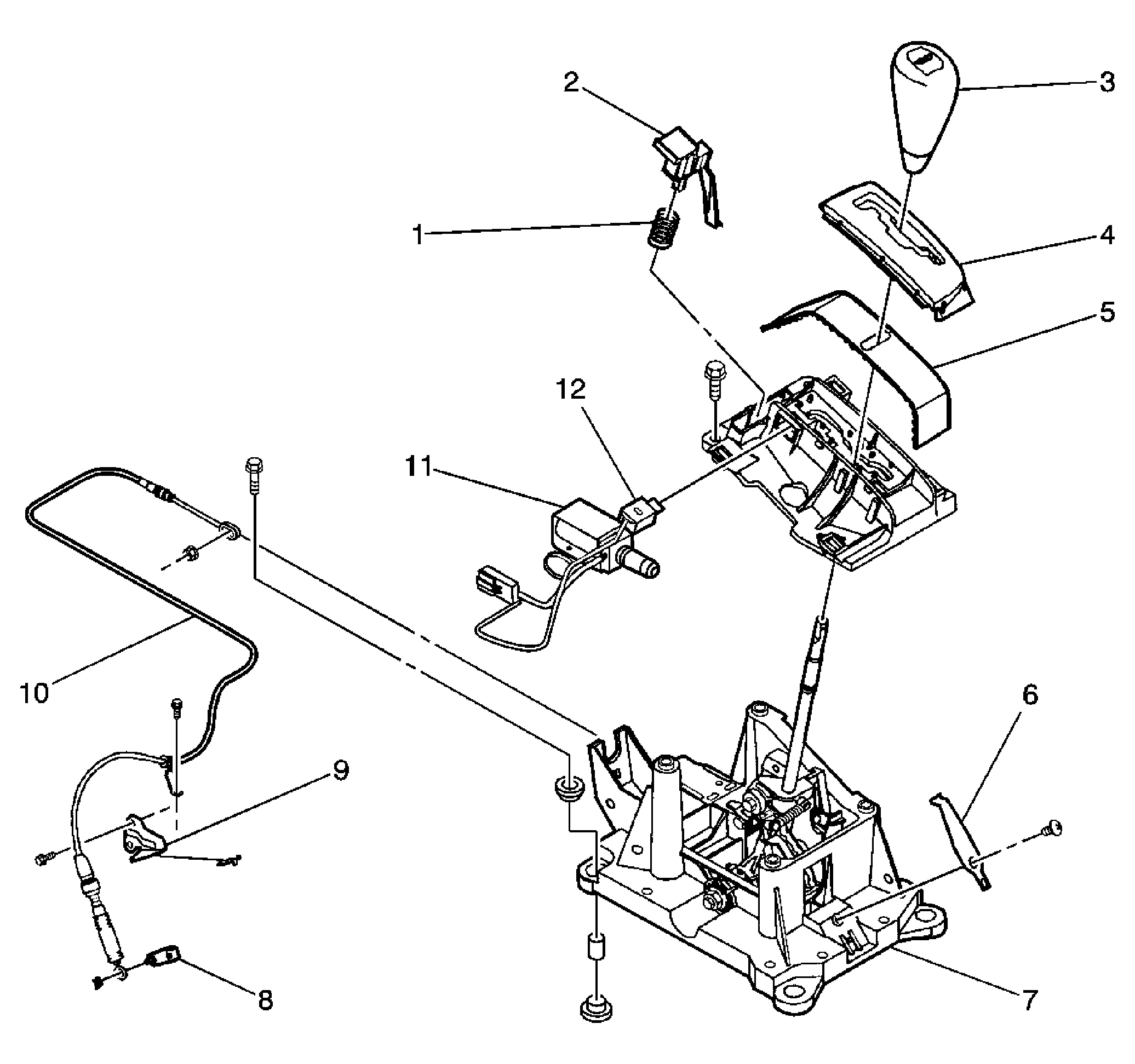
Fig 1: Identifying Automatic Transmission Shift Lever Assembly Components
GM1291743Courtesy of GENERAL MOTORS CORP.
Callout Component Name
1 Spring
2 BTSI Button
3 Gear Shift Knob
4 Cover
5 Step Gate Slider
6 Positioning Spring
7 Base Plate
8 T/A Lever
9 Cable Fastener
10 Select Cable
11 Automatic Transmission Shift Lock Control Solenoid
12 Park Position Switch