Harness Routing Views
Harness Routing Views
I/P Harness Routing
1 - Accessory Switch X2
2 - Hazard Switch
3 - Accessory Switch X1
4 - Digital Radio Receiver (U2K)
5 - Inflatable Restraint I/P Module
6 - Ambient Light Sensor
7 - Vehicle Communication Interface Module (VCIM) (UE1)
8 - Courtesy Lamp - Footwell Right
9 - Body Control Module (BCM) X2
10 - X201 (I/P Harness to Body Harness)
11 - HVAC Control Module X1
12 - Auxiliary Power Outlet 2
13 - Auxiliary Power Outlet 1
14 - HVAC Control Module X2
15 - Courtesy Lamp - Footwell Left
16 - Data Link Connector (DLC)
17 - X204 (Steering Column Harness to I/P Harness)
18 - X208 (I/P Harness to Body Harness)
19 - X200 (I/P Harness to Body Harness)
20 - Headlamp and Panel Dimmer Switch
21 - Instrument Panel Cluster (IPC)
22 - Radio X1
23 - Radio X2
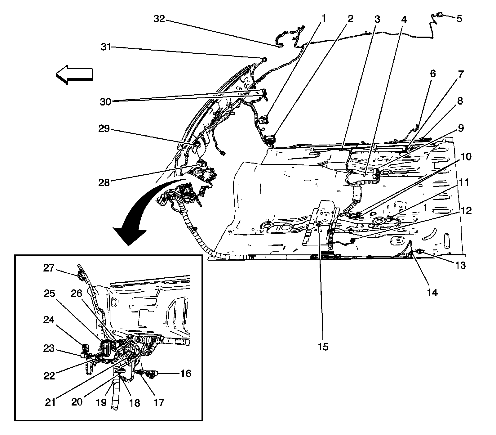
Body Harness Routing 2 of 3 (Regular Cab)
1 - Body Control Module (BCM) X1
2 - X201 (I/P Harness to Body Harness)
3 - G301
4 - G302
5 - Cargo Lamp/Center High Mounted Stop Lamp (CHMSL)
6 - Door Jamb Switch - Front Passenger
7 - X313 (Body Harness to Passenger Seat Harness)
8 - Seat Belt Pretensioner - Right Front
9 - Inflatable Restraint Sensing and Diagnostic Module (SDM)
10 - Transfer Case Shift Control Module
11 - X314 (Body Harness to Driver Seat Harness)
12 - G Sensor
13 - Seat Belt Pretensioner - Left Front
14 - Door Jamb Switch - Driver
15 - G300
16 - Stop Lamp Switch
17 - TCC Brake/Cruise Release Switch
18 - Park Brake Switch
19 - J303
20 - Clutch Switch
21 - Clutch Start Switch
22 - X208 (I/P Harness to Body Harness)
23 - X202 (Driver Door Harness to Body Harness)
24 - C209 (Body Harness to Driver Door Harness)
25 - C200 (I/P Harness to Body Harness)
26 - C275 (Body Harness to Steering Wheel Harness)
27 - Inflatable Restraint Roof Rail Module - Left
28 - Accelerator Pedal Position (APP) Sensor
29 - C310 (Dome Lamp Harness to Body Harness)
30 - C210 and C211 (A31) (Body Harness to Passenger Door Harness)
31 - Inflatable Restraint Roof Rail Module - Right
32 - Inside Rearview Mirror
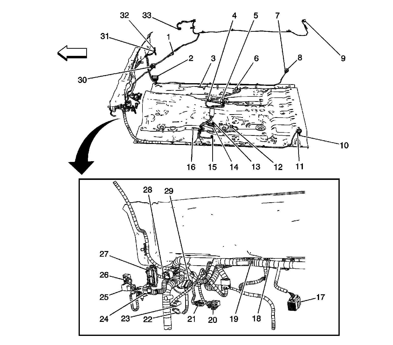
Body Harness Routing 2 of 3 (Extended Cab)
1 - X310 (Dome Lamp Harness to Body Harness)
2 - X201 (I/P Harness to Body Harness)
3 - G301
4 - G302
5 - Inflatable Restraint Sensing and Diagnostic Module (SDM)
6 - X313 (Body Harness to Passenger Seat Harness)
7 - X317 (Body Harness to RR Passenger Door Harness)
8 - X312 (Body Harness to RR Passenger Door Harness)
9 - Cargo Lamp/Center High Mounted Stop Lamp (CHMSL)
10 - X316 (Body Harness to LR Passenger Door Harness)
11 - X311 (Body Harness to LR Passenger Door Harness)
12 - X314 (Body Harness to Driver Seat Harness)
13 - Transfer Case Shift Control Module X1
14 - Transfer Case Shift Control Module X2
15 - G Sensor
16 - G300
17 - Accelerator Pedal position (APP) Sensor
18 - J102
19 - J100
20 - Stop Lamp Switch
21 - TCC Brake/Cruise Release Switch
22 - Park Brake Switch
23 - Clutch Switch
24 - Inflatable Restraint Roof Rail Module - Right
25 - X211 (A31) (Body Harness to Passenger Door Harness)
26 - X210 (A31) (Body Harness to Passenger Door Harness)
27 - X200 (I/P Harness to Body Harness)
28 - X275 (Body Harness to Steering Wheel Harness)
29 - Clutch Start Switch (MA5)
30 - Body Control Module (BCM) X1
31 - X209 (Body Harness to Driver Door Harness)
32 - X202 (Body Harness to Driver Door Harness)
33 - Inside Rearview Mirror
Body Harness Routing 2 of 3 (Crew Cab)
1 - Body Control Module (BCM) X1
2 - X201 (I/P Harness to Body Harness)
3 - G301
4 - G302
5 - Inflatable Restraint Sensing and Diagnostic Module (SDM)
6 - X317 (Body Harness to Right Rear Passenger Door Harness)
7 - Cargo Lamp/Center High Mounted Stop Lamp (CHMSL)
8 - Door Jamb Switch - Front Passenger
9 - Seat Belt Pretensioner - Right Front
10 - Door Jamb Switch - Right Rear
11 - X313 (Body Harness to Passenger Seat Harness)
12 - X316 (Body Harness to Left Rear Passenger Door Harness)
13 - X314 (Body Harness to Driver Seat Harness)
14 - Seat Belt Pretensioner - Left Front
15 - Door Jamb Switch - Left Rear
16 - Door Jamb Switch - Driver
17 - Transfer Case Shift Control Module X1 and X2
18 - G Sensor
19 - G300
20 - Stop Lamp Switch
21 - TCC Brake/Cruise Release Switch
22 - Park Brake Switch
23 - J303
24 - Clutch Switch
25 - Clutch Start Switch
26 - X208 (I/P Harness to Body Harness)
27 - X202 (Driver Door Harness to Body Harness)
28 - X209 (Body Harness to Driver Door Harness)
29 - X200 (I/P Harness to Body Harness)
30 - X275 (Body Harness to Steering Wheel Harness)
31 - Inflatable Restraint Roof Rail Module - Left
32 - Accelerator Pedal Position (APP) Sensor
33 - X310 (Dome Lamp Harness to Body Harness)
34 - X210 and X211 (A31) (Body Harness to Passenger Door Harness)
35 - Inflatable Restraint Roof Rail Module - Right
36 - Inside Rearview Mirror