LEMON Manuals: Even more car manuals for everyone: 1960-2025
Home >> Chevrolet >> 2009 >> Corvette V8-6.2L SC >> Repair and Diagnosis >> Diagrams >> Exploded Views >> Manual Transmission/Transaxle
April 5, 2026: LEMON Manuals is launched! Read the announcement.

Manual Transmission/Transaxle




Disassembled Views

Transmission Case (1 of 2)




1 - Reverse Gear Blocking Ring Assembly
2 - Reverse Gear Inner Ring
3 - Reverse Gear Outer Cone
4 - Reverse Gear Blocker Ring
5 - Reverse Gear Thrust Washer Locking Ring
6 - Reverse Synchronizer Two Piece Washer
7 - Reverse Synchronizer Insert
8 - Reverse Synchronizer Hub
9 - Reverse Synchronizer Sleeve
10 - Reverse Synchronizer Key Retainer
11 - Reverse Synchronizer Assembly
12 - 5th Speed Driven Gear
13 - 6th Speed Driven Gear
14 - Vent
15 - Vent Pipe
16 - Offset Lever Roll Pin
17 - Offset Shift Lever
18 - Top Shift Shaft Bushing
19 - Transmission Case
20 - Guide Plate Bolt
21 - Guide Plate
22 - 6th Speed Drive Gear Bearing Spacer
23 - 6th Speed Drive Gear
24 - 6th Speed Drive Gear Needle Bearing
25 - 6th Speed Drive Gear Bearing Spacer
26 - Synchronizer Retainer Ring
27 - 6th Gear Blocking Ring Assembly
28 - 6th Speed Drive Gear Inner Cone
29 - 6th Speed Drive Gear Outer Cone
30 - 6th Speed Drive Gear Synchronizer Blocking Ring
31 - Reverse Shift Fork Retainer Ring
32 - Reverse Shift Fork Pad
33 - Reverse Shift Fork

Transmission Case (2 of 2)




1 - Case Rear Extension Pin
2 - 5th/6th Lever Guide Bolt
3 - Interlock Guide Bolt
4 - Computer Aided Gear Select Solenoid
5 - Cooler Line Return Fitting
6 - Oil Fill Plug
7 - Countershaft Bearing Race
8 - Backup Lamp Switch
9 - Magnet
10 - Shift Detent Assembly
11 - Mainshaft Center Bearing Race
12 - Mainshaft Center Bearing
13 - 1st Speed Drive Gear
14 - 1st Speed Drive Gear Needle Bearing
15 - 1st Speed Drive Gear Locking Ring
16 - 1st Gear Blocking Ring Assembly
17 - 1st Speed Gear Two Piece Washer
18 - 1st Speed Drive Gear Inner Cone
19 - 1st Speed Drive Gear Outer Cone
20 - 1st Gear Synchronizer Blocking Ring
21 - 1st/2nd Synchronizer Assembly
22 - 2nd Gear Synchronizer Blocking Ring
23 - 1st/2nd Synchronizer Hub
24 - 1st/2nd Synchronizer Insert
25 - 1st/2nd Synchronizer Sleeve
26 - Reverse Backup Lamp Switch (Export Only)
27 - E-Z Key Switch (Export Only)
28 - Coolant Temperature Sensor (Z51, Z06, Exports)
29 - Detent (Export Only)

Adapter Plate and Gears




1 - Adapter to Transmission Case Bolt
2 - Outer Shift Shaft Seal
3 - Inner Shift Shaft Seal
4 - Front Adapter Plate
5 - Dowel Pin
6 - Top Shaft Rail Bushing
7 - Transmission Fluid Pump Check Ball
8 - Spring
9 - Plug
10 - Oil Pump
11 - Oil Pump Cover
12 - Oil Pump Cover Retainer Ring
13 - Input Shaft Seal
14 - Input Shaft Bearing Shim
15 - Input Shaft Bearing Race
16 - Input Shaft Bearing
17 - Input Shaft
18 - Input Shaft Bearing Race
19 - 3rd/4th Synchronizer Retaining Ring
20 - 4th Gear Blocking Ring Assembly
21 - 4th Speed Drive Gear Inner Cone
22 - 4th Speed Drive Gear Outer Cone
23 - 4th Speed Drive Gear Blocking Ring
24 - 3rd/4th Synchronizer Assembly
25 - 3rd/4th Synchronizer Insert
26 - 3rd/4th Synchronizer Hub
27 - 3rd/4th Synchronizer Sleeve
28 - 3rd Gear Blocking Ring Assembly
29 - 3rd Speed Drive Gear Synchronizer Blocking Ring
30 - 3rd Speed Drive Gear Friction Cone
31 - 3rd Speed Drive Gear Inner Cone
32 - 3rd Speed Drive Gear Spacer
33 - 3rd Speed Drive Gear
34 - 3rd Speed Drive Gear Bearing
35 - Mainshaft Small Tapered Bearing
36 - Mainshaft
37 - 2nd Speed Drive Gear Needle Bearing
38 - 2nd Speed Drive Gear
39 - 2nd Speed Drive Gear Bearing Spacer
40 - 2nd Gear Blocking Ring Assembly
41 - 2nd Speed Drive Gear Inner Cone
42 - 2nd Speed Drive Gear Outer Cone
43 - Countershaft Bearing Adjust Shim
44 - Countershaft Bearing Race
45 - Countershaft Front Bearing
46 - Countershaft
47 - Countershaft Rear Bearing
48 - Transmission Fluid Pump Inlet Pipe
49 - Shift Shaft Bushing
50 - Transmission Adapter Plug
51 - Transmission Fluid Pump Outlet Pipe Fitting Seal
52 - Transmission Fluid Pump Outlet Pipe Fitting

Extension Housing




1 - Extension Housing
2 - Mainshaft Bearing Race
3 - Mainshaft Rear Bearing Retainer Ring
4 - Mainshaft Rear Bearing Retainer Ring
5 - Mainshaft Gear Bearing Spacer
6 - Mainshaft Rear Bearing
7 - Mainshaft Gear Bearing Spacer
8 - Synchronizer Retainer Ring
9 - Reverse Gear Thrust Washer
10 - Mainshaft Reverse Speed Gear
11 - Reverse Gear Bearing
12 - Reverse Gear Washer
13 - Reverse Idler Gear Shaft
14 - Reverse Idler Gear Needle Bearing
15 - Reverse Idler Gear
16 - Reverse Idler Bracket
17 - Reverse Idler Bracket Bolt
18 - Outer Output Shaft Seal
19 - Inner Output Shaft Seal
20 - Extension Housing to Transmission Case Bolt
21 - Oil Drain Plug
22 - Lubrication Funnel
23 - Extension Housing Counter Shaft Bearing Assembly
24 - Retainer
25 - Separate Gear
26 - Retainer
27 - Spacer
28 - 5th Speed Drive Gear Needle Bearing
29 - 5th Speed Drive Gear
30 - Spacer
31 - Retainer
32 - Thrust Washer
33 - 5th Gear Blocking Ring Assembly
34 - 5th Speed Gear Inner Cone
35 - 5th Speed Gear Friction Cone
36 - 5th Gear Synchronizer Blocking Ring
37 - 5th/6th Synchronizer Assembly
38 - 5th/6th and Reverse Synchronizer Insert
39 - 5th/6th Synchronizer Hub
40 - 5th/6th Synchronizer Sleeve
41 - Shift Fork Pad
42 - 5th/6th Shift Fork
43 - 5th Gear Shift Fork Retainer Ring

Reverse Lockout




1 - Transmission Case Cover Bolt
2 - Transmission Case Cover
3 - Spring
4 - Detent Roller
5 - Reverse Lockout O-ring Seal
6 - Reverse Lockout Solenoid
7 - Transmission Case
8 - Gasket
9 - O-ring
10 - Reverse Lockout Assembly
11 - Reverse Lockout Solenoid Mounting Bolt
12 - Reverse Lockout Body
13 - Reverse Lockout Inner Spring
14 - Snap Ring
15 - Reverse Lockout Collar
16 - Reverse Lockout Outer Spring
17 - Reverse Lockout Plunger
18 - Snap Ring

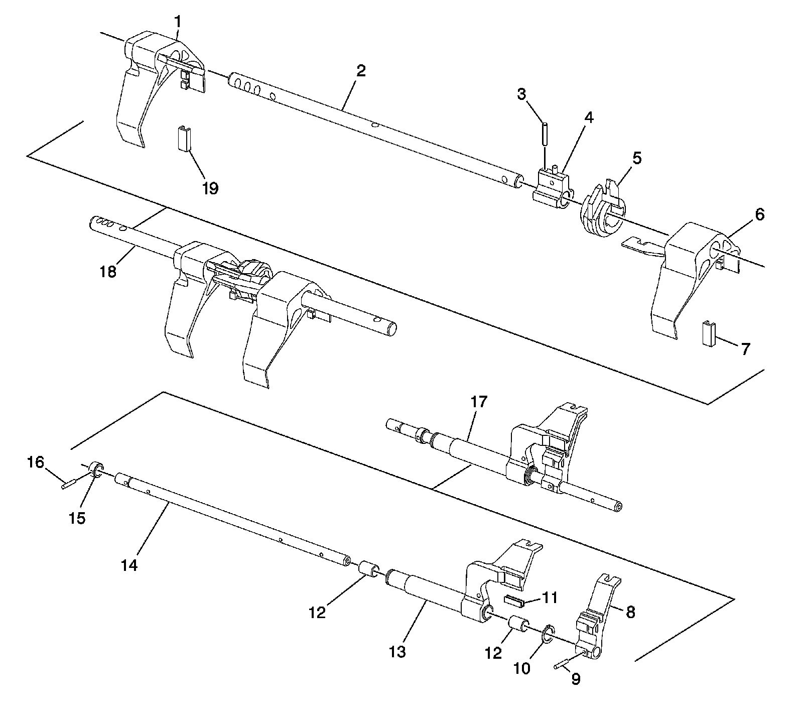
Shift Shafts




1 - 1st/2nd Shift Fork
2 - Shift Shaft
3 - 1st/2nd Shift Fork Pin
4 - Control Select Arm Pin
5 - Gear Select Interlock Plate
6 - 3rd/4th Shift Fork
7 - 3rd/4th Shift Fork Pad
8 - Reverse Shift Lever
9 - Reverse Shift Lever Pin
10 - Retaining Ring
11 - 5th/6th Shift Lever Pad
12 - 5th/6th Shift Shaft Lever Bushing
12 - 5th/6th Shift Shaft Lever Bushing
13 - 5th/6th Shift Lever
14 - 5th/6th Reverse Shift Shaft
15 - Reverse Shift Collar
16 - Reverse Shift Collar Pin
17 - 5th/6th Shift Lever Assembly
18 - 1st/2nd Shift Shaft Assembly
19 - 1st/2nd Shift Fork Pad