LEMON Manuals: Even more car manuals for everyone: 1960-2025
Home >> Chevrolet >> 2010 >> Malibu L4-2.4L >> Repair and Diagnosis >> Powertrain Management >> Computers and Control Systems >> Relays and Modules - Computers and Control Systems >> Engine Control Module >> Locations
April 5, 2026: LEMON Manuals is launched! Read the announcement.

Engine Control Module: Locations




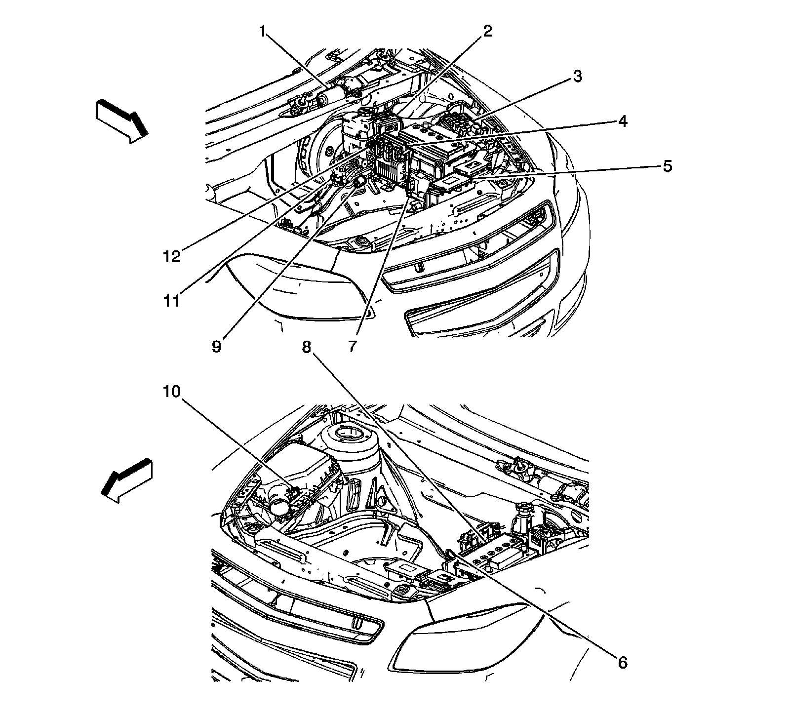
Front of Vehicle/Engine Compartment Component Views

Engine Compartment Components (LAT or HP7)




1 - Windshield Wiper Motor
2 - Electronic Brake Control Module (EBCM)
3 - Fuse Block - Underhood
4 - Engine Control Module (ECM)
5 - Starter Generator Control Module (SGCM)
6 - Battery Current Sensor
7 - Transmission Control Module (TCM) (ME7)
8 - Battery
9 - Brake Master Cylinder Pressure Sensor
10 - Mass Air Flow (MAF)/Intake Air Temperature (IAT) Sensor
11 - Brake Booster Vacuum Sensor
12 - Brake Fluid Level Switch

Engine Compartment Components (without LAT or HP7)




1 - Windshield Wiper Motor
2 - Master Cylinder
3 - Electronic Brake Control Module (EBCM)
4 - Fuse Block - Underhood
5 - Engine Control Module (ECM)
6 - Transmission Control Module (TCM) (MN5)
7 - Battery
8 - Battery Current Sensor (LE5 or LE9 or LY7)
9 - Mass Air Flow (MAF)/Intake Air Temperature (IAT) Sensor
10 - Brake Fluid Level Switch