LEMON Manuals: Even more car manuals for everyone: 1960-2025
Home >> Chevrolet >> 2011 >> Caprice >> Repair and Diagnosis >> Body & Frame >> Fixed And MOVEABLE Windows >> Repair Instructions >> Front Side Door Window Control Module Replacement >> Installation Procedure
April 5, 2026: LEMON Manuals is launched! Read the announcement.

Installation Procedure

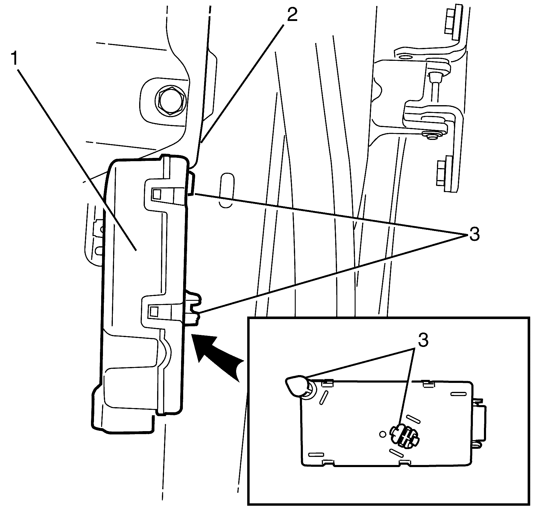
    Fig 1: Identifying Door Module Retainers
    GM1939874Courtesy of GENERAL MOTORS CORP.
  1. Position the door module (1) to the vehicle (2).
  2. IMPORTANT:

    Locate the top retainer first then press to engage the lower retainer.

  3. Install the door module (1) and push to secure the retainers (3).
  4. Fig 2: Identifying Door Module Electrical Connector
    GM1939871Courtesy of GENERAL MOTORS CORP.
  5. Connect the door module electrical connector (1).
  6. Install the hinge pillar trim panel. Refer to Body Hinge Pillar Trim Panel Replacement .
  7. Install the knee bolster. Refer to Knee Bolster Replacement .
  8. Install the closeout/insulator panel. Refer to Instrument Panel Insulator Panel Replacement - Right Side .
  9. Connect the negative battery cable. Refer to Battery Negative Cable Disconnection and Connection (Primary) , Battery Negative Cable Disconnection and Connection (Auxiliary) .
  10. If re-programming is required. Refer to Control Module References .