LEMON Manuals: Even more car manuals for everyone: 1960-2025
Home >> Chevrolet >> 2011 >> Colorado 2WD L4-2.9L >> Repair and Diagnosis >> Powertrain Management >> Ignition System >> Relays and Modules - Ignition System >> Ignition Control Module >> Locations
April 5, 2026: LEMON Manuals is launched! Read the announcement.

Ignition Control Module: Locations




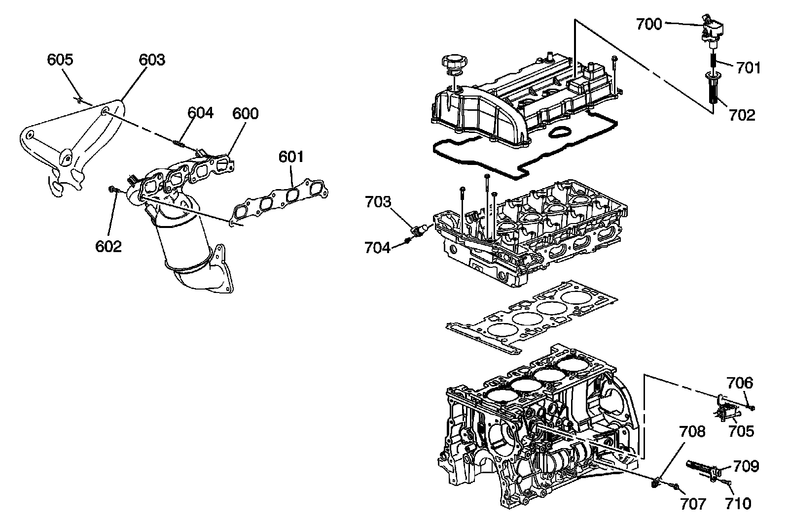
Disassembled Views

Engine Exhaust And Components




600 - Exhaust Manifold
601 - Exhaust Manifold Gasket
602 - Exhaust Manifold Bolt
603 - Exhaust Manifold Heat Shield
604 - Exhaust Manifold Heat Shield Stud
605 - Exhaust Manifold Heat Shield Nut
700 - Ignition Control Module
701 - Ignition Control Module Spring
702 - Ignition Control Module Boot
703 - Exhaust Camshaft Position Sensor
704 - Exhaust Camshaft Position Sensor Bolt
705 - Evap Emission Canister Purge Solenoid
706 - Evap Emission Canister Purge Solenoid Bolt
707 - Knock Sensor Bolt
708 - Knock Sensor
709 - Crankshaft Position Sensor
710 - Crankshaft Position Sensor Bolt