LEMON Manuals: Even more car manuals for everyone: 1960-2025
Home >> Chevrolet >> 2011 >> Corvette V8-6.2L >> Repair and Diagnosis >> Engine, Cooling and Exhaust >> Engine >> Specifications >> Thread Repair Specifications
April 5, 2026: LEMON Manuals is launched! Read the announcement.

Thread Repair Specifications




Thread Repair Specifications (6.2L LS3/7.0L)

Engine Block - Front/Rear Views









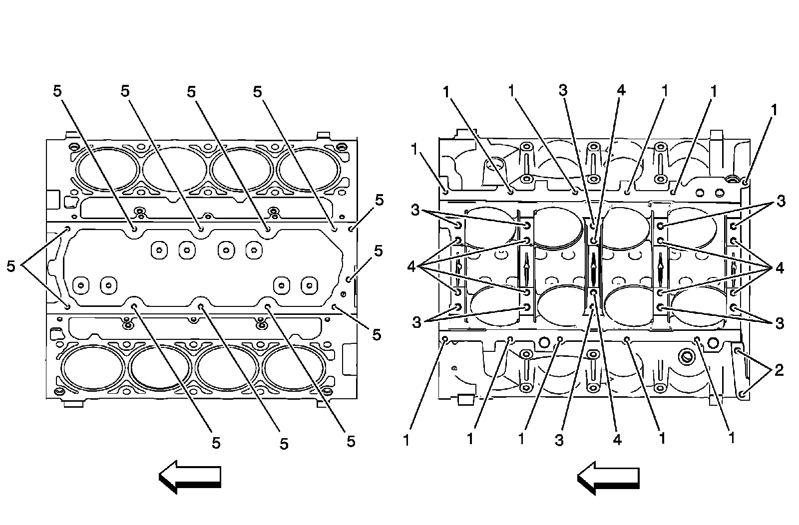
Engine Block - Left/Right Side Views









Engine Block - Top/Bottom Views









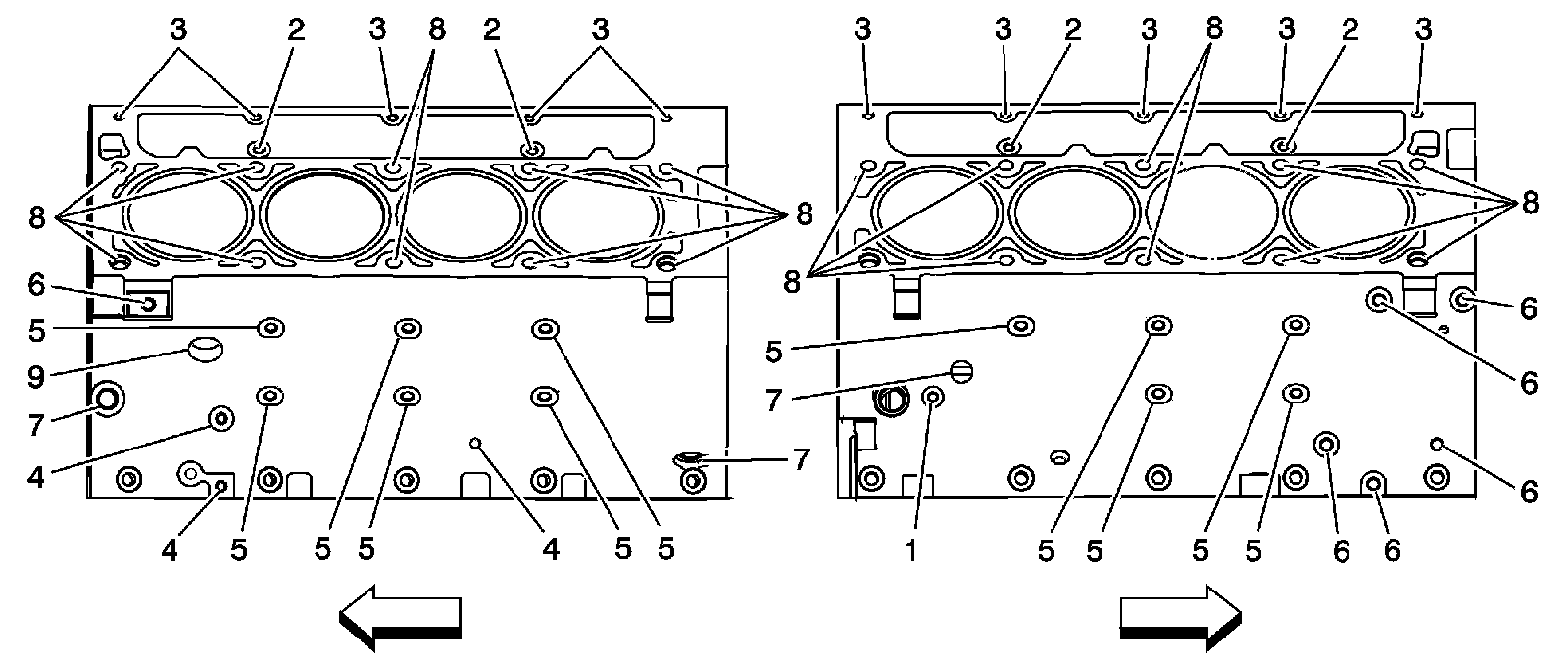
Cylinder Head - Top/End Views









Cylinder Head - Intake/Exhaust Side Views