LEMON Manuals: Even more car manuals for everyone: 1960-2025
Home >> Chevrolet >> 2011 >> Volt L4-1.4L Elect >> Repair and Diagnosis >> Diagrams >> Connector Views >> Battery Bus Module, Hybrid Drive >> Hybrid/EV Battery Interface Control Module 4 X1
April 5, 2026: LEMON Manuals is launched! Read the announcement.

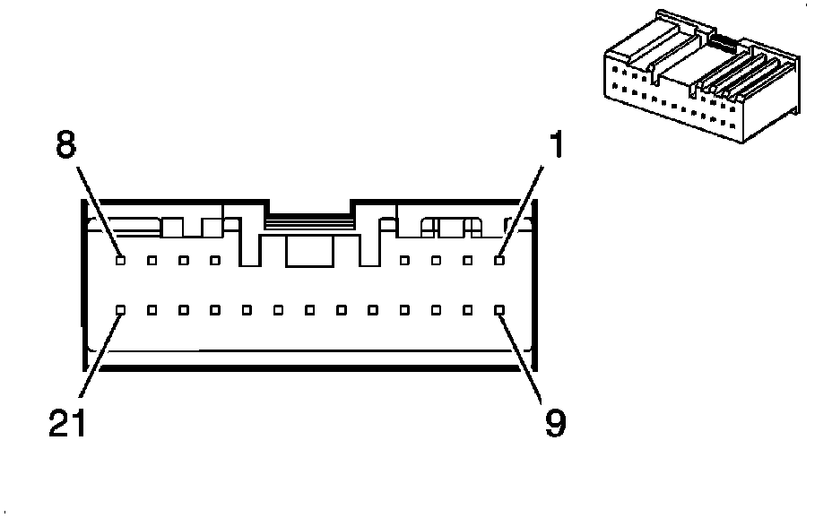
Hybrid/EV Battery Interface Control Module 4 X1




Component Connector End Views

K112D Hybrid/EV Battery Interface Control Module 4 X1