LEMON Manuals: Even more car manuals for everyone: 1960-2025
Home >> Chevrolet >> 2011 >> Volt L4-1.4L Elect >> Repair and Diagnosis >> Powertrain Management >> Computers and Control Systems >> Air Flow Meter/Sensor >> Diagrams
April 5, 2026: LEMON Manuals is launched! Read the announcement.

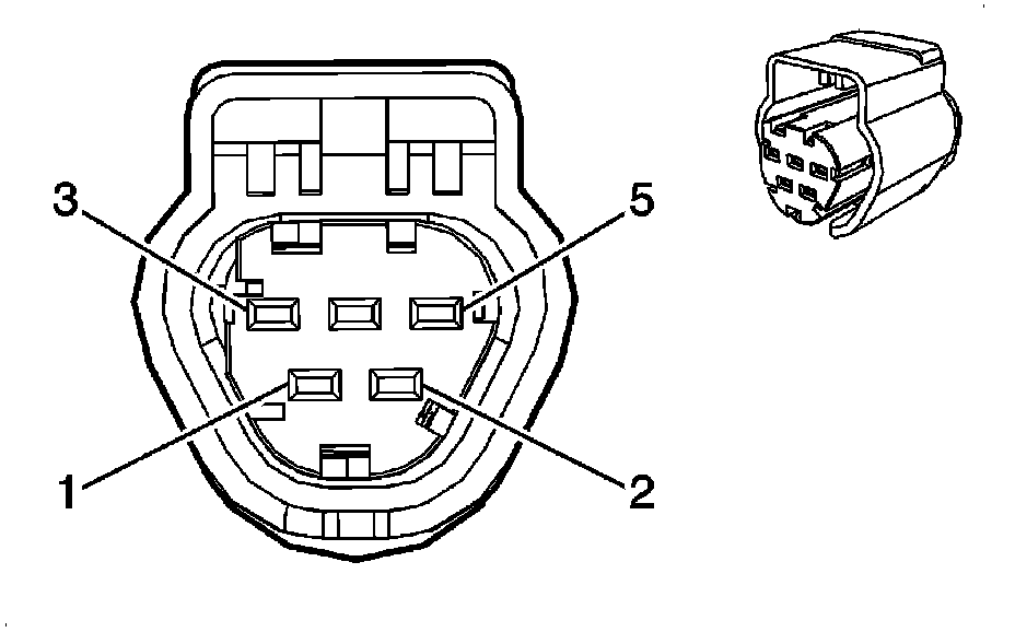
Air Flow Meter/Sensor: Diagrams




Component Connector End Views

B75B Mass Airflow/Intake Air Temperature Sensor