LEMON Manuals: Even more car manuals for everyone: 1960-2025
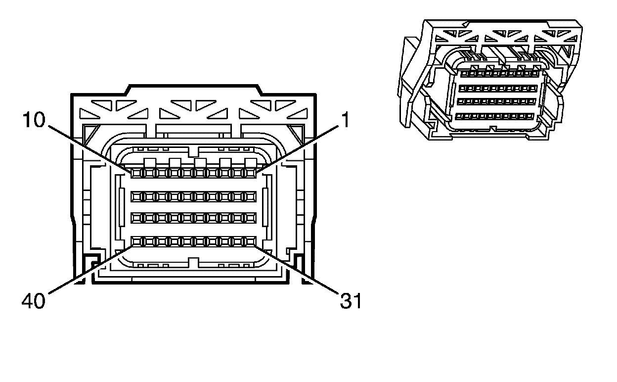
Home >> Chevrolet >> 2012 >> Caprice PPV V6-3.6L >> Repair and Diagnosis >> Diagrams >> Connector Views >> Air Bag Control Module >> Inflatable Restraint Sensing and Diagnostic Module X2
April 5, 2026: LEMON Manuals is launched! Read the announcement.

Inflatable Restraint Sensing and Diagnostic Module X2




Component Connector End Views

K36 Inflatable Restraint Sensing and Diagnostic Module X2