LEMON Manuals: Even more car manuals for everyone: 1960-2025
Home >> Chevrolet >> 2012 >> Corvette Base, 2D Convertible, Automatic Trans >> Repair and Diagnosis >> Electrical >> Component Locations >> Electrical Component Locator - Powertrain Component Views >> Powertrain Component Views >> Engine Compartment Electrical Components
April 5, 2026: LEMON Manuals is launched! Read the announcement.

Engine Compartment Electrical Components

Engine Compartment Electrical Components

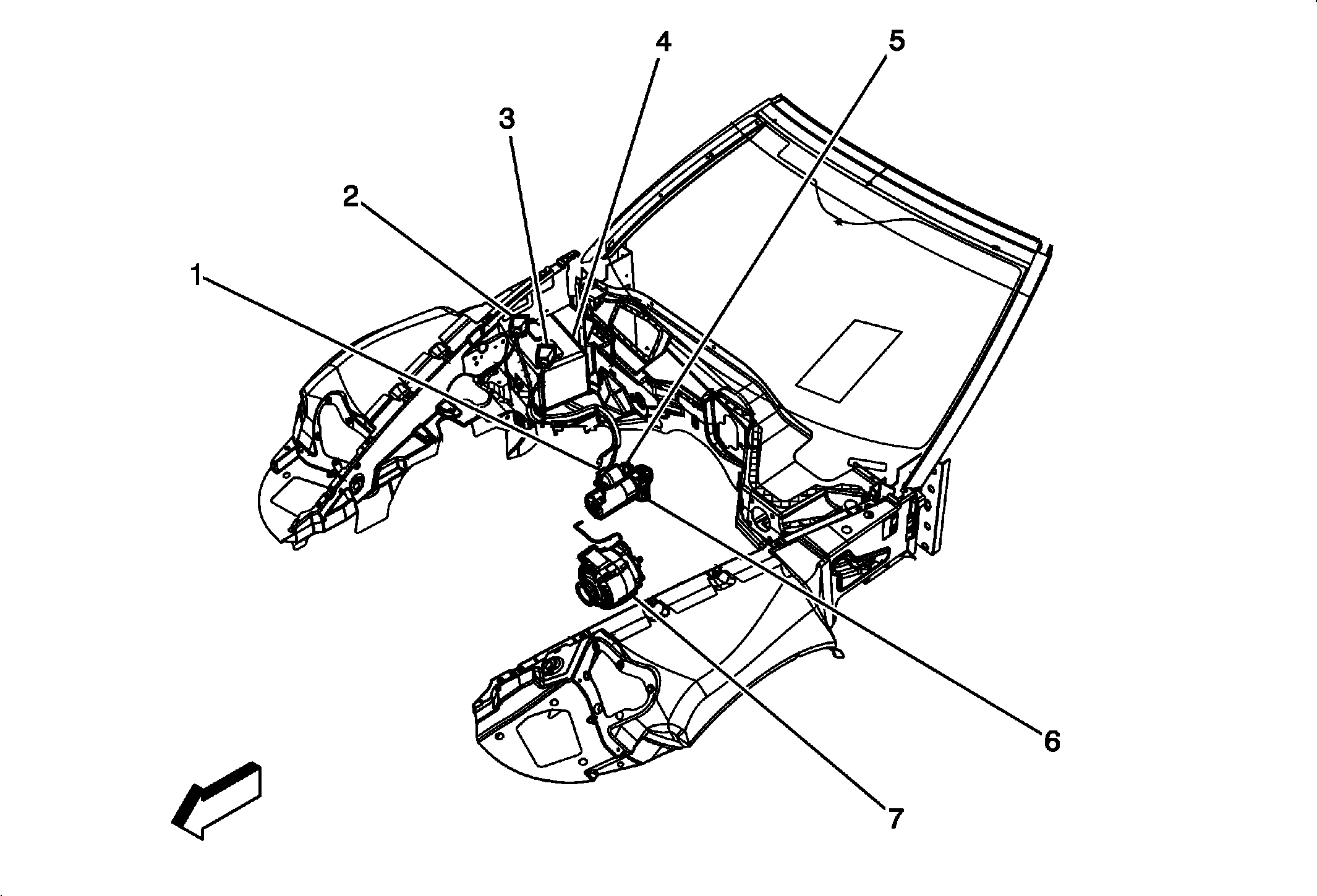
Component Name Callout
G106 1
Battery Positive Cable 2
Battery Negative Cable 3
Battery (LS3 without Z52) 4
Starter Solenoid 5
Starter Motor 6
Generator (LS3 or LS7) 7
Fig 1: Engine Compartment Electrical Components
GM2528923Courtesy of GENERAL MOTORS COMPANY