LEMON Manuals: Even more car manuals for everyone: 1960-2025
Home >> Chevrolet >> 2012 >> Corvette V8-6.2L SC >> Repair and Diagnosis >> Diagrams >> Connector Views >> Fuel Pump Relay >> Fuel Pump Flow Control Module Relay X2
April 5, 2026: LEMON Manuals is launched! Read the announcement.

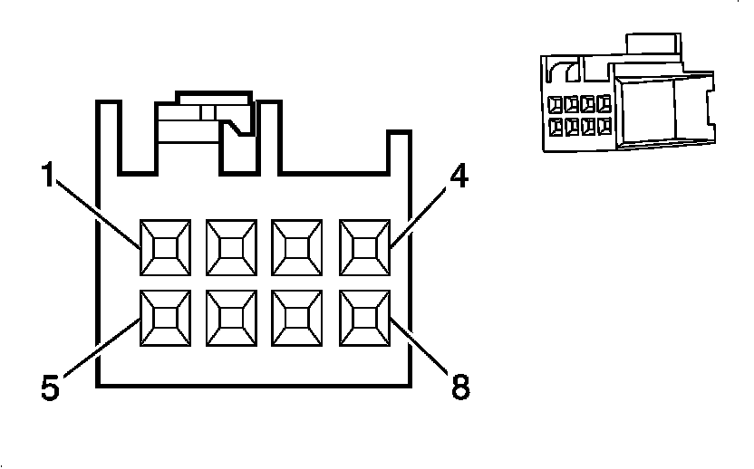
Fuel Pump Flow Control Module Relay X2




Component Connector End Views

Fuel Pump Flow Control Module Relay X2 (LS9)