LEMON Manuals: Even more car manuals for everyone: 1960-2025
Home >> Chevrolet >> 2012 >> Express 2500 V8-4.8L >> Repair and Diagnosis >> Diagrams >> Connector Views >> Engine Control Module >> Engine Control Module (ECM) X1
April 5, 2026: LEMON Manuals is launched! Read the announcement.

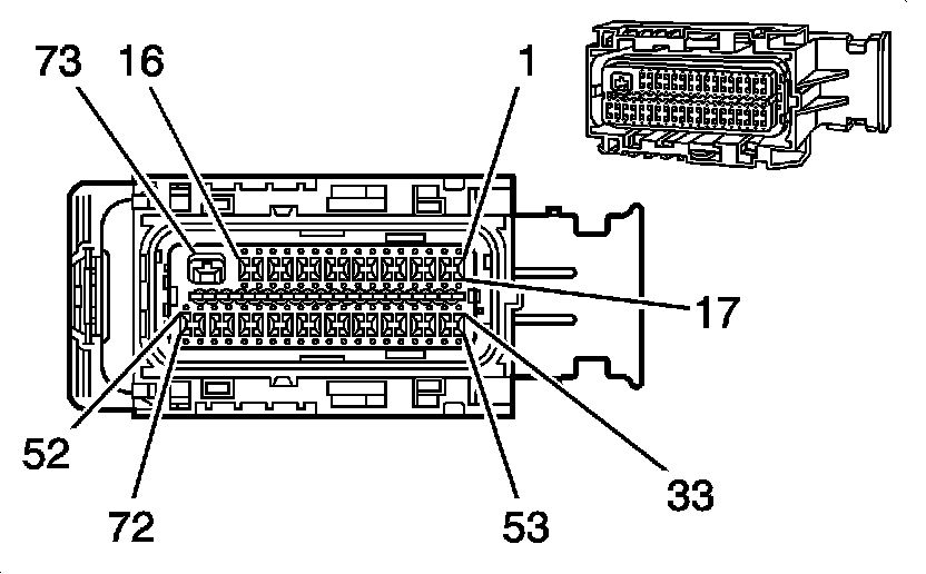
Engine Control Module (ECM) X1




Component Connector End Views

Engine Control Module (ECM) X1 (LC8, LMF, L20, or L96)