LEMON Manuals: Even more car manuals for everyone: 1960-2025
Home >> Chevrolet >> 2012 >> Impala V6-3.6L >> Repair and Diagnosis >> Diagrams >> Connector Views >> Connector End Views By Name >> Fuel Pump Flow Control Module
April 5, 2026: LEMON Manuals is launched! Read the announcement.

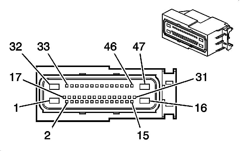
Fuel Pump Flow Control Module




Component Connector End Views

Fuel Pump Flow Control Module