LEMON Manuals: Even more car manuals for everyone: 1960-2025
Home >> Chevrolet >> 2012 >> Impala V6-3.6L >> Repair and Diagnosis >> Heating and Air Conditioning >> Control Module HVAC >> Locations >> Component Locations >> HVAC Control Module
April 5, 2026: LEMON Manuals is launched! Read the announcement.

HVAC Control Module




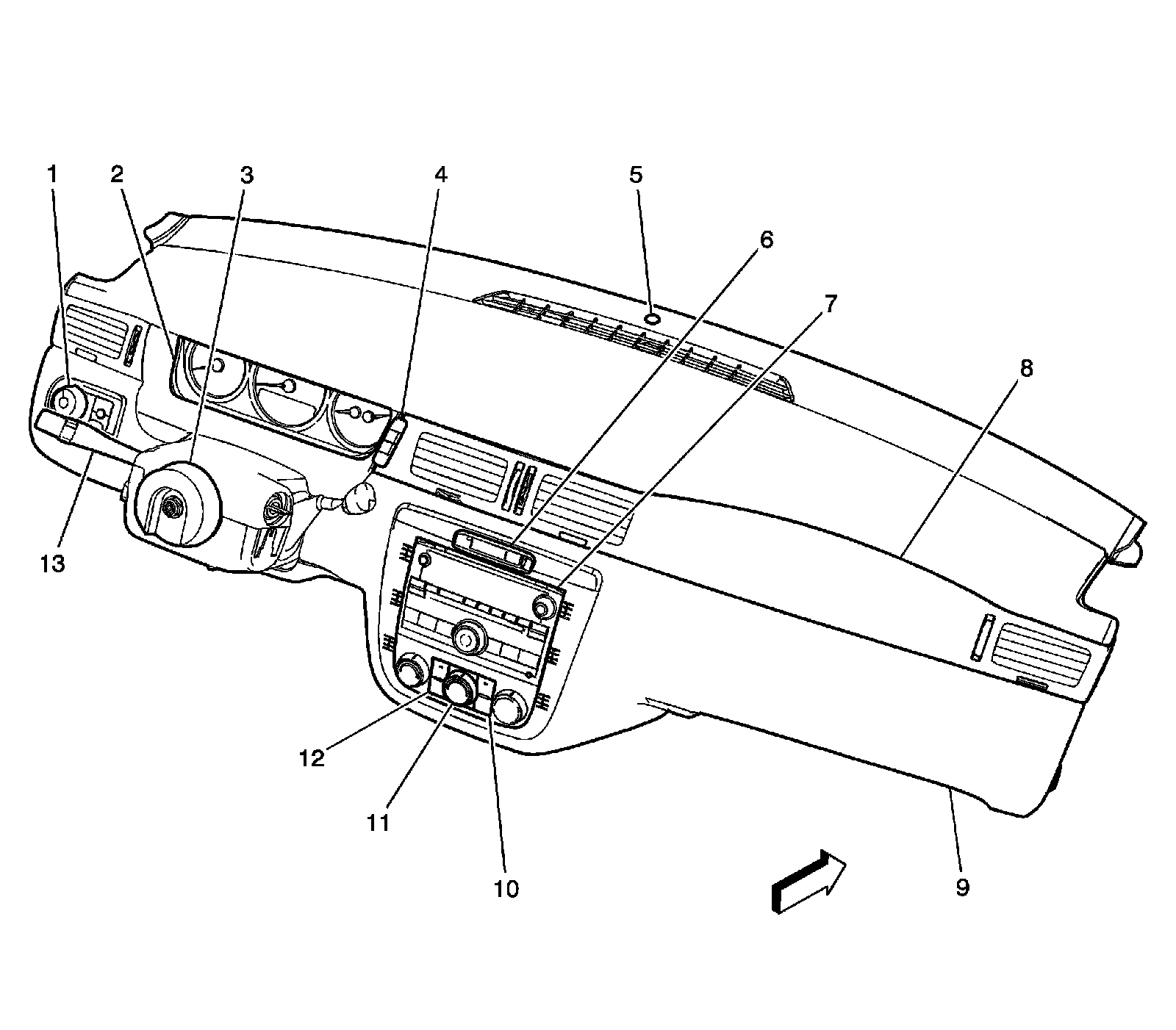
Instrument Panel/Center Console Component Views

Instrument Panel Components





1 - Headlamp Switch

2 - Instrument Panel Cluster (IPC)

3 - Inflatable Restraint Steering Wheel Module Coil

4 - Driver Information Center (DIC) Switch

5 - Ambient Light Sensor

6 - Inflatable Restraint I/P Module Indicator

7 - Radio

8 - Inflatable Restraint I/P Module

9 - Instrument Panel Trim Panel

10 - Heated Seat Switch- Passenger (KA1)

11 - HVAC Control Module

12 - Heated Seat Switch- Driver (KA1)

13 - Turn Signal/Multifunction Switch