LEMON Manuals: Even more car manuals for everyone: 1960-2025
Home >> Chevrolet >> 2012 >> Sonic L4-1.8L >> Repair and Diagnosis >> Diagrams >> Connector Views >> Steering Control Module >> Power Steering Control Module X2
April 5, 2026: LEMON Manuals is launched! Read the announcement.

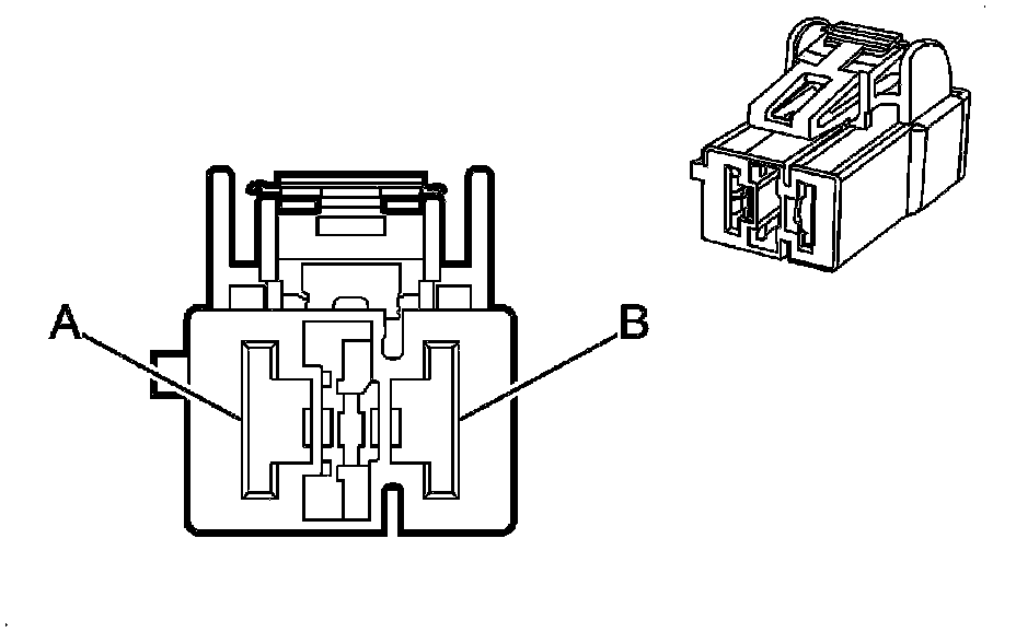
Power Steering Control Module X2




Component Connector End Views

K43 Power Steering Control Module X2