LEMON Manuals: Even more car manuals for everyone: 1960-2025
Home >> Chevrolet >> 2012 >> Volt L4-1.4L Elect >> Repair and Diagnosis >> Diagrams >> Connector Views >> Battery >> Battery Control Module >> Battery Energy Control Module X2
April 5, 2026: LEMON Manuals is launched! Read the announcement.

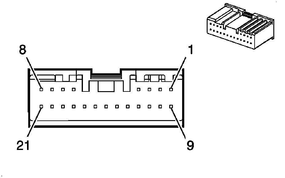
Battery Energy Control Module X2




Component Connector End Views

K16 Battery Energy Control Module X2