LEMON Manuals: Even more car manuals for everyone: 1960-2025
Home >> Chevrolet >> 2012 >> Volt L4-1.4L Elect >> Repair and Diagnosis >> Diagrams >> Connector Views >> Electronic Brake Control Module
April 5, 2026: LEMON Manuals is launched! Read the announcement.

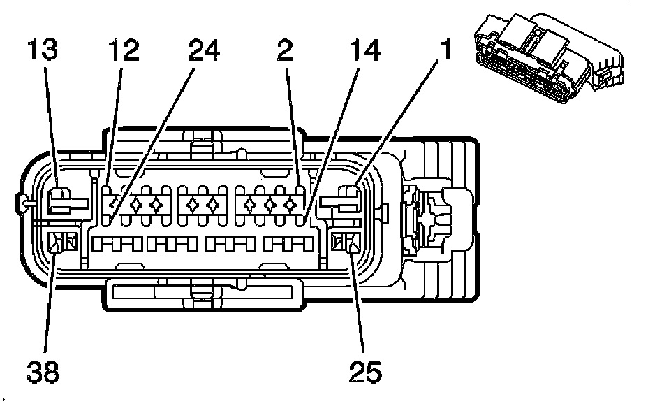
Electronic Brake Control Module




Component Connector End Views

K17 Electronic Brake Control Module