LEMON Manuals: Even more car manuals for everyone: 1960-2025
Home >> Chevrolet >> 2013 >> Express 2500 V8-6.6L DSL Turbo >> Repair and Diagnosis >> Powertrain Management >> Emission Control Systems >> Relays and Modules - Emission Control Systems >> Diesel Emissions Fluid Control Module >> Diagrams
April 5, 2026: LEMON Manuals is launched! Read the announcement.

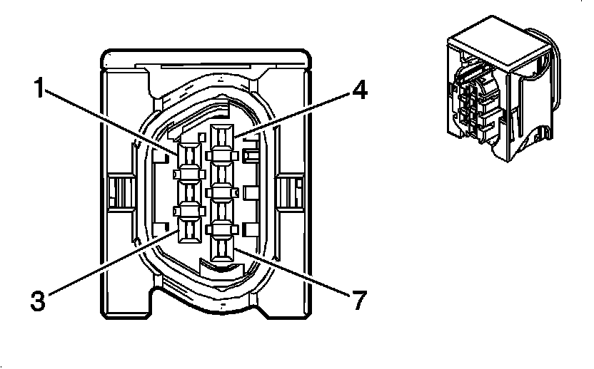
Diesel Emissions Fluid Control Module: Diagrams




Component Connector End Views

Reductant Sensor Module (LGH)