LEMON Manuals: Even more car manuals for everyone: 1960-2025
Home >> Chevrolet >> 2013 >> Express 2500 V8-6.6L DSL Turbo >> Repair and Diagnosis >> Powertrain Management >> Glow Plug System >> Relays and Modules - Glow Plug System >> Glow Plug Control Module >> Diagrams >> Glow Plug Control Module (GPCM) X2
April 5, 2026: LEMON Manuals is launched! Read the announcement.

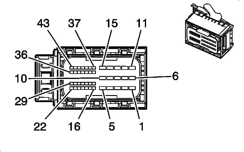
Glow Plug Control Module (GPCM) X2




Component Connector End Views

Glow Plug Control Module (GPCM) X2 (LGH)