LEMON Manuals: Even more car manuals for everyone: 1960-2025
Home >> Chevrolet >> 2013 >> Silverado 1500 XFE >> Repair and Diagnosis >> Quick Lookups >> Wiring Diagrams >> Wiring Systems And Power Management - Component Connector End Views - Drive Motor Generator Battery Control Module To Fuel Pump Disable Module >> Component Connector End Views >> Electronic Compass Module (YE9)
April 5, 2026: LEMON Manuals is launched! Read the announcement.

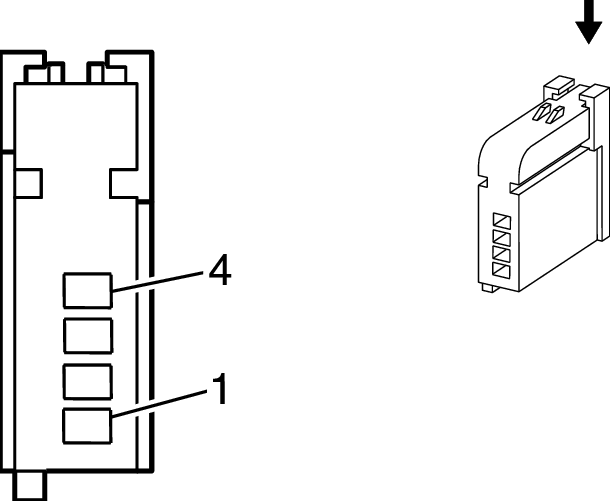
Electronic Compass Module (YE9)

GM1865635Courtesy of GENERAL MOTORS COMPANY
Connector Part Information
  • Harness Type: Headliner
  • OEM Connector: 13541539
  • Service Connector: 19179273
  • Description: 4-Way F AIT II Series (BK)
Terminal Part Information
  • Terminated Lead: 13575867
  • Release Tool: J-38125-215A
  • Diagnostic Test Probe: J-35616-64B (L-BU)
  • Terminal/Tray: SAIT-A03T-M064/14
  • Core/Insulation Crimp: P/P
Electronic Compass Module (YE9)

Pin Wire Circuit Function
1 0.35 PK 1639 Ignition Voltage
2 0.35 BK 1050 Ground
3 0.35 D-GN 6134 Linear Interconnect Network Bus
4 - - Not Used