LEMON Manuals: Even more car manuals for everyone: 1960-2025
Home >> Chevrolet >> 2013 >> Silverado 1500 XFE >> Repair and Diagnosis >> Quick Lookups >> Wiring Diagrams >> Wiring Systems And Power Management - Component Connector End Views - Drive Motor Generator Battery Control Module To Fuel Pump Disable Module >> Component Connector End Views >> Engine Control Module (ECM) X3 (HP2)
April 5, 2026: LEMON Manuals is launched! Read the announcement.

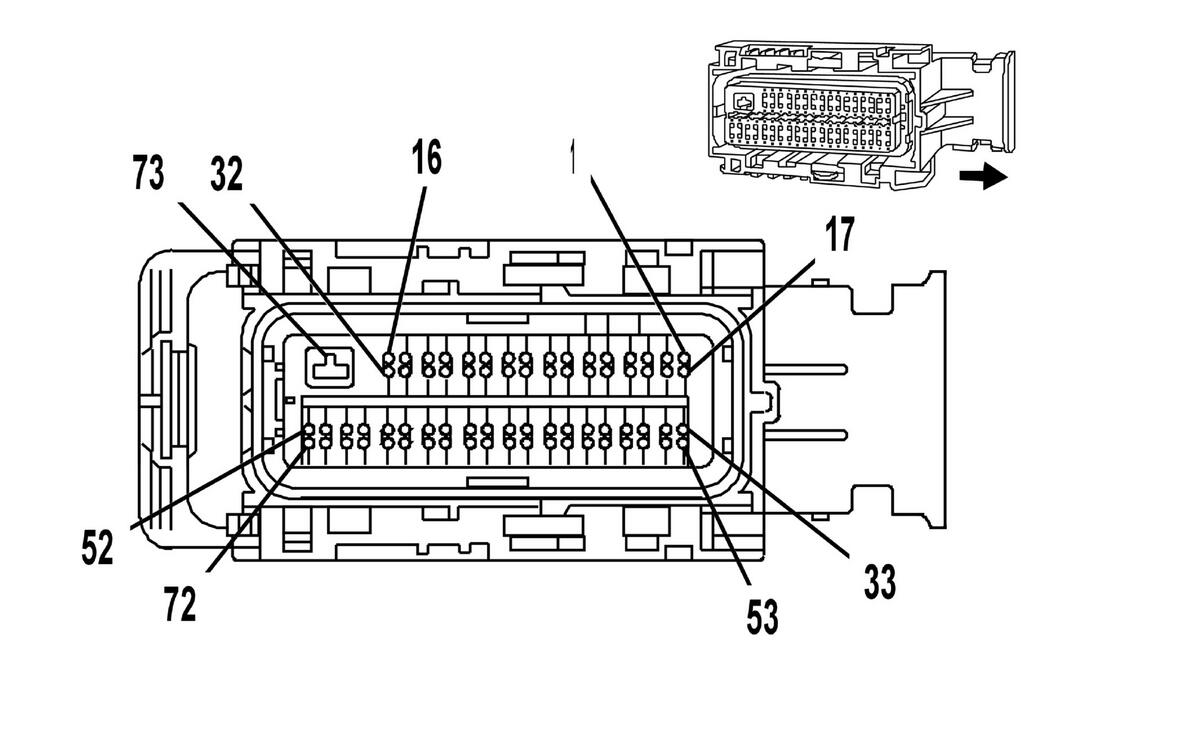
Engine Control Module (ECM) X3 (HP2)

GM1590596Courtesy of GENERAL MOTORS COMPANY
Connector Part Information
  • Harness: Engine
  • OEM: 15497996
  • Service: 88988372
  • Description: 73-Way F 0.64 2.8 Series, Sealed (GY Encased in BK)
Terminal Part Information
  • Pins: 4, 6-13, 16, 22-24, 30-32, 35-39, 41, 43, 48-51, 58, 65-66, 68, 70-71
  • Terminated Lead: 13575575
  • Release Tool: J-38125-213
  • Diagnostic Test Probe: J-35616-64B (L-BU)
  • Terminal/Tray: 33467-0005/23
  • Core/Insulation Crimp: J/J
  • Pins: 5, 20, 33, 44-46, 53-54, 57, 59
  • Terminated Lead: 13575811
  • Release Tool: J-38125-213
  • Diagnostic Test Probe: J-35616-64B (L-BU)
  • Terminal/Tray: 33467-0003/23
  • Core/Insulation Crimp: H/H
  • Pin: 73
  • Terminated Lead: 13579751
  • Release Tool: J-38125-12A
  • Diagnostic Test Probe: J-35616-35 (VT)
  • Terminal/Tray: 1326030-8/17
  • Core/Insulation Crimp: 4/D
Engine Control Module (ECM) X3 (HP2)

Pin Wire Circuit Function
1-2 - - Not Used
3 0.5 TN 1667 HO2S Low Signal - Bank 2 Sensor 1
4 0.5 PU 1666 HO2S High Signal - Bank 2 Sensor 1
5 0.5 PU 1670 HO2S High Signal - Bank 2 Sensor 2
6 0.5 TN 1671 HO2S Low Signal - Bank 2 Sensor 2
7 - - Not Used
8 0.5 D-BU 941 Low Temperature Cooling Pump Motor Ground
9 - - Not Used
10 0.35 GY 5493 Valve Lifter Oil Manifold (VLOM) Assembly Cylinder 6 Shutoff Solenoid
11 0.35 D-BU 5491 Valve Lifter Oil Manifold (VLOM) Assembly Cylinder 1 Shutoff Solenoid
12-14 - - Not Used
15 0.5 L-GN 3212 HO2S Heater Low Control - Bank 2 Sensor 1
16-20 - - Not Used
21 0.35 TN 5514 Low Reference
22 0.5 OG/BK 469 Low Reference
23 0.5 OG/BK 469 Low Reference
24-32 - - Not Used
33 0.5 L-BU 6106 PTLAN -
34 - - Not Used
35 0.5 TN 2761 Low Reference
36 0.5 TN 955 Low Reference
37 0.35 GY 2700 5-Volt Reference 1
38 0.5 GY 2704 5-Volt Reference
39 0.5 GY 2704 5-Volt Reference 1
40-46 - - Not Used
47 0.5 TN 2501 High Speed GMLAN Serial Data Bus (-)
48 0.5 D-GN/WH 428 EVAP Canister Purge Solenoid Control
49 0.35 D-BU 473 Low Speed Cooling Fan Relay Control
50 0.5 OG/WH 3223 HO2S Heater Low Control - Bank 2 Sensor 2
51 0.5 TN 2501 High Speed GMLAN Serial Data Bus (-)
52 0.5 TN 2501 High Speed GMLAN Serial Data Bus (-)
53 0.5 D-BU 6105 PTLAN +
54 - - Not Used
55 0.5 YE 410 Engine Coolant Temperature (ECT) Sensor Signal
56 0.5 YE 954 5-Volt Reference
57 0.35 OG/BK 380 A/C Refrigerant Pressure Sensor Signal
58 0.5 L-GN 432 Barometric Pressure Sensor Signal
59 0.5 L-GN 432 Manifold Absolute Pressure (MAP) Sensor Signal
60-65 - - Not Used
66 0.35 OG/BK 6399 Vehicle Speed Signal (except NQH)
0.5 PU/WH 821 Vehicle Speed Sensor (VSS) High Signal (NQH)
67 0.5 L-GN/BK 822 Vehicle Speed Sensor (VSS) Low Signal (NQH)
68 0.35 L-GN 5492 Valve Lifter Oil Manifold (VLOM) Assembly Cylinder 7 Shutoff Solenoid
69 0.35 OG 5494 Valve Lifter Oil Manifold (VLOM) Assembly Cylinder 4 Shutoff Solenoid
70 0.5 TN/BK 2500 High Speed GMLAN Serial Data Bus (+)
71 0.5 TN/BK 2500 High Speed GMLAN Serial Data Bus (+)
72 0.5 TN/BK 2500 High Speed GMLAN Serial Data Bus (+)
73 3 BK/WH 451 Ground