LEMON Manuals: Even more car manuals for everyone: 1960-2025
Home >> Chevrolet >> 2013 >> Silverado 1500 XFE >> Repair and Diagnosis >> Quick Lookups >> Wiring Diagrams >> Wiring Systems And Power Management - Component Connector End Views - Drive Motor Generator Battery Control Module To Fuel Pump Disable Module >> Component Connector End Views >> Engine Coolant Level Switch (Diesel)
April 5, 2026: LEMON Manuals is launched! Read the announcement.

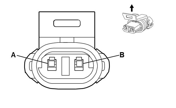
Engine Coolant Level Switch (Diesel)

GM655783Courtesy of GENERAL MOTORS COMPANY
Connector Part Information
  • Harness: Engine Chassis
  • OEM: 15324243
  • Service: 15306302
  • Description: 2-Way F Metri-Pack Series Sealed (GY)
Terminal Part Information
  • Pin: A
  • Terminated Lead: 13575419
  • Release Tool: J-38125-12A
  • Diagnostic Test Probe: J-35616-14 (GN)
  • Terminal/Tray: 12048074/2
  • Core/Insulation Crimp: E/1
  • Pin: B
  • Terminated Lead: Pending
  • Release Tool: J-38125-12A
  • Diagnostic Test Probe: J-35616-14 (GN)
  • Terminal/Tray: 12160223/3
  • Core/Insulation Crimp: E/1
Engine Coolant Level Switch (Diesel)

Pin Wire Circuit Function
A 0.35 L-GN 1478 Coolant Level Switch Signal
B 0.8 BK/WH 451 Ground